|
Hoofdstuk 2 Uiterlijke kenmerken | |
|
Afdeling 1 Inplanting, afmeting en materiaalgebruik Artikel 10 Inplanting, bouwhoogte en bouwdiepte
Het basisvolume van elk gebouw, namelijk de inplanting ten opzichte van de openbare ruimte en de naburige percelen, de bouwhoogte ten opzichte van het maaiveld en de bouwdiepte vanaf de voorgevel is zeer verschillend en wordt bepaald door de ruimtelijke context van het gebouw. Door te veel te bouwen (te hoog, te diep) in verhouding tot de terreinoppervlakte van het perceel en de gevels van het gebouw komt de beschikbaarheid van licht, lucht en open ruimte voor de gebruikers in het gedrang. Vanuit het principe van de harmonie met het referentiebeeld kan er op een perceel even diep en hoog gebouwd worden als in de omgeving. Het basisvolume van een gebouw wordt dus bepaald door het referentiebeeld en versterkt mee het straatbeeld of het bouwblok. Door even hoog en diep te bouwen als de percelen in de omgeving garandeert de bouwcode dat de ontwikkelingsmogelijkheden voor iedereen vergelijkbaar zijn en dat de hinder voor de omliggende percelen, voor bezonning en privacy, beperkt blijft. Men kan echter niet verwijzen naar naburige percelen die duidelijk niet gebouwd zijn volgens deze principes van harmonie, of die zonder bouwvergunning opgetrokken zijn. Artikel 11 Afwerken van gevels en materiaalgebruik
Het wijzigen van het buitenschrijnwerk, de kleur en het materiaal van een gevel van een gebouw heeft een grote impact op de uiteindelijke beeldwaarde van het gebouw en de kwaliteit van de gevelafwerking. Enkele aanvullende voorwaarden voor het aanbrengen van gevelafwerking zijn opgenomen, om tot een duurzaam, kwaliteitsvol resultaat te komen. De wijzigingen mogen het oorspronkelijke bedoelde en waardevolle karakter niet teniet doen. Het aanbrengen van gevelafwerkingen wordt verboden voor bepaalde typen gevels, waarbij de architectuur van het pand hierdoor ernstig aangetast zou worden. Zo moet een gepleisterde gevel gepleisterd blijven en mag een gevel niet geschilderd, gekaleid of gepleisterd worden indien de gevel op een dergelijke manier afgewerkt of gedecoreerd is, dat de nieuwe afwerking deze decoratie-elementen doet verdwijnen. Indien het gaat om gebouwen opgenomen in de inventaris van het bouwkundig erfgoed of gebouwen in CHE-gebied dient men nog omzichtiger met de afwerking van de gevel en buitenschrijnwerk om te springen. Voor reconstructies van historische situaties gelden uitzonderingen, om zo het historische beeld te kunnen herstellen van een gebouw.
De gebruikte materialen, de textuur en de kleuren doen steeds een duidelijke uitspraak over de architectuur van een gebouw en bepalen in belangrijke mate de beeldkwaliteit van het gebouw en de samenhang van het gebouw met zijn omgeving. Naast esthetische eigenschappen heeft elk materiaal bovendien nog een aantal andere karakteristieken en eigenschappen die de bouwtechnische prestaties bepalen, de duurzaamheid van een constructie bepaalt, de veiligheid en de gezondheid mee waarborgen en de gezondheid mee determineren. De keuze van elk materiaal is dus bepalend voor de kwaliteit van elk gebouw. Omwille van duurzaamheidseisen is het belangrijk om de stedelijke opwarming te verminderen. Een van de oorzaken van deze stedelijke opwarming is het huidige materiaalgebruik voor verharding en daken. Oppervlaktes met een lage energetische reflectiefactor, wat het geval is bij zwarte materialen zoals asfalt of roofing hebben een negatieve invloed op de stedelijke opwarming. De stad raadt daarom het gebruik van dergelijke materialen af op plaatsen waar er andere alternatieven gemakkelijk voorhanden zijn. Groendaken of daken met een ballast van lichte keien zijn aan te raden. Voor gevels raadt de stad het gebruik van lichte kleuren en bij voorkeur witte kleuren aan. Antwerpen en in het bijzonder de kernstad is immers historisch een “witte” stad. Artikel 12 Levendige plint
Een levendige straat is een aangename straat om in te wonen of te wandelen. Met het oog op het creëren van levendige straten is het belangrijk dat de gebouwen in de straat een levendige plint hebben. Op het gelijkvloers van elk gebouw dient er daarom minstens één levendige functie aan de straat te grenzen die met de straat en haar gebruikers en passanten een relatie aangaat, bijvoorbeeld via een raam. Levendige ruimtes zijn ruimtes die vaak gebruikt worden door mensen en waar zij ook een tijd blijven. Voorbeelden hiervan zijn verblijfsruimtes, handelsruimtes, horecaruimtes, kantoorruimtes, werkplaatsen, ateliers, vergaderzalen, … Bergplaatsen, garages, entree- en circulatieruimtes, sanitaire ruimtes en kleedruimtes vallen hier niet onder. Straten met een overdaad aan deze “dode” functies aan de gevel hebben over het algemeen een lage beeldkwaliteit. Ze worden als onaangenaam ervaren. Bij smalle woningen (woningen smaller dan 5 meter) voorziet de bouwcode een afwijking, waardoor het mogelijk wordt om net achter de voorgevel een fietsenberging te voorzien. Deze uitzondering staat daarom niet per definitie haaks op de filosofie van “levendige plint”, maar het mag in geen geval een vrijgeleide zijn om blinde gevels te ontwerpen. Meer nog, in het ontwerp moet steeds gezocht worden naar een contact tussen de straat en de woning. Dit kan door bijvoorbeeld de berging te combineren met een andere functie of door voldoende beglazing of openheid te voorzien tussen de verblijfsruimte, de fietsenberging en de straat.
Voor de belevingswaarde van de straat is het belangrijk dat blinde vlekken in het straatbeeld zoveel mogelijk worden vermeden en dit zowel ’s nachts als overdag. Een handelszaak kan hier een grote bijdrage bij leveren. Daarom is het belangrijk dat winkels een etalage of gebruiksruimte hebben naar de straat. Dat is overigens ook belangrijk vanuit economisch standpunt. Het mag ook niet de bedoeling zijn dat ramen afgeplakt worden of er winkelrekken voor worden geplaatst zodat men alsnog vanaf het openbaar domein de handelszaak niet kan binnenkijken. Om te verhinderen dat deze zaken ’s nachts blinde vlekken vormen is het van even groot belang dat de rolluiken openmazig zijn, waardoor de ruimte achter het rolluik ook na sluitingstijd zichtbaar is. De mazen van deze rolluiken dienen daarom voldoende groot en over het volledige rolluik gesitueerd te zijn.
Autobergplaatsen zijn slechts toegelaten als de gevel een minimale breedte heeft van 8 meter. Dan mag er een poort in de gevel geplaatst worden. Naast de poort is er immers nog voldoende ruimte aan de gevel voor het inpassen van een levendige functie. Voor reeds bestaande toegangs-/garagepoorten in gevels met een breedte van minder dan 8 meter is het wenselijk dat deze bij nieuwbouw verdwijnen. Zij leggen immers een dubbele claim op het openbaar domein, door enerzijds het verdwijnen van een parkeermogelijkheid langs de straatzijde, anderzijds de verminderde levendigheid van de straatzijde.
Afdeling 2 In- en uitsprongen Artikel 13 Ondergrondse en bovengrondse uitsprongen
Ondergrondse uitsprongen onder de openbare ruimte kunnen niet worden toegelaten. Deze plaats wordt gereserveerd voor riolering en leidingen van andere nutsvoorzieningen. Daarnaast kunnen deze constructies de stabiliteit van de weg in het gedrang brengen. Ze zouden ook een vertraging kunnen opleveren bij werken aan de openbare ruimte. Tot slot zou er onduidelijkheid over eigenaarschap en verantwoordelijkheid ontstaan. Ook dat moet vermeden worden. Om al deze redenen is het aan particulieren niet toegelaten om onder de openbare ruimte te bouwen of technische installaties aan te brengen. Dit zou zorgen voor vertragingen, dure omleidingen van riolering, verzakkingen e.d.
Ondergrondse uitsprongen onder voortuinen worden zoveel mogelijk vermeden. De voortuin is een bouwvrije zone waar verhardingen en constructies niet wenselijk zijn omwille van de beeldkwaliteit en de infiltratie van regenwater.
Uitsprongen kunnen een impact hebben op de rechtlijnigheid van het straatbeeld. Ze moeten daarom in harmonie met het straatbeeld ingepast worden. Uitsprongen mogen de lichttoetreding tot het buurperceel niet hinderen. Daarom dient er voldoende afstand gehouden te worden ten opzichte van het buurperceel.
Uitsprongen zijn niet bedoeld om het bouwvolume wezenlijk te vergroten. Daarom worden de uitsprongen in grootte beperkt.
Alleenstaande gesloten constructies zijn niet wenselijk. Ze vormen namelijk donkere hoeken die sluikstort, vandalisme en criminaliteit aantrekken. Deze situaties moeten vermeden worden.
Uitsprongen aan de voorgevel worden in deze bouwcode streng gereglementeerd (zie §3, §4, §5). Gesloten horecaconstructies vormen hierop een uitzondering maar ook deze constructies kunnen niet zomaar overal toegestaan worden. De openbare ruimte is beperkt in oppervlakte en daar moeten we dan ook zorgvuldig mee omgaan. Daarom situeren deze constructies zich bij voorkeur op pleinen of aan grote onbebouwde ruimten, zodat er voldoende publieke ruimte overblijft. Te allen tijden moet de doorstroming (auto’s, fietsen en voetgangers) van het openbaar domein gegarandeerd blijven. Een voetgangersvrije circulatieruimte van 1,80 meter, conform het draaiboek openbaar domein van de stad Antwerpen, geldt hierbij als minimum. Uiteraard moet er ook steeds rekening worden gehouden met de vereisten van de hulpdiensten inzake bereikbaarheid en doorstroming. De bouwdiepte wordt beperkt tot 4 meter. Deze diepte garandeert een functionele binnenruimte, zonder dat dit het openbaar domein te veel hypothekeert. Afwijkingen op deze diepte zijn uitzonderlijk mogelijk. Zo is het denkbaar dat bij constructies met een erg grote perceelsbreedte (meer dan 20 meter) een grotere bouwdiepte wordt toegestaan omdat deze constructie de plaats heeft om op een vloeiende manier in en uit het gevelvlak te komen.
De vergunningsduur van een gesloten constructie wordt beperkt tot 9 jaar (zie 6°). Omwille van deze beperkte vergunningsduur maar nog meer met het oog op een heraanleg aan de bestrating en/of werken aan nutsleidingen, is het noodzakelijk dat deze constructies op een relatief eenvoudige manier afbreekbaar zijn zodat de openbare nutsvoorzieningen steeds bereikbaar zijn. Funderingen in het openbaar domein zijn dan ook verboden. Omwille van het “tijdelijke” karakter van de constructie is het eveneens niet wenselijk dat de gevel van het “permanent” vergunde gebouw waartegen deze constructie wordt aangebouwd onherroepelijk wordt aangetast doordat deze wordt opengebroken door constructieve wijzigingen. Aanpassingen aan het schrijnwerk moeten ook steeds afgewogen worden tegenover de erfgoedwaarde.
Conform 2° is deze constructie steeds ondergeschikt aan het hoofdgebouw. De bouwhoogte ervan wordt daarom strikt beperkt tot één bouwlaag met een beperkt bouwhoogte van 5 meter.
Gesloten horeca-terrassen vormen een wezenlijk onderdeel van de stad als levend en bruisend geheel. Het gedoogbeleid van de voorbije decennia steekt immers vaak schril af ten opzichte van het gevoerde handhavingsbeleid. Het is de wens regulerend op te treden waar het moet en te promoten waar het kan. Een onzeker investeringsklimaat leidt immers al te vaak tot verloedering en achteruitgang. Rechtszekerheid en eenvormigheid aanbieden leidt tot een verfraaiing en ontwikkelingskansen voor de horeca in brede zin. De stad wenst dergelijke, vaak illegale constructies te kaderen binnen een bredere visie voor de globale omgeving waarin deze constructie zich bevindt. Deze “globale beleidsvisie” moet aantonen dat gesloten horecaconstructies complementair en versterkend werken aan het openbaar domein. Ze wordt opgemaakt per strategische kern waar dergelijke constructies in de toekomst mogelijk zijn. Het is een visie die gedragen wordt door de betrokken stakeholders (district, bedrijfseenheden stadsontwikkeling en ondernemen en stadsmarketing, horeca-uitbaters, …) en adviesraden (GECORO, HOP, welstandscommissie,…). Voor bepaalde straten en pleinen kan een specifieke regeling worden uitgewerkt met betrekking tot zonering, diepte, uitzicht, inrichting, materialen e.d. van de constructies. Deze beleidsnota wordt opgesteld op vraag van het beleid of potentiële aanvragers van zo’n constructie en goedgekeurd door het college van burgemeester en schepenen. De vergunning voor een gesloten horecaconstructie wordt beperkt in tijd. Een investerings- en bijhorende afschrijvingstermijn van maximaal 9 jaar lijkt redelijk. Na 9 jaar kan een hernieuwing van de aanvraag overwogen worden. Deze termijn komt eveneens overeen met de gangbare duur van een handelshuurovereenkomst. De vergunningsaanvraag wordt voor advies voorgelegd aan brandweer, onroerend erfgoed (indien van toepassing), monumentenzorg (indien van toepassing), mobiliteit, openbaar domein en welstandscommissie. Een gesloten horecaconstructie dient aan dezelfde regelgeving te voldoen als de rest van de horecazaak. Deze adviezen worden in rekening genomen bij de vergunningsaanvraag. Samen met de toekenning van de vergunning wordt tevens een concessieovereenkomst opgemaakt tussen de eigenaar van het pand en de stad. Bestaande horecaconstructies kunnen behouden blijven indien ze zich binnen de 2 jaar na de inwerkingtreding van deze verordening regulariseren aan bovenstaande voorwaarden. Artikel 14 Insprongen en openingen aan voorgevels
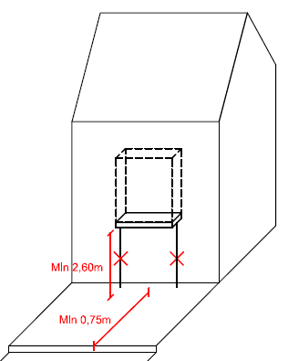
Insprongen zijn onder andere nissen, entreeruimten of overdekte buitenruimten aan de woning. Deze insprongen mogen geen nadelige effecten hebben op het gebruik van de openbare ruimte. Voor bepaalde grotere projecten kan de voorgevel van de straatwand doorlopen naar een binnengebied. Dergelijke doorgangen worden niet als insprong of als opening beschouwd.
De minimale hoogte van 2,50 meter wordt ingegeven door enerzijds de voorgeschreven minimale plafondhoogte en het wellicht lagere niveau van het maaiveld, anderzijds de vereiste isolatie- en afwerkingstechnieken van de vloerplaat en de aantrekkelijkheid van de ruimte en continuïteit tussen binnen en buiten.
Deze regel heeft tot doel de veiligheid van de voetgangers op het openbaar domein te garanderen. Nooduitgangen die enkel in geval van effectieve nood opendraaien op het openbaar domein kunnen hierop een uitzondering vormen. Bij één enkele ingang/uitgang van collectieve gebouwen (kantoren, appartementen, winkels) is een teruggetrokken deur mogelijk, zodat opendraaien naar buiten veilig kan. Schuifdeuren als enige deur voldoen niet aan de normen gesteld door de brandweer, tenzij ze voorzien zijn van een paniekbeslag. Opendraaiende luiken mogen alleen geopend en gesloten worden langs de buitenzijde. Deze handeling kan gestimuleerd worden via de vormgeving ervan. Artikel 15 In- en uitsprongen aan daken In- en uitsprongen in hellende daken dienen op ten minste 0,60 meter van de perceelsgrens te worden ingeplant. De in- en uitsprongen mogen de kroonlijst niet onderbreken, tenzij de harmonie van het straatbeeld dit toelaat. De afmetingen van de in- en uitsprongen moeten in verhouding zijn tot de oppervlakte van het dakvlak en de schuine dakvorm dient duidelijk herkenbaar te blijven. In het dakvlak van het basisvolume kunnen een aantal in- en uitsprongen gemaakt worden, zoals dakterrassen of dakkapellen. Dakuitsprongen worden in omvang beperkt om de vorm van het schuine dak niet te veel aan te tasten. Ze moeten op ten minste 0,60 meter van de perceelgrens gelegen zijn om de impact op bezonning, lichttoetreding en privacy op de aanpalende percelen te beperken. Artikel 16 Technische uitsprongen
De recente evoluties van de woonuitrusting brengen dikwijls technische installaties, zoals machinekamers van liften, klimaatbeheersingssystemen, schotelantennes en dergelijk met zich mee die zowel voor visuele hinder voor het straatbeeld als voor reuk- of lawaaihinder voor de omwonenden kunnen zorgen. De bouwcode wil er in eerste instantie voor zorgen dat dergelijke technische constructies op daken zo weinig mogelijk opvallen door ze te groeperen in een technische zone op het dak. De bouwcode beperkt tevens de afmetingen van dergelijke technische zones op het dak zodat de impact van deze zone beperkt blijft.
Klimaatbeheersingssystemen storen in het straatbeeld en kunnen veel geluids- en visuele overlast geven voor omwonenden. Dergelijke toestellen mogen daarom niet in het zicht vanaf de openbare ruimte geplaatst worden en moeten voldoen aan geluidsnormen om de naburige bewoners te beschermen. Klimaatbeheersingssystemen zijn technische installaties. Zij moeten dan ook bijkomend voldoen aan de regels betreffende technische zones.
Het plaatsen van schotelantennes heeft een grote, negatieve impact op de beeldkwaliteit van een straat of een binnengebied vooral als er veel schotelantennes geplaatst worden op zeer zichtbare plekken. In alle andere gevallen wenst de stad omwille van hun visuele impact het plaatsen van schotelantennes te verbieden, tenzij deze geplaatst worden binnen het feitelijke bouwvolume. Voor bestaande schotelantennes geldt uiteraard het gemeen recht. De nieuwe digitale evolutie (Wi-Fi, e.d.) zorgt daarenboven dat de nood aan schotelantennes vermindert. Afdeling 3 Groen karakter Artikel 17 Behoud en heraanplanting
Artikel 18 Groenbescherming bij de uitvoering van werken
De stad is een in hoofdzaak bebouwde en verharde ruimte. Toch komen er nog op veel plaatsen groenelementen voor. Deze hebben in een verstedelijkte omgeving zeker evenveel waarde als in de open ruimte en verdienen dus ook in de stad Antwerpen de nodige aandacht en eventueel zelfs bescherming. Alle waardevolle natuurlijke en/of culturele landschapselementen dienen daarom zoveel mogelijk behouden te blijven en eventueel zelfs bijkomend aangeplant te worden. Deze verhogen de leefkwaliteit en de ecologische waarde van de stad. Vaak zijn het ook overblijfselen van oudere landschappelijke structuren en hebben ze als herinnering aan voormalige structuren een belangrijke historische waarde. Hoogstammige bomen in het bijzonder, zijn uit oogpunt van zowel leefkwaliteit als ecologie van groot belang in een stad. Het is belangrijk het aantal hoogstammige bomen op peil te houden, omdat deze erg moeilijk vervangbaar zijn. De bouwcode gaat daarom uit van een maximaal behoud van landschappelijke elementen zoals grote solitaire bomen, boomrijen, klein landschapselementen, hagen, holle wegen, Naast het behoud kan de bouwcode ook beplantingsvoorwaarden opleggen. De beplantingsvoorwaarden hebben het herstel van bestaande landschappelijke elementen of het verwezenlijken van een kwaliteitsvolle terreinaanleg tot doel. Uit oogpunt van zowel leefkwaliteit als ecologie, is het belangrijk om de hoeveelheid beplanting op peil te houden en om nieuwe aanplantingen bij voorkeur met inheems of autochtoon plantenmateriaal uit te voeren. Afdeling 4 Perceelsafsluitingen Artikel 19 Tuinafsluitingen
De afscheiding tussen twee private percelen dient duidelijk en kwalitatief te zijn. Een te lage afsluiting biedt aan beide percelen geen privacy. Een te hoge afsluiting zorgt voor een beperking van de bezonning van de tuinen. De bouwcode legt de maximale hoogte vast en in welke mate de materialen zowel in de afscheiding met het openbaar domein en met de voortuin, als de afscheiding tussen twee tuinen moet worden uitgevoerd. De afsluiting moet gebeuren in kwalitatief materiaal en in harmonie zijn met de overige tuinafsluitingen. Bij voorkeur zijn deze afsluitingen in levende hagen. Artikel 20 Afsluitingen op onbebouwde percelen
Zeker in het geval van een onbebouwde, braakliggende kavel dient het perceel goed afgesloten te worden. Aangezien op onbebouwde percelen geen bewoning of gebruik aanwezig is, ontbreekt elke controle op onbedoeld gebruik van het perceel. Daarom wordt verplicht om deze percelen te voorzien van een goede afsluiting die de reinheid van het perceel en de aanpalende openbare ruimte waarborgt. Daarnaast zorgt deze afsluiting voor een grotere veiligheid van de gebruikers van de aanpalende percelen doordat de tuinzone van het bouwblok niet meer direct toegankelijk is. Deze argumenten zijn niet van toepassing indien het perceel, in afwachting tot het bebouwd wordt een publiek toegankelijke groene invulling krijgt zoals stadslandbouw, een speelpleintje, moestuintjes,… Een kwalitatieve invulling ervan kan een grote meerwaarde betekenen voor de buurt. De bouwcode wilt dit dan ook mogelijk maken door de verplichting tot afsluiting in deze gevallen te laten vallen.
|

![i_SVO_11002_233_10007_00003_100024.png [image]](i_SVO_11002_233_10007_00003_100024.png)
![i_SVO_11002_233_10007_00003_100025.png [image]](i_SVO_11002_233_10007_00003_100025.png)
![i_SVO_11002_233_10007_00003_100026.png [image]](i_SVO_11002_233_10007_00003_100026.png)
![i_SVO_11002_233_10007_00003_100027.png [image]](i_SVO_11002_233_10007_00003_100027.png)
