|
INLEIDING | |||||||||||||||||||||||||||||||||||||||||||||||||||||||||||||||||||||||||||||||||||||||||||||||||||||||||||||||||||||||||||||||||||||||||||||||||||||||||||||||||||||||||||||||||||||||||||||||||||||||||||||||||||||||||||||||||||||||||||||||||||||||||||||||||||||||||||||||||||||||||||||||||
|
De Stedenbouwkundige verordening van de stad Antwerpen, kortweg bouwcode, is de stedelijke stedenbouwkundige verordening die wordt aangenomen om het bouwen binnen de stad Antwerpen te reglementeren. Ze bevat voorschriften die van toepassing zijn op alle constructies op het grondgebied van Antwerpen. Voor het verkrijgen van een stedenbouwkundige vergunning dienen de ingediende plannen aan deze voorschriften te voldoen. Het raadplegen van dit document is dus uitermate belangrijk voor iedereen met bouwplannen in Antwerpen. De bouwcode heeft als doel basiskwaliteit van het bouwen te garanderen, zowel voor het gebouw, zijn bewoners en gebruikers, als voor de omgeving. Deze beoogde kwaliteit omvat duidelijke uitspraken over de leefbaarheid, duurzaamheid, beeldkwaliteit en veiligheid. Deze vier kernwaarden worden in de bouwcode vertaald in randvoorwaarden of voorschriften over de ruimtelijke en technische kwaliteit waaraan alle gebouwen of constructies moeten voldoen. Leefbaarheid. De stad dient voor iedereen een aangename plek te zijn om te wonen, te verblijven, te werken en te bezoeken. Elke ruimte, of het nu gaat om een deel van een gebouw of om een stadswijk, dient daarom geschikt te zijn voor het bedoelde gebruik. “Leefbaarheid garanderen” wil op het niveau van een wijk of stadsdeel zeggen dat de draagkracht van de omgeving niet overschreden wordt, of anders gesteld dat de leefkwaliteit van de omwonenden verbetert. De draagkracht geeft de mate weer waarin een bepaald gebruik van de ruimte door een bepaald gebied verdragen wordt, zonder dat het bestaande gebruik en de eigenheid van de ruimtelijke structuur in het gedrang komen. Ruimtelijke draagkracht heeft te maken met de tolerantie van de ruimte om bijkomend gebruik op te vangen. Op een iets kleiner schaalniveau betekent “leefbaarheid garanderen” er voor zorgen dat naburige gebouwen elkaars verblijfskwaliteit niet verminderen bijvoorbeeld door in elkaars “weg” te gaan staan en zicht of licht te ontnemen van de naburige bebouwing. De leefbaarheid garanderen op het niveau van het gebouw zelf wil zeggen dat er een aantal basiskwaliteiten steeds gerealiseerd dient te worden zodat een ruimte gecreëerd wordt waarin een mens optimaal presteert. Iedereen heeft het recht om te wonen of te verblijven met voldoende comfort en hygiëne. Ruimtes dienen voldoende groot te zijn, en over voldoende licht, lucht en uitzicht te beschikken. Elke woning heeft nood aan een minimale buitenruimte. En elke woning dient vlot toegankelijk te blijven. Bovendien verwacht een gebruiker praktische ruimten die beantwoorden aan welomschreven functionele eisen, die correct geproportioneerd zijn en in goede relatie tot elkaar staan. Duurzaamheid. Bouwen in de stad dient op een duurzame manier te gebeuren. Er wordt immers niet enkel gebouwd voor onszelf en enkel voor nu, maar voor een veel langere periode, voor andere gebruikers en in een omgeving waarmee rekening moet gehouden worden. Antwerpen wil een voorbeeldige milieustad zijn en bij de verschillende facetten van het bouwen rekening houden met ecologische criteria. Duurzaam bouwen staat voor het ontwikkelen en beheren van de gebouwde omgeving met respect voor mens en milieu. Een duurzaam gebouw is een gebouw dat een lange tijd kan meegaan. Dat kan door er in de structuur van het gebouw mee rekening te houden dat het gebouw aanpasbaar of herbruikbaar is. Gebouwen moeten vele generaties, leefstijlen en behoeften overleven. Ze moeten nuttig, geschikt en bruikbaar blijven. Deze flexibiliteit kan zich zowel uiten naar mogelijk hergebruik en uitbreidbaarheid naar de toekomst toe, als naar huidig multifunctioneel gebruik. Duurzaamheid kan men ook in een bouwproces brengen om te kiezen voor kwalitatieve materialen die een lange tijd kunnen meegaan. Een duurzaam gebouw is dus een gebouw dat verder durft te kijken dan de minimumeisen van de dag van vandaag maar ook al probeert keuzes te maken die ook voor de toekomst goed zullen zijn. Duurzaam bouwen wil zeggen zo min mogelijk een belasting vormen voor het milieu, nu en in de toekomst. Technieken en materialen die een positief effect hebben op het stedelijk klimaat zoals aangepaste materialen, hernieuwbare energiesystemen, wateropvang en infiltratiemogelijkheden,… worden daarom gestimuleerd. Tot slot heeft duurzaamheid ook te maken met de ecologische impact van de bouwwerken op de aanwezige biodiversiteit en op het ecologische netwerk waarvan de site deel uitmaakt. Idealiter zouden de aanwezige belangrijke natuurwaarden in situ (o.a. aanwezigheid van volgelbroedplaatsen, stedelijke ecologische verbindingszones, ….) zoveel als mogelijk behouden moeten blijven. Beeldkwaliteit. Bouwen in de stad zal steeds iets toevoegen aan het stadsbeeld. Elke verbouwing of nieuwbouw, hoe beperkt ook, bepaalt mee hoe de stad er uit ziet. Antwerpen is en wil een aantrekkelijke stad zijn en streeft daarom naar een hoge beeldkwaliteit van de stedelijke omgeving. In een dynamische en tegelijk historisch waardevolle stad als Antwerpen is het immers belangrijk om aandacht te hebben voor het kwalitatief stadsbeeld. Die aandacht voor de beeldkwaliteit is even belangrijk bij monumenten in de historische binnenstad als bij een woning in een gewone woonwijk. Ook daar moet het bouwen immers bijdragen tot een aantrekkelijk straatbeeld. Beeldkwaliteit wordt bepaald door de verschijningsvorm van een gebouw, een object, een omgeving of het samenspel daarvan. Het beeldbepalend karakter van een gebouw ligt in belangrijke mate in de visuele relatie van het gebouw met zijn omgeving. De stad hecht veel belang aan de harmonie van een gebouw met de omgeving. Daarom is het aangewezen om het gebouw in een ruimer gebied te zien. Daarnaast worden het uitzicht van een gebouw en de samenhang met de omgeving ook bepaald door de vormelijke kwaliteiten van de bebouwing zelf (volumes, schaal, materialen, gevelopbouw, kleur, …) en door allerhande toevoegingen aan het gebouw. Veiligheid. Bouwen in de stad dient een veilig gebruik van de ruimte te garanderen voor zowel bewoners, gebruikers als bezoekers. Bouwwerken mogen dus zeker geen onveilige situaties veroorzaken en de gebruikers niet in gevaar brengen. Veiligheid begint met de bescherming van de bewoner of gebruiker. Het gebouw dient daarom te allen tijde veilig opgetrokken te worden volgens alle geldende normen met betrekking tot brandveiligheid, gezondheid en stabiliteit, zodat een normaal gebruik van het gebouw steeds zonder gevaar is. Plekken waar overzicht en controle verdwijnen geven snel een gevoel van sociale onveiligheid of lokken gedrag uit zoals sluikstorten of vandalisme, dat niet bijdraagt tot een veilige en aangename omgeving. Een levendig straatbeeld, waarbij voldoende functies in de gebouwen in relatie staan met het leven op straat, vormt hier een belangrijk onderdeel van. De bouwcode is opgebouwd op basis van deze vier kernwaarden. LEESWIJZER Per artikel vind je naast een verordenend gedeelte een richtinggevend of toelichtingsgedeelte. Behoudens de eventuele afwijkingen bevat het verordenend gedeelte wat bindend is en “wat moet”. Het richtinggevend- of toelichtingsgedeelte schetst de context of bevat aanbevelingen van “wat gewenst” wordt. Het verordenende deel staat in zwarte tekst, het toelichtende deel in grijze. Naast het garanderen van kwaliteit wil de bouwcode ook rechtszekerheid bieden bij het bouwen. Ze gaat uit van de bouwmogelijkheden, beperkingen en de effecten die een bouwwerk of constructie kan hebben voor bewoners, gebruikers, omwonenden en passanten. De voorschriften zijn geschreven om zowel deze groepen te beschermen als de eigenaar of bouwheer bouwmogelijkheden te bieden. De voorschriften van deze bouwcode moeten gezien worden samen met andere wetgeving, reglementeringen of documenten met verordenende kracht. Dit geldt zowel ten aanzien van documenten die een breder ruimtelijk verband hebben zoals bijzondere plannen van aanleg, ruimtelijke uitvoeringsplannen of andere stedenbouwkundige verordeningen, als ten aanzien van reglementen en normen die specifieke materies regelen. Het is daarom aangeraden of zelfs vereist om ook deze andere wetgeving steeds te raadplegen bij het opstellen van een stedenbouwkundige aanvraag. Deze complementariteit houdt in dat de voorschriften van deze bouwcode alleen gelden voor zover ze niet strijdig zijn met andere wetgeving of met de voorschriften van specifieke ruimtelijke plannen. Voorbeelden van andere relevante regelgeving zijn: Decreten: de Vlaamse Codex Ruimtelijke Ordening aangevuld met de verschillende uitvoeringsbesluiten en omzendbrieven, het decreet betreffende het grond- en pandenbeleid, het bosdecreet, het decreet betreffende het natuurbehoud en het natuurlijk milieu, het decreet Algemeen milieubeleid (DABM), … Ruimtelijke plannen: het gewestplan, geldende RUP’s of BPA’s en verkavelingsplannen. Wetboeken: het Burgerlijk Wetboek en het Veldwetboek Gewestelijke stedenbouwkundige verordeningen: de verordening wegen voor voetgangersverkeer, de verordening hemelwaterputten, de verordening weekendverblijven, de verordening toegankelijkheid Milieuwetgeving: VLAREM, Milieueffectrapportage (MER) Bouwnormen: basisnormen brandveiligheid, geluidsnormen, EPB-regelgeving Gemeentelijke regelgeving: Politiecodex, terrassenreglement, reglement inname openbare weg door verplaatsbare voorwerpen en andere gemeentelijke verordeningen. Daarnaast leggen ook leveranciers van nutsvoorzieningen (gas, water, elektriciteit,…) bepaalde voorwaarden op om te kunnen aansluiten op hun net. Het is daarom ook belangrijk om hun websites daarover te raadplegen.
DEEL 1 ALGEMEEN Artikel 1 Toepassingsgebied De bouwcode is van toepassing op het ganse grondgebied van de stad Antwerpen, uitgezonderd het havengebied aangeduid op het volgende kaartbeeld en bepaald op basis van de afbakening volgens GRUP Afbakening Zeehavengebied (RUP_02000_212_00202_00001). Aanduiding van het havengebied (rode arcering) waarvoor de bouwcode niet van toepassing is. Artikel 2 Algemeen kader
De vereisten van het Koninklijk besluit dd. 7 juli 1994 (en latere wijzigingen) tot vaststelling van de basisnormen voor preventie van brand en ontploffing waaraan nieuwe gebouwen moeten voldoen, zijn van toepassing (behoudens uitzonderingen via de afwijkingscommissie). Voor middelhoge gebouwen (hoogste bouwlaag gelegen tussen 10 en 25 meter ten opzichte van de de laagste opstelzone voor de brandweer dient bijvoorbeeld. voor elke wooneenheid aan de achtergevel een tweede vluchtweg voorzien te worden onder de vorm van een vaste brandladder. Voor grootschalige projecten wint men dus best ook eerst het advies van de brandweer in.
Artikel 3 Afwijkingsmogelijkheid
Dit artikel vervangt in feite het artikel 95 “Gelijkwaardigheidsprincipe” uit de vorige bouwcode. Het biedt de aanvrager van een stedenbouwkundige vergunning de mogelijkheid om een afwijking te vragen op deel 2 en deel 3 van de voorschriften van deze bouwcode.
Artikel 4 Definities 1 Aaneengesloten bebouwing of rijbebouwing: Bebouwingswijze waarbij het hoofdgebouw minstens twee gemene muren of wachtgevels of een combinatie van beide heeft. 2 Autostalplaats en autoparkeerplaats:
3 Baanwinkelgebied: Percelen gelegen te Boomsesteenweg met huisnummers 465-957 en 546-1000 en te Bredabaan met huisnummers 809-967 en 896-1026. 4 Bebouwde grondoppervlakte: Bruto-vloeroppervlakte van het vloerniveau ter hoogte van het maaiveld (voetafdruk) op een perceel of terrein, exclusief de overdekte, niet-afgesloten terrassen. 5 Beplanting: Gewas waarmee de grond is beplant, bestaande uit stengel en bladeren, zoals struiken, kruidachtige en bomen. 6 Beschoeien: Het aanbrengen van een oever- of bodemversteviging in de baangracht om afkalving, uitspoeling en instorting tegen te gaan. 7 Bouwblok: Een overwegend bebouwde ruimte die bestaat als een verzameling van aan elkaar grenzende percelen, omringd door straten en/of natuurlijke grenzen. 8 Bouwdiepte: Afstand vanaf de bouwlijn waar over de gehele diepte is of mag worden gebouwd, inclusief afdaken en uitbouwen, exclusief gelijkvloerse terrassen. 9 Bouwhoogte: Hoogte gemeten vanaf het straatniveau tot aan het hoogste punt van het gebouw, met uitzondering van ondergeschikte bouwonderdelen, zoals technische ruimten, schoorstenen, antennes, liftkokers … De bouwhoogte kan verschillen van de kroonlijsthoogte. 10 Bouwlaag: Horizontaal doorlopend gedeelte van een gebouw dat door op gelijke of nagenoeg gelijke hoogte liggende vloeren of balklagen is begrensd, met inbegrip van het gelijkvloers, bewoonbare kelders of bewoonbare lagen onder het dak. Niet-bewoonbare kelders, niet-bewoonbare zolders, niet-overdekte dakterrassen of dakspeelplaatsen worden niet meegerekend als bouwlaag, indien deze zich over de volledige bouwlaag bevinden. 11 Bouwlijn: Lijn waarachter een van de gevels van een gebouw geplaatst is of geplaatst kan worden; de grens van de bouwperimeter. 12 Bouwvolume: Het bruto-bouwvolume van een constructie en haar fysisch aansluitende aanhorigheden die in bouwtechnisch opzicht een rechtstreekse aansluiting of steun vinden bij het hoofdgebouw, zoals een aangebouwde garage, veranda of berging, gemeten met inbegrip van buitenmuren en dak, en met uitsluiting van het volume van de gebruikelijke onderkeldering onder het maaiveld; 13 Buitenruimte: Toegankelijke ruimte in open lucht. Zowel de onbebouwde ruimte van het perceel op het gelijkvloers als de terrassen op de verdiepingen. 14 CHE - gebied: Cultureel, historisch en/of esthetisch waardevol gebied zoals aangeduid in het gewestplannen, bijzondere plannen van aanleg en in ruimtelijke uitvoeringsplannen. 15 Centrumgebied: Percelen grenzend aan de straten die behoren tot:
Een inventaris van de straten die tot de verschillende districtskernen behoren zijn opgelijst in bijlage van deze bouwcode. 16 Centrumschil: Het Antwerpse grondgebied dat niet behoort tot “centrumgebied” en “overig gebied”. Een kaart met aanduiding van dit gebied is in bijlage van deze bouwcode te raadplegen. 17 Constructie: Gebouw, bouwwerk, vaste inrichting, verharding, publiciteitsinrichting of uithangbord, al dan niet bestaande uit duurzame materialen, in de grond ingebouwd, aan de grond bevestigd of op de grond steunend omwille van de stabiliteit, en bestemd om ter plaatse te blijven staan of liggen, ook al kan het goed uit elkaar genomen worden, verplaatst worden, of is het goed volledig ondergronds. 18 Dakoppervlakte: Verticale projectie op een horizontaal vlak van de buitenafmetingen van het dak. 19 Dakvlak: Buitenzijde van het dak, uitsprongen en insprongen buiten beschouwing gelaten. 20 Dakkapel: Uitspringend raam of deurgeheel met dak dat het dakvlak onderbreekt. 21 Dakterras: Toegankelijke buitenruimte op het dak van een gebouw (of een deel ervan) dat is aangelegd als een terras. 22 Duurzaam materiaal: Bouwfysisch verantwoord en bestendig materiaal. Het gebruik en de productie van het materiaal voldoen bovendien in voorkeursvolgorde aan volgende principes:
23 Fietsstalplaats en fietsparkeerplaats:
24 Functiewijziging: Het wijzigen van de hoofdfunctie van een gebouw of een gedeelte van een gebouw waarvoor een stedenbouwkundige vergunning nodig is. Volgende functies worden als hoofdfunctie beschouwd:
25 Garage: Bergplaats voor de auto die regen- en winddicht is. 26 Gassen:
27 Gebouw: Elke constructie, die een voor mensen toegankelijke ruimte vormt, omsloten door buiten- en/of scheimuren, een fundering en een dak.
28 Gelijkvloers: Onderste bouwlaag van een gebouw, gelegen boven de pas van het maaiveld. 29 Gescheiden riolering: Dubbel stelsel van leidingen of openluchtgreppels waarvan het ene stelsel bestemd is voor het opvangen en transporteren van afvalwater en het andere stelsel bestemd is voor het infiltreren, het bufferen en afvoeren van hemelwater. 30 Gevel: Buitenmuur van een gebouw met uitzondering van de scheimuur De voorgevel is de gevel van een gebouw grenzend aan één of meerdere straatzijden. 31 Gevelbreedte: Breedte van de voorgevel gemeten in een rechte lijn tussen de twee punten gevormd door de voorgevel en de zijgevel(s)/scheimu(u)r(en). De gevelbreedte van een hoekgebouw wordt per straat afzonderlijk gemeten. 32 Gevelvlak: Buitenzijde van de gevel, uitsprongen en insprongen buiten beschouwing gelaten. 33 Gezin: Een gezin bestaat uit één persoon of uit meerdere personen die op duurzame wijze in dezelfde woning samenleven. 34 Groene ruimte: Onverhard, waterdoorlatend, onbebouwd en begroeid oppervlakte. 35 Groendak: Een dak bedekt met vegetatie en een aantal onderliggende lagen die nodig zijn voor de ontwikkeling van deze vegetatie en de opslag van regenwater.
36 Grootschalig project: Met grootschalige projecten wordt bedoeld:
37 Herbouw: Een constructie volledig afbreken, of méér dan veertig procent van de buitenmuren van een constructie afbreken en/of het verwijderen van de vloerplaten, en binnen het bestaande bouwvolume van de geheel of gedeeltelijk afgebroken constructie een nieuwe constructie bouwen. 38 Hoogstammige boom: Boom die op 1m hoogte een stamomtrek heeft van minstens 100cm. Hoogstammige fruitbomen worden gelijkgesteld met hoogstammige bomen. 39 Horecaterras:
40 Individuele voorbehandelingsinstallatie: Een individuele voorbehandelingsinstallatie (IBA) is een lekvrije installatie die huishoudelijk zwart en grijs afvalwater zuivert tot de vooropgestelde normen. Het zuiveringsproces van een IBA gebeurt meestal in drie stappen, namelijk de voorbehandeling, de biologische zuivering en de nabehandeling. 41 Insprong: Terugspringend bouwdeel ten opzichte van het gevelvlak of dakvlak.
42 Kernwinkelgebied: Percelen gelegen aan één van de volgende straten:1 Aalmoezeniersstraat (nrs. 1-13 en 2-6), Abdijstraat, Amerikalei (nrs 79-95), Anselmostraat (nmrs. 1-45 en 2-68), Appelmansstraat, Armeduivelstraat, Beatrijslaan (nrs. 1-27 en 2-42), Belegstraat (nrs. 35-47 en 42-46), Belgiëlei (nrs. 2-18), Berendrechtstraat (nrs. 35-63), Bist, Blancefloerlaan (nrs. 1-81 en 2-48), Borrewaterstraat (nrs. 1-39 en 2-36), Bredabaan (nrs. 267-739 en 252-778), Brederodestraat, Bresstraat, Carnotstraat, Cogelsplein, Dambruggestraat (nrs. 1-37 en 181-189 en 2-34 en 222-232), De Burburestraat (nrs. 1-11 en 2-6), De Keyserlei, Diepestraat (nrs. 1-161 en 2-170), Dorpstraat te Ekeren, Driehoekstraat (nrs. 1 en 2-42), Driekoningenstraat, Drink, Eiermarkt, Everdijstraat (nrs. 23-35), Frank Craeybeckxlaan, Frankrijklei (nrs. 17-61 en 44-96), Frans Van Hombeeckstraat (nrs. 2-8), Frederik Van Eedenplein, Fruithoflaan (nrs. 1-91 en 2-80), Gallifortlei (nrs. 1-149 en 2-124), Geefstraat, Gemeentestraat, Gentplaats, Geuzenstraat, Gijzelaarsstraat (nrs. 1-3 en 2-12), Gillisplaats, Gitschotellei (nrs. 71-261 en 80-278), Graaf Van Egmontstraat (nrs. 1-19 en 2-12), Groendalstraat, Grotesteenweg (nrs. 1-157 en 42-188), Haarstraat (nrs. 21-23 en 16-24), Handelstraat , Heistraat (nrs. 1-130 en 2-96), Herentalsebaan (nrs. 125-425 en 96-478), Hessenbrug, Hogeweg (nrs. 4-32), Hoogstraat, Hopland , Hoveniersstraat, Huidevettersstraat, Ijzerenwaag, Italiëlei (nrs. 32-42), Jan Van Gentstraat (nrs. 1-31), Jezusstraat, Jules Moretuslei (nrs. 133-319 en 322-462), Kammenstraat, Kapelstraat (1-105 en 2-88), Kasteelpleinstraat, Kelderstraat, Kerkstraat (nrs. 1-91 en 2-94), Kern, Kioskplaats, Kipdorpbrug, Kipdorpvest (nrs. 27-45 en 30-44), Kleine Markt, Kleinesteenweg (nrs. 1-9 en 2-10), Kloosterstraat-Antwerpen, Kloosterstraat-Ekeren (nrs. 1-99 en 2-90), Komedieplaats , Koningin Astridplein, Korte Gasthuisstraat, Korte Koepoortstraat, Korte Nieuwstraat (nrs. 1-11 en 2-28), Korte Zavelstraat, Kristus-Koningplein, Kronenburgstraat (nrs. 35-41 en 52), Lange Beeldekensstraat (nrs. 103-171 en 106-158), Lange Dijkstraat (nrs 1-27 en 2-28), Lange Gasthuisstraat (nrs. 1-13 en 2-14), Lange Herentalsestraat (nrs. 1-25 en 2-20B en 52-70), Lange Kievitstraat (47-91 en 32-68), Lange Klarenstraat (nrs. 14-20 en 19-31), Lange Koepoortstraat, Lange Nieuwstraat (nrs. 1-13 en 2-16), Lelieplaats, Leopoldplaats, Leopoldstraat, Leysstraat, Lode Zielenslaan (nrs. 1 en 2-10), Lombardenstraat (nrs. 4-18), Lombardenvest, Luikstraat, Maria-Theresialei (nrs. 1-23), Markt, Marnixplaats, Mastplein , Mechelseplein, Mechelsesteenweg (nrs. 1-113 en 2-140), Meir, Meirbrug, Melkmarkt, Mercatorstraat (nrs. 2-34), Minderbroedersrui, Museumstraat (nrs. 1-11 en 2-40), Nationalestraat, Oever (nrs. 23-29 en 16-28), Offerandestraat, Oudaan, Oudebarreellei (nrs. 33-119 en 2-122), Paardenmarkt, Paleisstraat (nrs. 3-15 en 2-16), Pelikaanstraat, Plantin en Moretuslei (nrs. 47-91 en 54-64), Pourbusstraat (nrs. 1-23 en 2-8), Prekersstraat (nrs. 65-75 en 34-46), Quellinstraat, Reyndersstraat (nrs. 1-11 en 2-16), Riemstraat, Rijfstraat, Scheldestraat (nrs. 1-35 en 2-40 en 68-100), Schoenmarkt (nrs. 1-35 en 2-24), Schrijnwerkersstraat, Schupstraat, Schuttershofstraat, Simonsstraat, Sint-Bernardsesteenweg (115-187 en 199-303 en 218-356 en 450-474), Sint-Elisabethstraat (nrs. 73-83 en 42-58), Sint-Franciscusplein, Sint-Gummarusstraat,, Sint-Jacobsmarkt (nrs. 57-97 en 66-104), Sint-Jansplein, Sint-Jorispoort, Sint-Katelijnevest, Sint-Pieterstraat, Sint-Rochusstraat (nrs. 1-9 en 2-10), Statielei (nrs. 1-19 en 2-8), Statiestraat te Berchem, Steenhouwersvest, Steenstraat (25-31 en 22-24), Te Couwelaarlei (nrs. 97-103 en 128-134), Teniersplaats, Ter Heydelaan (nrs. 25-67), Terninckstraat (nrs. 1-21 en 2-4), Theodoor Van Rijswijckplaats, Turnhoutsebaan te Deurne (nrs. 1-125 en 2-124), Turnhoutsebaan te Borgerhout (1-413 en 2-410), Twaalfmaandenstraat (nrs. 1-23), Van Amstelstraat (nrs. 2-28), Van Arteveldestraat (nrs. 1-3 en 2-6), Van De Wervestraat (nrs. 93-99 en 74-92), Van Maerlantstraat (nrs. 1-9 en 2-6), Van Stralenstraat (nrs. 2-16), Van esenbekestraat, Varkensmarkt, Veltwijcklaan (nrs. 1-3 en 2-12), Verlatstraat (nrs. 1-3 en 2-10), Vestingstraat, Victor Roossensplein, Vlaamsekaai , Vleminckveld (nrs. 2-18), Volkstraat, Vondelstraat, Waalsekaai, Wapper, Waterhoenlaan (nrs. 1-17 en 2-20), Weggestraat, Wiegstraat, Wijngaardbrug, Wittestraat (nrs. 71-105 en 82-104), Wolstraat. De selectie van deze straten is overgenomen uit de beleidsnota detailhandel 2013, zoals goedgekeurd op de collegezitting van 30 augustus 2013 (jaarnummer 08658). 43 Kelder: Ruimte die volledig of gedeeltelijk onder het maaiveld ligt tussen de fundering en het gelijkvloers. Bewoonbare kelder: kelder waarvan het vloerniveau maximum 1,50 meter onder het maaiveld ligt met een minimum plafondhoogte van 2,20 meter. Niet-bewoonbare kelder: kelder die niet voldoet aan de definitie van bewoonbare kelder. 44 Kroonlijsthoogte: Hoogte van een gebouw die gemeten wordt van het maaiveld tot de bovenkant van de deksteen of kroonlijst. 45 Landschapsatlas De inventaris van de relicten van de traditionele landschappen waarin de landschapskenmerken weergegeven worden als ze een erfgoedwaarde hebben. 46 Maaiveld: Bovenvlak van huidig of toekomstig bouwterrein 47 Onderhouds- en instandhoudingswerken: Werken die het ongewijzigd gebruik van het gebouw voor de toekomst veilig stellen door het bijwerken, herstellen of vervangen van geërodeerde of versleten materialen of onderdelen. 48 Openbaar domein: Elk goed dat aan een openbare rechtspersoon toebehoort en (hetzij omwille van zijn aard, d.i. het natuurlijk openbaar domein, hetzij wegens een bijzondere aanpassing, hetzij wegens het historisch of wetenschappelijk belang ervan) nodig is voor een openbare dienst of voor de tegemoetkoming aan een openbare noodwendigheid en dat in die functie door geen enkel ander kan vervangen worden. 49 Openbare ruimte: De wegen of pleinen die openstaan voor weggebruikers zoals voetgangers, fietsers, voertuigen of ander verkeer. 50 Overig gebied: Het gebied dat niet tot het centrumgebied en de centrumschil behoort. Dit valt samen met postcodes 2040 en 2180. 51 Perceel: Stuk grond, al dan niet bebouwd, waaraan een kadastraal nummer is toegekend. 52 Perceelsgrens: De kadastraal vastgelegde grens tussen twee of meerdere percelen. 53 Publiciteitsinrichting: Ieder visueel middel hoofdzakelijk gebruikt voor publicitaire doeleinden, zichtbaar vanaf het openbaar domein en aangebracht op de buitenzijde van een gebouw of constructie of op een verplaatsbare inrichting of rollend materiaal. Overheidsinformatie, aankondigingen van socio-culturele en educatieve aard en publiciteit bij straatmeubilair vallen niet onder deze definitie.
54 Rooilijn: Huidige of ontworpen scheidslijn tussen de openbare ruimte en de aangelande eigendommen. Zij heeft tot taak de openbare ruimte op een bepaalde breedte te handhaven of te brengen. 55 Scheidingsmuur: Muur die twee eigendommen van elkaar scheidt. Scheidingsmuren kunnen ontkoppeld of enkelvoudig zijn.
56 Septische put: Septische putten zorgen voor de voorbehandeling van normaal huishoudelijk afvalwater ter verwijdering van vetstoffen, bezinkbare en drijvende stoffen. De septische put is vervaardigd uit beton of kunststof en heeft ten minste twee compartimenten. De verschillende afdelingen van de septische put moeten met elkaar in verbinding gesteld worden d.m.v. in de scheidingsmuren aangebrachte openingen die groot genoeg zijn om beroering in de middenzone ter vermijden. 57 Sorteerstraatje: Systeem van containers dicht bij de woning waar de bewoner zelf zijn huishoudelijk afval selectief naar toe brengt. Het systeem wordt volgens de technische en stedenbouwkundige richtlijnen van de stad geplaatst op publiek toegankelijk terrein. Het systeem wordt gebruikt onder toezicht en volgens de reglementering van de stad. De bedieningszone van een sorteerstraatje bedraagt 150 meter in loopafstand, gemeten vanaf de voordeur tot de dichtstbijzijnde container. 58 Stationsomgeving: Een inventaris van de straten die tot de stationsomgeving behoren, zijn opgelijst in bijlage van deze bouwcode. 59 Straatbeeld: De verschijningsvorm van het geheel van de gebouwde omgeving die de begrenzing en zicht vormt van een publieke open ruimte. 60 Straatwand: De samenvoeging van alle voorgevels tussen twee straathoeken. 61 Technische installaties: Installaties of zelfstandige onderdelen ervan die geen verblijfsfunctie hebben, zuiver utilitair zijn en bijdragen tot de technische werking van het gebouw, zoals HVAC (heating, ventilation, air-conditioning), liften,… 62 Technische ruimte: Ruimte die enkel voor technische installaties wordt gebruikt. 63 Technische zone: Zone voor technische installaties en/of technische ruimten. 64 Terras: Toegankelijke verharde ruimte in openlucht, op of buiten een gebouw, aangelegd als verblijfs- of wandelplaats. 65 Toegelaten bouwvolume: Theoretisch volume waarbinnen een gebouw, :inclusief de technische zone en dakterrassen, of constructie zich moet bevinden. 66 Tuin: Niet-openbare ruimte in de openlucht die zich situeert op de begane grond. De tuin kan gelegen zijn aan de voor-, zij- en/of achterkant van het gebouw. 67 Tuinhuis: Constructie in een tuin, met als enige functie om iets in op te bergen. 68 Totem: Publiciteitsdrager bestaande uit een paal waaraan publiciteitsborden bevestigd zijn/worden. 69 Uitbreiden: Vergroten van een bestaande constructie, het anders bouwen ervan zonder dat het volledig wordt afgebroken of heropgericht. Het gebeurt buiten het bestaande bouwvolume en met volumevermeerdering. 70 Uitsprong: Vooruitstekend bouwdeel ten opzichte van het gevelvlak of dakvlak. 71 Verblijfsruimte: Ruimte voor het langdurig verblijven van mensen. Hieronder vallen, zonder limitatief te zijn: leefruimten, keukens, slaapkamers, kamers, kantoor/bureelruimten, onderwijslokalen. Enkele voorbeelden van ruimten die hier niet onder vallen: badkamers, toiletten, handelszaken, restaurants, cafés, ruimten voor industrie en ambacht, bergplaatsen. 72 Verbouwing: Het doorvoeren van aanpassingswerken binnen het bestaande bouwvolume van een constructie waarvan de buitenmuren voor ten minste zestig procent behouden blijven. 73 Verharding: Kunstmatig aangelegde grondbedekking (al dan niet door het uitvoeren van constructieve werken) om het weerstandsvermogen van de bodem te vergroten en die mogelijks de waterdoorlaatbaarheid ervan beperkt. 74 Vloeroppervlakte:
Niet tot de netto-vloeroppervlakte behoren:
75 Voetpad: Gedeelte van de openbare ruimte bestemd voor voetgangers, dat duidelijk is afgebakend van de gedeelten bestemd voor het overige verkeer.
76 Vrije hoogte: Netto hoogteverschil tussen de bovenzijde van de afgewerkte vloerpas en de onderkant van het afgewerkt plafond of een dragende balkenstructuur. 77 Wachtgevel: Gedeelte van de scheidingsmuur waartegen het gebouw op het aangrenzende perceel aangebouwd kan worden. 78 Water:
79 Woning:
80 Zolder: Ruimte die onder meer gevormd wordt door schuine dakvlakken.
81 Zoneringsplan voor de behandeling van afvalwater: Plan opgemaakt door de Vlaamse Milieumaatschappij dat de ligging van de vier zuiveringszones inzake de zuivering van afvalwater weergeeft. Per zone zijn bepaalde maatregelen opgelegd met betrekking tot waterafvoer. De zones zijn te raadplegen via het geoloket van de VMM. De vier zones zijn:
DEEL 2 RUIMTELIJKE KWALITEIT Hoofdstuk 1 Algemeen Aan een historische stad als Antwerpen wordt al heel lang gebouwd. Door de eeuwen heen ontstond een structuur van gebouwen en openbare ruimte die samen een geheel vormen. Elke toevoeging aan het stedelijke weefsel, of verbouwing ervan moet dus rekening houden met de bestaande structuur van de bebouwing en met de waardevolle gebouwen in het bijzonder. Elke toevoeging of verbouwing heeft immers een grote impact op de beeldkwaliteit van straten, buurten en wijken in de toekomst. Artikel 5 Cultuurhistorisch erfgoed
In de stad bevinden zich verschillende concentraties van waardevolle gebouwen, waarvan slechts een klein deel beschermd is. Het gewestplan, bestemmingsplannen of ruimtelijke uitvoeringsplannen duiden deze gebieden met een belangrijke historische samenhang aan als woongebied met culturele, historische en esthetische waarde (CHE-gebied). Al de gebouwen binnen deze zone dienen a priori bewaard te blijven. Daarnaast zijn er ook heel wat gebouwen verspreid over de stad als waardevol geklasseerd zonder dat ze als monument beschermd zijn. Deze gebouwen zijn opgenomen in de inventaris van het bouwkundig erfgoed die raadpleegbaar is via de website www.inventaris.onroerenderfgoed.be. Deze gebouwen behoren tot de waardevolste gebouwen van de stad. Ze zijn de getuigen van het verleden van Antwerpen en vaak vormen ze een landmerk in de buurt. Ze hebben niet alleen een belangrijke waarde voor de eigenaars, maar ook voor de stad in haar geheel. Dit brengt bepaalde verantwoordelijkheden met zich mee. Aan deze gebouwen zijn werken mogelijk maar ze dienen wel steeds rekening te houden met de historische waarde van het gebouw. Bij de vergunningsaanvraag moet daarom aangetoond worden waarom een gebouw of een gedeelte van een gebouw gewijzigd wordt, rekening houdend met de waarde van het gebouw. Het uitgangspunt is dat al deze gebouwen bewaard dienen te blijven. Tijdens de vergunningsaanvraag moet aangetoond worden waarom een gebouw of een gedeelte van een gebouw niet bewaard moet blijven. De beoordeling wordt gebaseerd op een beschrijving van het cultuurhistorisch profiel van de aanwezige elementen. Dit profiel kan onder andere volgende onderdelen bevatten: een bouwhistorisch onderzoek van het gebouw, een beschrijving met bijhorende fotoreportage van het exterieur en het interieur, een bouwfysische analyse en de elementen van culturele, historische of esthetische waarde aanwezig in het gebouw. Het cultuurhistorisch profiel dient te blijken uit de beschrijvende nota die duidelijk maakt welke delen cultuurhistorische waarde en welke delen geen cultuurhistorische waarde hebben. Vervolgens kan bij elke vergunningsaanvraag bepaald worden wat niet waardevol is en dus afgebroken of veranderd mag worden en wat behouden moet blijven. Als dit niet voldoende aangetoond wordt in de bouwaanvraag, geldt het volledige behoud van het gebouw.
Om het schrijnwerk en de gevelafwerking van historisch waardevolle gebouwen te beschermen, legt de bouwcode een meldingsplicht op voor de werken aan de zij- en achtergevel die op basis van het besluit van de Vlaamse Regering tot bepaling van handelingen waarvoor geen stedenbouwkundige vergunning nodig is, voorheen volledig vrijgesteld waren van vergunning voor zover deze niet in combinatie met stabiliteitswerken en wijziging van het fysieke bouwvolume werden uitgevoerd. Gelijkaardige werken aan de voorgevel zijn steeds vergunningsplichtig. Artikel 6 Harmonie en draagkracht
Harmonie met de omgeving begint met voldoende kennis van de ruimtelijke kenmerken van de omgeving. Deze kennis dient ingezet te worden opdat het op te richten of te verbouwen gebouw op doelbewuste en gemotiveerde wijze een relatie aangaat met de omgeving. Ongeacht of de gebouwen op zich al dan niet een bijzondere beeldwaarde hebben vormen ze samen een eenheid, een straatbeeld, een bouwblok of een typische wijk. Het is daarom essentieel om bij toevoegingen of wijzigingen aan bestaande gebouwen of bij nieuwbouw steeds de ruimere context van de werken te bekijken en de voorgestelde werken uit te voeren “in harmonie met de omgeving”. Met “harmonie met de omgeving” wordt bedoeld het samengaan van het gebouw met zijn omgeving. In gebieden waar de bebouwing een sterke samenhang vertoont, zal het over het algemeen wenselijk zijn om de schaal en de geleding van de bestaande bebouwing te volgen. Dat wil nog niet zeggen dat alle uiterlijke kenmerken zomaar gekopieerd moeten worden. Het gebouw moet dus niet uniform of eenvormig zijn met zijn omgeving maar wel een bewuste relatie aangaan met zijn omgeving. In sommige gevallen is het denkbaar dat ook een contrast of een interpretatie kan zorgen voor het goed samengaan van het gebouw met de omgeving, zeker wanneer dit de kwaliteit van de omgeving ten goede komt. Daarom is het aangewezen om het gebouw in een ruimer gebied te zien omdat op die schaal de harmonie duidelijker merkbaar is. Dit ruimer gebied is het referentiebeeld om de harmonie aan te toetsen. Soms is het referentiebeeld een bouwblok of een wijk, andere keren is de straat zelf een uitstekend referentiebeeld om de harmonie te bepalen, maar meestal kijkt men naar de gebouwen langs dezelfde zijde van de straat als het gebouw waarvoor de vergunningsaanvraag wordt ingediend en dit van straathoek tot straathoek. Het gebouw wordt steeds bekeken vanuit een logisch geheel in de omgeving waar een harmonische samenhang merkbaar is. Harmonie is niet eenduidig of kwantitatief te definiëren. Elke aanvraag zal daarom apart beschouwd moeten worden, waarbij ook rekening kan gehouden worden met toekomstige ontwikkelingen. In de ontwikkeling van de stad tekenen zich vaak tendensen af voor een nakende transformatie. Het bestaande referentiekader hoeft daarom niet zomaar bevroren te worden. Het kan morgen al voorbijgestreefd zijn. Daarom is het mogelijk om op basis van artikel 3 gemotiveerd af te wijken op deze harmonieregel waarbij men moet aantonen dat een afwijking op het huidige referentiebeeld noodzakelijk is om kwaliteitsvolle evoluties te faciliteren en zo de stedelijke omgeving te verbeteren. De harmonieregel staat dan ook open voor voortschrijdend inzicht bij kwaliteitsvolle feitelijke of lopende ontwikkelingen. Deze regel werkt graduele evoluties niet tegen en laat toe het referentiebeeld ten goede te veranderen.
Verwevenheid van functies is een essentieel kenmerk van een binnenstedelijk gebied. Maar een te grote mix van verschillende functies of een te grote concentratie van één bepaalde functie kan tevens voor conflicten en overlast zorgen. Voorbeelden van overlast hierbij zijn geluidsproductie, parkeerdruk, mobiliteitsgeneratie, laden en lossen, dag- of nachtactiviteiten. Ook is er een verschil tussen typologieën die niet via de functiebeperkingen kunnen opgevangen worden. De impact van een groot appartementsgebouw is bijvoorbeeld heel anders dan dat van een rijhuis voor één gezin. De typologie en schaal kunnen overlast genereren door middel van concentraties. Daarom wordt de draagkracht van de omgeving getoetst bij elk voorstel van functie, typologie en schaal. Artikel 7 Welstandsadvies
Het bijzonder beeldbepalend karakter van de aanvraag en/of het project wordt bepaald door uiteenlopende aspecten zoals de omvang en schaal van het project of projectgebied, de mate waarin het afwijkt van de harmoniekenmerken van het bestaande of toekomstige referentiebeeld, de specifieke ligging in contextgevoelige en waardevolle zones of door de symbool- of accentwaarde.
Om de beeldkwaliteit van een project te beoordelen kan aan de stadsbouwmeester en/of de welstandscommissie een welstandsadvies worden gevraagd. Het stadsbestuur wil daarin zelf het goede voorbeeld geven en alle eigen bijzonder beeldbepalende projecten van de stad Antwerpen en haar dochters steeds ter advisering voorleggen aan de stadsbouwmeester en/of de welstandscommissie. Tegelijk wil het stadbestuur ook voor alle andere projecten met bijzonder beeldbepalend karakter systematisch een welstandsadvies vragen. Het beeldbepalend karakter kan volgens de omvang van het project, de harmonie met het referentiebeeld, de ruimtelijke context, en andere bestaande kaders voor het afwegen van beeldkwaliteit. De maat en omvang van een project leiden tot een belangrijke impact op de beeldkwaliteit van de omgeving. Grote projecten dienen daarom steeds ter advisering voorgelegd te worden. Grote projecten zijn bijvoorbeeld die met een bruto-vloeroppervlakte van meer dan 2500m², een project met meer dan 15 woningen, een project waarvan de korrelmaat enkele malen groter is dan die van zijn omgeving of opmerkelijk hoge(re) gebouwen in samenhang met omgevingen met een uitgesproken beeldkwaliteit, zoals het CHE-gebied, beschermde stads- en dorpsgezichten maar ook op plekken die op een prominente zichtlocatie liggen. Dat geldt tevens voor projecten die in het kader van de harmonie een uitdrukkelijk contrast met hun omgeving beogen en daardoor sterk afwijken van het referentiebeeld. Op plekken waar een beoordelingskader werd opgemaakt, bijvoorbeeld bij een beeldkwaliteitplan of een BPA of RUP dat zich uitdrukkelijk uitspreekt over beeldkwaliteit, is een welstandsadvies ook aangewezen Projecten waarin de stad (of haar dochters) opdrachtgever, bouwheer, eindgebruiker of hoofdfinancier is of belangrijke projecten van burgerlijke bouwkunde vormen uiteraard ook een kerntaak van de stadsbouwmeester. (als voorbeeldgedrag voor de goede huisvader). Artikel 8 Gebouwen hoger dan 50 meter
Hoogbouw is een bijzondere bouwvorm omdat het zich duidelijk van het gemiddelde onderscheidt door zijn hoogte. Hoogbouw is daarom ook contextueel. Wat voor de ene buurt als hoog wordt bestempeld is voor een andere buurt misschien gemiddeld en normaal. Daarom moet men de drempelhoogte van 50 meter eerder als richtinggevend beschouwen en kunnen lagere hoogten ook aan een dergelijke hoogte-effecten-rapportering onderworpen worden. Puntvormige objecten, zoals windturbines, flares, HS-masten, e.d. zijn geen gebouwen, maar constructies en hoeven niet steeds voor advies aan de Gecoro of de welstandscommissie worden voorgelegd. De criteria die in dit artikel worden opgesomd worden uiteraard ook afgewogen bij “gewone” projecten maar ze krijgen een specifieke invulling indien het betrekking heeft tot hoogbouw. Hoogbouw telt ruim wat voordelen zoals het uitzicht, de beperkte grondinname, de compacte bouwvorm, de energetische uitdagingen, maar hoogbouw wordt ook getypeerd door knelpunten zoals windval op het maaiveld, de vermindering van licht- en zontoetreding in de omgeving, het gebrek aan integratie in de omgeving. Daarnaast bepaalt hoogbouw de skyline. Daarom gaat er bijzondere aandacht naar het stadsbeeld. Hoogbouw is atypisch in een klassieke wijk, buurt of straatomgeving wat betekent dat de beeldkwaliteit naast een architecturale, tevens een globale sectorale afweging vereist. Op basis van de rapportering van de effecten wordt er afgewogen en beoordeeld. De beoordelingscriteria, de werkwijze evenals de selectie van gebieden zijn conform de visie over hoogbouw in de stad. Artikel 9 Goed huisvaderschap Iedere eigenaar is verplicht zijn onroerende eigendom in gezonde en veilige toestand, geschikt voor de bestemde functie, te bewaren of te brengen. Meerdere eigenaars laten hun pand verkrotten en leegstaan, ondanks de belasting op leegstand en verkrotting. Ook wanneer het pand ongeschikt of onbewoonbaar werd verklaard op grond van de Vlaamse wooncode, laten eigenaars hun pand verder verkrotten. Ze beperken de werken aan het pand zodat er geen onmiddellijk gevaar is voor instorting, ontploffing of elektrocutie. Dit belet echter de verdere verkrotting of verloedering niet die soms nog gepaard gaat met bewoning. Bovenstaande bepaling verplicht de eigenaars hun pand op een veilige en gezonde wijze geschikt te maken met het oog op de voor het pand gekende functie volgens de stedenbouwkundige vergunning. Zo moet een woning op gezonde en veilige wijze geschikt zijn voor bewoning. Het optreden van de burgemeester op grond van artikel 135 § 2 of § 5 juncto artikel 133 Nieuwe Gemeentewet, blijft onverminderd van kracht, wanneer de openbare veiligheid en gezondheid in het gedrang komt. Zo kan de burgemeester overgaan tot het slopen of herstellen van bouwvallige gebouwen of tot het nemen van maatregelen die betrekking hebben op de oorzaken van ongezonde panden. Overtredingen van de bevelen van de burgemeester op dit terrein, kunnen worden gesanctioneerd met de gemeentelijke administratieve sancties, zoals bepaald in de code van politiereglementen. Hoofdstuk 2 Uiterlijke kenmerken Afdeling 1 Inplanting, afmeting en materiaalgebruik Artikel 10 Inplanting, bouwhoogte en bouwdiepte
Het basisvolume van elk gebouw, namelijk de inplanting ten opzichte van de openbare ruimte en de naburige percelen, de bouwhoogte ten opzichte van het maaiveld en de bouwdiepte vanaf de voorgevel is zeer verschillend en wordt bepaald door de ruimtelijke context van het gebouw. Door te veel te bouwen (te hoog, te diep) in verhouding tot de terreinoppervlakte van het perceel en de gevels van het gebouw komt de beschikbaarheid van licht, lucht en open ruimte voor de gebruikers in het gedrang. Vanuit het principe van de harmonie met het referentiebeeld kan er op een perceel even diep en hoog gebouwd worden als in de omgeving. Het basisvolume van een gebouw wordt dus bepaald door het referentiebeeld en versterkt mee het straatbeeld of het bouwblok. Door even hoog en diep te bouwen als de percelen in de omgeving garandeert de bouwcode dat de ontwikkelingsmogelijkheden voor iedereen vergelijkbaar zijn en dat de hinder voor de omliggende percelen, voor bezonning en privacy, beperkt blijft. Men kan echter niet verwijzen naar naburige percelen die duidelijk niet gebouwd zijn volgens deze principes van harmonie, of die zonder bouwvergunning opgetrokken zijn. Artikel 11 Afwerken van gevels en materiaalgebruik
Het wijzigen van het buitenschrijnwerk, de kleur en het materiaal van een gevel van een gebouw heeft een grote impact op de uiteindelijke beeldwaarde van het gebouw en de kwaliteit van de gevelafwerking. : Het louter vervangen van bestaand schrijnwerk (met behoud van materiaalgebruik, maatvoering en indeling) of normale onderhouds- en schilderwerken zijn vrijgesteld van een vergunning. Echter wanneer deze werken het straatbeeld wijzigen door een opvallend andere kleur of materiaalgebruik is men wel onderworpen aan de vergunningsplicht. Enkele aanvullende voorwaarden voor het aanbrengen van gevelafwerking zijn opgenomen, om tot een duurzaam, kwaliteitsvol resultaat te komen. De wijzigingen mogen het oorspronkelijke bedoelde en waardevolle karakter niet teniet doen. Het aanbrengen van gevelafwerkingen wordt verboden voor bepaalde typen gevels, waarbij de architectuur van het pand hierdoor ernstig aangetast zou worden. Zo moet een gepleisterde gevel gepleisterd blijven en mag een gevel niet geschilderd, gekaleid of gepleisterd worden indien de gevel op een dergelijke manier afgewerkt of gedecoreerd is, dat de nieuwe afwerking deze decoratie-elementen doet verdwijnen. Indien het gaat om gebouwen opgenomen in de inventaris van het bouwkundig erfgoed of gebouwen in CHE-gebied dient men nog omzichtiger met de afwerking van de gevel en buitenschrijnwerk om te springen. Voor reconstructies van historische situaties gelden uitzonderingen, om zo het historische beeld te kunnen herstellen van een gebouw.
De gebruikte materialen, de textuur en de kleuren doen steeds een duidelijke uitspraak over de architectuur van een gebouw en bepalen in belangrijke mate de beeldkwaliteit van het gebouw en de samenhang van het gebouw met zijn omgeving. Naast esthetische eigenschappen heeft elk materiaal bovendien nog een aantal andere karakteristieken en eigenschappen die de bouwtechnische prestaties bepalen, de duurzaamheid van een constructie bepaalt, de veiligheid en de gezondheid mee waarborgen en de gezondheid mee determineren. De keuze van elk materiaal is dus bepalend voor de kwaliteit van elk gebouw. Omwille van duurzaamheidseisen is het belangrijk om de stedelijke opwarming te verminderen. Een van de oorzaken van deze stedelijke opwarming is het huidige materiaalgebruik voor verharding en daken. Oppervlaktes met een lage energetische reflectiefactor, wat het geval is bij zwarte materialen zoals asfalt of roofing hebben een negatieve invloed op de stedelijke opwarming. De stad raadt daarom het gebruik van dergelijke materialen af op plaatsen waar er andere alternatieven gemakkelijk voorhanden zijn. Groendaken of daken met een ballast van lichte keien zijn aan te raden. Voor gevels raadt de stad het gebruik van lichte kleuren en bij voorkeur witte kleuren aan. Antwerpen en in het bijzonder de kernstad is immers historisch een “witte” stad. Artikel 12 Levendige plint
Een levendige straat is een aangename straat om in te wonen of te wandelen. Met het oog op het creëren van levendige straten is het belangrijk dat de gebouwen in de straat een levendige plint hebben. Op het gelijkvloers van elk gebouw dient er daarom minstens één levendige functie aan de straat te grenzen die met de straat en haar gebruikers en passanten een relatie aangaat, bijvoorbeeld via een raam. Levendige ruimtes zijn ruimtes die vaak gebruikt worden door mensen en waar zij ook een tijd blijven. Voorbeelden hiervan zijn verblijfsruimtes, handelsruimtes, horecaruimtes, kantoorruimtes, werkplaatsen, ateliers, vergaderzalen, … Bergplaatsen, garages, entree- en circulatieruimtes, sanitaire ruimtes en kleedruimtes vallen hier niet onder. Straten met een overdaad aan deze “dode” functies aan de gevel hebben over het algemeen een lage beeldkwaliteit. Ze worden als onaangenaam ervaren. Bij smalle woningen (woningen smaller dan 5 meter) voorziet de bouwcode een afwijking, waardoor het mogelijk wordt om net achter de voorgevel een fietsenberging te voorzien. Deze uitzondering staat daarom niet per definitie haaks op de filosofie van “levendige plint”, maar het mag in geen geval een vrijgeleide zijn om blinde gevels te ontwerpen. Meer nog, in het ontwerp moet steeds gezocht worden naar een contact tussen de straat en de woning. Dit kan door bijvoorbeeld de berging te combineren met een andere functie of door voldoende beglazing of openheid te voorzien tussen de verblijfsruimte, de fietsenberging en de straat.
Voor de belevingswaarde van de straat is het belangrijk dat blinde vlekken in het straatbeeld zoveel mogelijk worden vermeden en dit zowel ’s nachts als overdag. Een handelszaak kan hier een grote bijdrage bij leveren. Daarom is het belangrijk dat winkels een etalage of gebruiksruimte hebben naar de straat. Dat is overigens ook belangrijk vanuit economisch standpunt. Het mag ook niet de bedoeling zijn dat ramen afgeplakt worden of er winkelrekken voor worden geplaatst zodat men alsnog vanaf het openbaar domein de handelszaak niet kan binnenkijken. Om te verhinderen dat deze zaken ’s nachts blinde vlekken vormen is het van even groot belang dat de rolluiken openmazig zijn, waardoor de ruimte achter het rolluik ook na sluitingstijd zichtbaar is. De mazen van deze rolluiken dienen daarom voldoende groot en over het volledige rolluik gesitueerd te zijn.
Autobergplaatsen zijn slechts toegelaten als de gevel een minimale breedte heeft van 8 meter. Dan mag er een poort in de gevel geplaatst worden. Naast de poort is er immers nog voldoende ruimte aan de gevel voor het inpassen van een levendige functie. Voor reeds bestaande toegangs-/garagepoorten in gevels met een breedte van minder dan 8 meter is het wenselijk dat deze bij nieuwbouw verdwijnen. Zij leggen immers een dubbele claim op het openbaar domein, door enerzijds het verdwijnen van een parkeermogelijkheid langs de straatzijde, anderzijds de verminderde levendigheid van de straatzijde.
Afdeling 2 In- en uitsprongen Artikel 13 Ondergrondse en bovengrondse uitsprongen
Ondergrondse uitsprongen onder de openbare ruimte kunnen niet worden toegelaten. Deze plaats wordt gereserveerd voor riolering en leidingen van andere nutsvoorzieningen. Daarnaast kunnen deze constructies de stabiliteit van de weg in het gedrang brengen. Ze zouden ook een vertraging kunnen opleveren bij werken aan de openbare ruimte. Tot slot zou er onduidelijkheid over eigenaarschap en verantwoordelijkheid ontstaan. Ook dat moet vermeden worden. Om al deze redenen is het aan particulieren niet toegelaten om onder de openbare ruimte te bouwen of technische installaties aan te brengen. Dit zou zorgen voor vertragingen, dure omleidingen van riolering, verzakkingen e.d.
Ondergrondse uitsprongen onder voortuinen worden zoveel mogelijk vermeden. De voortuin is een bouwvrije zone waar verhardingen en constructies niet wenselijk zijn omwille van de beeldkwaliteit en de infiltratie van regenwater.
Uitsprongen kunnen een impact hebben op de rechtlijnigheid van het straatbeeld. Ze moeten daarom in harmonie met het straatbeeld ingepast worden. Uitsprongen mogen de lichttoetreding tot het buurperceel niet hinderen. Daarom dient er voldoende afstand gehouden te worden ten opzichte van het buurperceel.
Uitsprongen zijn niet bedoeld om het bouwvolume wezenlijk te vergroten. Daarom worden de uitsprongen in grootte beperkt.
Alleenstaande gesloten constructies zijn niet wenselijk. Ze vormen namelijk donkere hoeken die sluikstort, vandalisme en criminaliteit aantrekken. Deze situaties moeten vermeden worden.
Uitsprongen aan de voorgevel worden in deze bouwcode streng gereglementeerd (zie §3, §4, §5). Gesloten horecaconstructies vormen hierop een uitzondering maar ook deze constructies kunnen niet zomaar overal toegestaan worden. De openbare ruimte is beperkt in oppervlakte en daar moeten we dan ook zorgvuldig mee omgaan. Daarom situeren deze constructies zich bij voorkeur op pleinen of aan grote onbebouwde ruimten, zodat er voldoende publieke ruimte overblijft. Te allen tijden moet de doorstroming (auto’s, fietsen en voetgangers) van het openbaar domein gegarandeerd blijven. Een voetgangersvrije circulatieruimte van 1,80 meter, conform het draaiboek openbaar domein van de stad Antwerpen, geldt hierbij als minimum. Uiteraard moet er ook steeds rekening worden gehouden met de vereisten van de hulpdiensten inzake bereikbaarheid en doorstroming. De bouwdiepte wordt beperkt tot 4 meter. Deze diepte garandeert een functionele binnenruimte, zonder dat dit het openbaar domein te veel hypothekeert. Afwijkingen op deze diepte zijn uitzonderlijk mogelijk. Zo is het denkbaar dat bij constructies met een erg grote perceelsbreedte (meer dan 20 meter) een grotere bouwdiepte wordt toegestaan omdat deze constructie de plaats heeft om op een vloeiende manier in en uit het gevelvlak te komen.
De vergunningsduur van een gesloten constructie wordt beperkt tot 9 jaar (zie 6°). Omwille van deze beperkte vergunningsduur maar nog meer met het oog op een heraanleg aan de bestrating en/of werken aan nutsleidingen, is het noodzakelijk dat deze constructies op een relatief eenvoudige manier afbreekbaar zijn zodat de openbare nutsvoorzieningen steeds bereikbaar zijn. Funderingen in het openbaar domein zijn dan ook verboden. Omwille van het “tijdelijke” karakter van de constructie is het eveneens niet wenselijk dat de gevel van het “permanent” vergunde gebouw waartegen deze constructie wordt aangebouwd onherroepelijk wordt aangetast doordat deze wordt opengebroken door constructieve wijzigingen. Aanpassingen aan het schrijnwerk moeten ook steeds afgewogen worden tegenover de erfgoedwaarde.
Conform 2° is deze constructie steeds ondergeschikt aan het hoofdgebouw. De bouwhoogte ervan wordt daarom strikt beperkt tot één bouwlaag met een beperkt bouwhoogte van 5 meter.
Gesloten horeca-terrassen vormen een wezenlijk onderdeel van de stad als levend en bruisend geheel. Het gedoogbeleid van de voorbije decennia steekt immers vaak schril af ten opzichte van het gevoerde handhavingsbeleid. Het is de wens regulerend op te treden waar het moet en te promoten waar het kan. Een onzeker investeringsklimaat leidt immers al te vaak tot verloedering en achteruitgang. Rechtszekerheid en eenvormigheid aanbieden leidt tot een verfraaiing en ontwikkelingskansen voor de horeca in brede zin. De stad wenst dergelijke, vaak illegale constructies te kaderen binnen een bredere visie voor de globale omgeving waarin deze constructie zich bevindt. Deze “globale beleidsvisie” moet aantonen dat gesloten horecaconstructies complementair en versterkend werken aan het openbaar domein. Ze wordt opgemaakt per strategische kern waar dergelijke constructies in de toekomst mogelijk zijn. Het is een visie die gedragen wordt door de betrokken stakeholders (district, bedrijfseenheden stadsontwikkeling en ondernemen en stadsmarketing, horeca-uitbaters, …) en adviesraden (GECORO, HOP, welstandscommissie,…). Voor bepaalde straten en pleinen kan een specifieke regeling worden uitgewerkt met betrekking tot zonering, diepte, uitzicht, inrichting, materialen e.d. van de constructies. Deze beleidsnota wordt opgesteld op vraag van het beleid of potentiële aanvragers van zo’n constructie en goedgekeurd door het college van burgemeester en schepenen. De vergunning voor een gesloten horecaconstructie wordt beperkt in tijd. Een investerings- en bijhorende afschrijvingstermijn van maximaal 9 jaar lijkt redelijk. Na 9 jaar kan een hernieuwing van de aanvraag overwogen worden. Deze termijn komt eveneens overeen met de gangbare duur van een handelshuurovereenkomst. De vergunningsaanvraag wordt voor advies voorgelegd aan brandweer, onroerend erfgoed (indien van toepassing), monumentenzorg (indien van toepassing), mobiliteit, openbaar domein en welstandscommissie. Een gesloten horecaconstructie dient aan dezelfde regelgeving te voldoen als de rest van de horecazaak. Deze adviezen worden in rekening genomen bij de vergunningsaanvraag. Samen met de toekenning van de vergunning wordt tevens een concessieovereenkomst opgemaakt tussen de eigenaar van het pand en de stad. Bestaande horecaconstructies kunnen behouden blijven indien ze zich binnen de 2 jaar na de inwerkingtreding van deze verordening regulariseren aan bovenstaande voorwaarden. Artikel 14 Insprongen en openingen aan voorgevels
Insprongen zijn onder andere nissen, entreeruimten of overdekte buitenruimten aan de woning. Deze insprongen mogen geen nadelige effecten hebben op het gebruik van de openbare ruimte. Voor bepaalde grotere projecten kan de voorgevel van de straatwand doorlopen naar een binnengebied. Dergelijke doorgangen worden niet als insprong of als opening beschouwd.
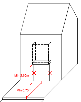
De minimale hoogte van 2,50 meter wordt ingegeven door enerzijds de voorgeschreven minimale plafondhoogte en het wellicht lagere niveau van het maaiveld, anderzijds de vereiste isolatie- en afwerkingstechnieken van de vloerplaat en de aantrekkelijkheid van de ruimte en continuïteit tussen binnen en buiten.
Deze regel heeft tot doel de veiligheid van de voetgangers op het openbaar domein te garanderen. Nooduitgangen die enkel in geval van effectieve nood opendraaien op het openbaar domein kunnen hierop een uitzondering vormen. Bij één enkele ingang/uitgang van collectieve gebouwen (kantoren, appartementen, winkels) is een teruggetrokken deur mogelijk, zodat opendraaien naar buiten veilig kan. Schuifdeuren als enige deur voldoen niet aan de normen gesteld door de brandweer, tenzij ze voorzien zijn van een paniekbeslag. Opendraaiende luiken mogen alleen geopend en gesloten worden langs de buitenzijde. Deze handeling kan gestimuleerd worden via de vormgeving ervan. Artikel 15 In- en uitsprongen aan daken In- en uitsprongen in hellende daken dienen op ten minste 0,60 meter van de perceelsgrens te worden ingeplant. De in- en uitsprongen mogen de kroonlijst niet onderbreken, tenzij de harmonie van het straatbeeld dit toelaat. De afmetingen van de in- en uitsprongen moeten in verhouding zijn tot de oppervlakte van het dakvlak en de schuine dakvorm dient duidelijk herkenbaar te blijven. In het dakvlak van het basisvolume kunnen een aantal in- en uitsprongen gemaakt worden, zoals dakterrassen of dakkapellen. Dakuitsprongen worden in omvang beperkt om de vorm van het schuine dak niet te veel aan te tasten. Ze moeten op ten minste 0,60 meter van de perceelgrens gelegen zijn om de impact op bezonning, lichttoetreding en privacy op de aanpalende percelen te beperken.
Artikel 16 Technische uitsprongen
De recente evoluties van de woonuitrusting brengen dikwijls technische installaties, zoals machinekamers van liften, klimaatbeheersingssystemen, schotelantennes en dergelijk met zich mee die zowel voor visuele hinder voor het straatbeeld als voor reuk- of lawaaihinder voor de omwonenden kunnen zorgen. De bouwcode wil er in eerste instantie voor zorgen dat dergelijke technische constructies op daken zo weinig mogelijk opvallen door ze te groeperen in een technische zone op het dak. De bouwcode beperkt tevens de afmetingen van dergelijke technische zones op het dak zodat de impact van deze zone beperkt blijft.
Klimaatbeheersingssystemen storen in het straatbeeld en kunnen veel geluids- en visuele overlast geven voor omwonenden. Dergelijke toestellen mogen daarom niet in het zicht vanaf de openbare ruimte geplaatst worden en moeten voldoen aan geluidsnormen om de naburige bewoners te beschermen. Klimaatbeheersingssystemen zijn technische installaties. Zij moeten dan ook bijkomend voldoen aan de regels betreffende technische zones.
Het plaatsen van schotelantennes heeft een grote, negatieve impact op de beeldkwaliteit van een straat of een binnengebied vooral als er veel schotelantennes geplaatst worden op zeer zichtbare plekken. In alle andere gevallen wenst de stad omwille van hun visuele impact het plaatsen van schotelantennes te verbieden, tenzij deze geplaatst worden binnen het feitelijke bouwvolume. Voor bestaande schotelantennes geldt uiteraard het gemeen recht. De nieuwe digitale evolutie (Wi-Fi, e.d.) zorgt daarenboven dat de nood aan schotelantennes vermindert.
Afdeling 3 Groen karakter Artikel 17 Behoud en heraanplanting
Artikel 18 Groenbescherming bij de uitvoering van werken
De stad is een in hoofdzaak bebouwde en verharde ruimte. Toch komen er nog op veel plaatsen groenelementen voor. Deze hebben in een verstedelijkte omgeving zeker evenveel waarde als in de open ruimte en verdienen dus ook in de stad Antwerpen de nodige aandacht en eventueel zelfs bescherming. Alle waardevolle natuurlijke en/of culturele landschapselementen dienen daarom zoveel mogelijk behouden te blijven en eventueel zelfs bijkomend aangeplant te worden. Deze verhogen de leefkwaliteit en de ecologische waarde van de stad. Vaak zijn het ook overblijfselen van oudere landschappelijke structuren en hebben ze als herinnering aan voormalige structuren een belangrijke historische waarde. Hoogstammige bomen in het bijzonder, zijn uit oogpunt van zowel leefkwaliteit als ecologie van groot belang in een stad. Het is belangrijk het aantal hoogstammige bomen op peil te houden, omdat deze erg moeilijk vervangbaar zijn. De bouwcode gaat daarom uit van een maximaal behoud van landschappelijke elementen zoals grote solitaire bomen, boomrijen, klein landschapselementen, hagen, holle wegen, Naast het behoud kan de bouwcode ook beplantingsvoorwaarden opleggen. De beplantingsvoorwaarden hebben het herstel van bestaande landschappelijke elementen of het verwezenlijken van een kwaliteitsvolle terreinaanleg tot doel. Uit oogpunt van zowel leefkwaliteit als ecologie, is het belangrijk om de hoeveelheid beplanting op peil te houden en om nieuwe aanplantingen bij voorkeur met inheems of autochtoon plantenmateriaal uit te voeren.
Afdeling 4 Perceelsafsluitingen Artikel 19 Tuinafsluitingen
De afscheiding tussen twee private percelen dient duidelijk en kwalitatief te zijn. Een te lage afsluiting biedt aan beide percelen geen privacy. Een te hoge afsluiting zorgt voor een beperking van de bezonning van de tuinen. De bouwcode legt de maximale hoogte vast en in welke mate de materialen zowel in de afscheiding met het openbaar domein en met de voortuin, als de afscheiding tussen twee tuinen moet worden uitgevoerd. De afsluiting moet gebeuren in kwalitatief materiaal en in harmonie zijn met de overige tuinafsluitingen. Bij voorkeur zijn deze afsluitingen in levende hagen. Artikel 20 Afsluitingen op onbebouwde percelen
Zeker in het geval van een onbebouwde, braakliggende kavel dient het perceel goed afgesloten te worden. Aangezien op onbebouwde percelen geen bewoning of gebruik aanwezig is, ontbreekt elke controle op onbedoeld gebruik van het perceel. Daarom wordt verplicht om deze percelen te voorzien van een goede afsluiting die de reinheid van het perceel en de aanpalende openbare ruimte waarborgt. Daarnaast zorgt deze afsluiting voor een grotere veiligheid van de gebruikers van de aanpalende percelen doordat de tuinzone van het bouwblok niet meer direct toegankelijk is. Deze argumenten zijn niet van toepassing indien het perceel, in afwachting tot het bebouwd wordt een publiek toegankelijke groene invulling krijgt zoals stadslandbouw, een speelpleintje, moestuintjes,… Een kwalitatieve invulling ervan kan een grote meerwaarde betekenen voor de buurt. De bouwcode wilt dit dan ook mogelijk maken door de verplichting tot afsluiting in deze gevallen te laten vallen.
Hoofdstuk 3 Gebruikskenmerken van gebouwen en constructies Afdeling 1 Minimale kwaliteitseisen voor de binnenruimten Artikel 21 Minimale hoogte van ruimten
Een ruimte die langdurig gebruikt wordt als woon- of werkplaats dient voor haar gebruikers en bewoners voldoende kwalitatief te zijn. Een voldoende vrije hoogte voor verblijfsruimten en andere ruimten garandeert dat elk vertrek over een minimale verblijfskwaliteit beschikt. Bovendien zijn gebouwen met een grotere vrije hoogte meer flexibel naar toekomstige aanpassing, hergebruik of functiewijziging. De functionele levensduur van gebouwen met hoge verdiepingen is langer en daarom is het duurzaam om zo te bouwen. De bouwcode legt een minimum vrije hoogte op van vloer tot plafond van 2,60 meter voor verblijfsruimten en van 2,20 meter voor andere ruimten. Artikel 22 Minimale oppervlakte van een zelfstandige woning
Zowel de minimale hoogte als de minimale oppervlakte van een zelfstandige woning is essentieel om te garanderen dat er op een gezonde en kwalitatieve manier gewoond kan worden. De bouwcode legt een minimumoppervlakte van een zelfstandige woning vast op 35 vierkante meter. Dit is de minimummaat (geen streefwaarde) voor de kleinste woongelegenheid, bv. een studio. Afhankelijk van de verdiepingsoppervlakte, de verhouding ervan en in het geval van bestaande gebouwen, de gebouwstructuur, kan een hogere minimale vloeroppervlakte aanbevolen worden. Woonruimten en slaapkamers moeten voldoende groot zijn om bruikbaar te zijn. De bouwcode legt geen minimale oppervlaktematen op voor de verblijfsruimten. Als vuistregel geldt dat de oppervlaktematen van de VMSW als absolute minimumoppervlaktematen gelden. Het is tevens van belang dat de oppervlakte van de verblijfsruimten in een goede verhouding tot elkaar en tot het aantal slaapkamers staan. Artikel 23 Opdelen van een woning Het opdelen van een woning met een buitenruimte van meer dan 15 vierkante meter in meerdere woongelegenheden is principieel niet toegelaten, tenzij na opdeling tenminste één woongelegenheid met een netto-vloeroppervlakte van minstens 100 vierkante meter met een aansluitende buitenruimte van minstens 15 vierkante meter behouden blijft. Dit artikel is ook van toepassing bij het samenvoegen van meerdere percelen of bij uitbreiding van het bouwvolume.
Wonen in de stad is belangrijk. Een aanbod aan verschillende soorten woningen vormt de beste garantie dat er voor iedereen wel een geschikte woning te vinden is. Om ook voor gezinnen met kinderen een woonaanbod te kunnen garanderen, moet het bestaande aanbod aan grote woningen maximaal behouden blijven. Grote eengezinswoningen zijn woningen met een oppervlakte van meer dan 100 vierkante meter en met een (potentiële) buitenruimte van meer dan 15 vierkante meter. Zij worden beschermd tegen willekeurige opsplitsing tot kleinere entiteiten, samenvoeging tot een groter ontwikkelingsproject of omvorming naar andere functies. Niet de woning op zich, maar de woonfunctie met koppeling aan de huisvestingsoppervlakte, wordt dus beschermd. Dit artikel doet geen uitspraken in verband met zorgwoningen. Daarvoor is een meldingsregeling uitgewerkt op Vlaams niveau. Er is slechts één zorgwoning per bestaande woning mogelijk. Een woning is een zorgwoning als voldaan is aan volgende voorwaarden:
Artikel 24 Minimale lichtinval en minimale luchttoevoer
Licht en lucht worden gezien als basiskwaliteiten voor elke ruimte waar mensen langer verblijven. Voldoende daglichttoetreding, gecombineerd met uitzicht en voldoende ventilatie van de woning met verse lucht zijn basisvoorwaarden voor de gezondheid van de bewoners en voor een minimum verblijfskwaliteit van elke woning. De bouwcode legt daarom duidelijke randvoorwaarden op voor de minimale lichttoetreding en voor verblijfsruimten. Bij de lichttoetreding is niet alleen daglichttoetreding belangrijk, maar ook het zicht. Louter dakkoepels voorzien is derhalve niet toegelaten. Voor de belevingswaarde van elke verblijfsruimte en keuken, moet een daglichtopening doorzichtig zijn, zodat er effectief naar buiten kan gekeken worden. Lichten en zichten dienen oordeelkundig geplaatst te worden, rekening houdende met bezonning, privacy, visueel contact met de omgeving en de interne planschikking.
Elke verblijfsruimte en keuken moet minstens één te openen gevel- of dakdeel hebben, waardoor verse lucht in het vertrek kan. Maar de verluchting mag ook via een ventilatiesysteem gebeuren zoals dat bij passiefbouw gewenst is en conform de EPB-regelgeving. Een opengaand raam is echter niet in conflict met de passiefhuisstandaard en geeft meer mogelijkheid tot zomerventilatie. Ook bij hoogbouw zal de voorkeur eerder gaan naar een ventilatiesysteem in plaats van het openen van raam- of dakdelen, omwille van ondermeer de veiligheid en windturbulentie. Hiervoor kan dan op gemotiveerd verzoek een afwijking bekomen worden.
Artikel 25 Toegankelijkheid van de functie
De toegang tot de circulatieruimte en de circulatieruimte op zich moeten kwalitatief zijn. Het is niet de bedoeling dat de woning slechts via een andere woning of via gemeenschappelijke ruimten zoals garages, washokken, bergingen etc. toegankelijk is. Dit wordt beschouwd als nadelig voor de leefkwaliteit van een woning en is daarom niet toegestaan. Gedeelde circulatieruimten zijn schadelijk voor de privacy van bewoners. Enkel de gemeenschappelijke circulatie die dient om tot aan de woning te komen, mag gedeeld worden met andere woningen of functies. De circulatie intern in de woning dient enkel voor één woning.
Vanuit het oogpunt van de woonkwaliteit is het nodig dat elke woning een eigen toegang heeft vanaf de straat of vanaf een gemeenschappelijke circulatieruimte zoals een binnenstraat, een patio, een binnentuin, een trappenhal of gang. Daardoor is elke woning autonoom bereikbaar en staat de woning voor haar functioneren los van elke andere woning of andere functies. Eén van de hoofdoorzaken van leegstand boven handelszaken is het gebrek aan een afzonderlijke toegang naar de bovenliggende verdiepingen. Om zoveel mogelijk winkelruimte te kunnen benutten, zijn er immers geen afzonderlijke toegangen naar bovenliggende verdiepingen opgenomen in de winkelruimte. Dat zorgt ervoor dat de woningen boven de winkels praktisch onverhuurbaar worden, met leegstand als gevolg. Het bevorderen van wonen boven winkels begint bij de toegankelijkheid van de bovenliggende verdiepingen. De bouwcode legt daarom op dat elke woning een eigen toegang dient te hebben. Voor percelen met een bebouwde oppervlakte groter of gelijk aan 80 vierkante meter mag het geen probleem zijn deze te realiseren. Bij percelen met een kleinere oppervlakte, is een afzonderlijke toegang niet verplicht. Hiervoor kan uitzonderlijk ook een toegang via de handelsruimte worden toegestaan. Toch moeten ook hier de bovenliggende verdiepingen minstens ontsloten worden door middel van een vaste trap.
Uitschuifbare trappen bieden onvoldoende wooncomfort. Ook indien liftinstallaties voorzien worden dient, met uitzondering van eengezinswoningen, omwille van de (brand)evacuatie steeds een vaste trap voorzien te worden.
Artikel 26 Afvalverzameling
Vanuit het oogpunt van comfort en hygiëne voor bewoners en gebruikers van een gebouw waar meerdere gezinnen en/of functies samen gebruik van maken, is het belangrijk dat men over een eigen, afgescheiden en voldoende verluchte afvalberging beschikt. Dit vergemakkelijkt bovendien de huisvuilophaling en voorkomt grote opstapelingen van vuilniszakken op het openbaar domein. De afvalberging moet voldoende groot en kwalitatief zijn.
Afdeling 2 Minimale kwaliteitseisen van de buitenruimten Artikel 27 Open ruimte
Open binnengebieden zijn zeer belangrijk voor de woon- en leefkwaliteit binnen een bouwblok en voor de ecologische kwaliteiten van een wijk. Open binnengebieden brengen niet enkel licht en lucht in de aangrenzende bebouwing, zij zorgen ook voor speelruimte, voor infiltratiemogelijkheden van het regenwater en voor een afkoeling van de stadslucht in tegenstelling tot bebouwde oppervlakten en wegen. Daarom stelt de bouwcode voorop dat een deel van het perceel, minstens 20%, achteraan de bebouwing open en onbebouwd blijft. De formule om dit te berekenen is: “oppervlakte tuin / (oppervlakte perceel – oppervlakte voortuin) > 20%” De gevraagde 20% open ruimte per perceel geldt als een strikt minimum. In vele gevallen zal een groter percentage wenselijk en haalbaar zijn. Bij nieuwbouw, functiewijziging of volume-uitbreiding dient 20% van het perceel open en onbebouwd te zijn, zelfs al is deze in de bestaande toestand wel bebouwd. In specifieke gevallen is het niet mogelijk om aan deze voorwaarde te voldoen, zoals bij kleinere hoekpercelen, minder dan 20 meter diep aan beide straatkanten. Een afwijkingsmogelijkheid via Artikel 3 behoort tot de mogelijkheden. Dit artikel is zoals vermeld van toepassing bij functiewijzigingen. Afwijkingen hierop zijn mogelijk indien duidelijk kan aangetoond worden dat met een kleinere open ruimte dan de voorgeschreven 20% een grotere maatschappelijke meerwaarde en herwaardering wordt bereikt.
Aangezien de stad al zeer dicht bebouwd is, dienen de onbebouwde delen van een perceel, de tuin, hun groen karakter zo veel mogelijk te behouden. De bouwcode ondersteunt de zo natuurlijk mogelijke inrichting van de niet bebouwde delen van een perceel. Dit heeft immers verschillende voordelen. Een groene tuin heeft een aangenamer uitzicht in de straat of binnen in een bouwblok en bevordert daarom de leefkwaliteit van bewoners en omwonenden. Door de tuin niet te bebouwen of te verharden blijft een deel beschikbaar voor natuurlijke infiltratie van regenwater in de bodem, zodat de openbare riolering minder belast wordt en het risico op problemen met de waterhuishouding vermindert. Bovendien is elke tuin, hoe klein ook een natuurlijke oase in de bebouwing voor vogels, insecten,… en zorgt ze ervoor dat de opwarming van de stedelijke omgeving licht verminderd wordt.
De bouwcode beschouwt de voortuin als een volwaardig deel van de tuin omwille van een aantal redenen. Een groene voortuin heeft een aangenamer uitzicht in de straat of binnen in een bouwblok en bevordert daarom de leefkwaliteit van bewoners en omwonenden. Door de tuin niet te bebouwen of te verharden blijft een deel beschikbaar voor natuurlijke infiltratie van regenwater in de bodem, zodat de openbare riolering minder belast wordt en het risico op problemen met de waterhuishouding vermindert. Bovendien is elke tuin, hoe klein ook een natuurlijke oase in de bebouwing voor vogels, insecten,… en zorgt ze ervoor dat de opwarming van de stedelijke omgeving licht verminderd wordt. Uiteraard is het dan ook niet toegelaten dat de voortuinstrook gebruikt of ingericht wordt voor o.a. het opslaan van gebruikte of afgedankte voertuigen, van allerhande materialen of afval, het plaatsen van één of meer verplaatsbare inrichtingen die voor bewoning kunnen worden gebruikt of het oprichten van bergplaatsen en andere constructies. Voor historisch gegroeide handelszaken of industriële panden zal in functie van het referentiebeeld bepaald worden in welke mate de voortuinstrook “verhard” al dan niet “vergroend” moet worden. Artikel 28 Minimale oppervlakte buitenruimte
Terwijl Artikel 27 “Open ruimte” regels vastlegt over het percentage onbebouwde ruimte per perceel, doet dit artikel uitspraken over de minimaal te voorziene buitenruimte van een woning. Deze kan zich dus ook op de hogergelegen verdiepingen situeren. Het verplichten van buitenruimten voor elke woongelegenheid, dus ook na het opdelen van woningen, is erop gericht om het wonen in de stad aantrekkelijker te maken. De buitenruimten dienen wel voldoende groot te zijn om effectief als bruikbare kwalitatieve buitenruimte beschouwd te kunnen worden. Daarom wordt er een minimale oppervlakte van 4 vierkante meter opgelegd voor een zelfstandige woning met maximaal 1 slaapkamer. Daarenboven geldt dat, hoe groter de woning is, hoe meer buitenruimte moet worden voorzien. Het aantal slaapkamers geeft een goede representatie van het potentieel aantal bewoners. Daarom zal de minimale oppervlakte van de buitenruimte met 2 vierkante meter verhoogd worden, per bijkomende slaapkamer, te tellen vanaf de tweede slaapkamer.
Elke buitenruimte dient op een volwaardige manier toegankelijk te zijn. Dit garandeert dat deze ruimte ook functioneel en toegankelijk is. Hoofdstuk 4 Mobiliteit
Artikel 29 Fietsstalplaatsen en fietsparkeerplaatsen
Indien een stedenbouwkundige vergunning wordt aangevraagd voor enkel een vermeerdering van het aantal woongelegenheden dienen enkel de bijkomende woongelegenheden aan de normen van onderdeel 2° te voldoen. Bij een renovatie en/of bij een daling van het aantal woongelegenheden moeten dus geen fietsstal- of fietsparkeerplaatsen bijkomend voorzien worden. Toch wensen we het voorzien van stal- en parkeerplaatsen bij woningen zoveel als mogelijk te stimuleren.
Indien een stedenbouwkundige vergunning wordt aangevraagd voor enkel een volume-uitbreiding en/of functiewijziging naar een andere functie dan wonen dient enkel de oppervlakte die wordt toegevoegd of van functie wordt gewijzigd in rekening te worden gebracht voor de berekening van het aantal fietsstalplaatsen en fietsparkeerplaatsen.
(*BVO = bruto-vloeroppervlakte) Er wordt afgerond naar beneden indien het cijfer na de komma lager is dan 0,50. Er wordt afgerond naar boven indien het cijfer na de komma groter of gelijk is aan 0,50. Fietsen moeten op een kwalitatieve manier geplaatst kunnen worden. Om voldoende ruimte voor het parkeren en stallen van fietsen te garanderen legt de bouwcode normen op die afhankelijk zijn van de functie van het gebouw. Voor wonen wordt gerekend met één fiets per bewoner, voor werknemers en bezoekers van bedrijven, kantoren, diensten, horeca, … met minimaal één fietser op drie gebruikers. Voor basisscholen wordt gerekend met minimaal één op drie scholieren, voor secundair en hoger onderwijs met minimaal één op twee scholieren dat met de fiets komt. Bij hoger onderwijs moet voor het bepalen van het gewenste aantal stalplaatsen rekening gehouden worden met het aanwezigheidspercentage. Als vuistregel om dit aantal te bepalen wordt de helft van het maximaal aantal aanwezige leerlingen gehanteerd. Voor kantoren en bedrijven geldt een verschillende parkeernorm omwille van de gemiddelde bezettingsgraad van deze functies. Met de functie ‘diensten’ wordt vooral de loketfunctie bedoeld van een publieke of private instelling (districtshuis, bank, postkantoor,…) De plaatsen die voorzien worden voor het kleuteronderwijs zijn vooral bedoeld voor het onderwijzend personeel en minder in functie van leerlingen. Voor een aantal functies wordt in bovenstaande tabel geen vaste parkeernorm opgelegd. De reden daarvan is dat de parkeerbehoefte voor deze functies erg verschillend is, afhankelijk van het specifieke programma, de ligging, etc. Als vuistregel om het aantal fietsstalplaatsen en fietsparkeerplaatsen te berekenen wordt er gerekend met 0,55 fietsstalplaatsen per 100 vierkante meter BVO. Dit artikel is zoals vermeld van toepassing bij functiewijzigingen. Afwijkingen hierop zijn mogelijk indien duidelijk kan aangetoond worden dat door minder fietsstalplaatsen en/of -parkeerplaatsen een grotere maatschappelijke meerwaarde en herwaardering wordt bereikt.
Op basis van een toelichtende nota met voldoende elementen naar mobiliteit is een afwijking van het vooropgestelde aantal mogelijk. Het kader voor de mobiliteitselementen van de toelichtende nota wordt gevormd door het richtlijnenboek mobiliteitseffectenstudies van de Vlaamse overheid en het standaardsjabloon mobiliteitstoets. Beiden kunnen teruggevonden worden op: http://www.mobielvlaanderen.be/vademecums/mober.php In een mobiliteitstoets worden naast het parkeren ook andere facetten van mobiliteit beschreven. Zo denken we aan het gebruik van het openbaar vervoer, autodelen, fietsdelen, etc.
De gewenste dimensies zijn afhankelijk van het stallingssysteem dat gehanteerd wordt. We onderscheiden drie courante manieren waarop fietsenrekken geplaatst worden: type 1: loodrecht; type 2: onder hoek van 45°; type 3: onder hoek van 60°. Elk type heeft zijn eigen dimensies. Indien men andere dan onderstaande basisprincipes wenst toe te passen, bijvoorbeeld een zelfrijzend ophangsysteem, dient men de nodige technische details toe te voegen aan de plannen. Onderstaande maten zijn richtinggevend om het gebruik van privatieve fietsenstallingen op een voldoende hoog gebruiksniveau toe te laten. De oppervlaktenorm van 1,5 vierkante meter is een absoluut minimum. Het is dan ook mogelijk dat bepaalde fietstypes niet passen binnen deze maatvoering. Het is de verantwoordelijkheid van de aanvrager om een juiste inschatting te maken welke maatvoering hij wenst te gebruiken om zo de opgelegde norm te realiseren Voor fietsparkeerplaatsen zijn onderstaande dimensies krap om het intensieve gebruik vlot te laten verlopen. Het is aan te raden om voor deze plaatsen ruimere stallingssystemen en circulatieruimtes te voorzien, afgestemd op de bijhorende functie. Zo is het bijvoorbeeld raadzaam dat een stalling aan een supermarkt moet toelaten dat fietsen met fietstassen probleemloos moeten kunnen parkeren. De gemiddelde fietslengte is vastgelegd op 1,70 meter. Uit onderzoek blijkt dat een fietslengte naargelang het type kan schommelen tussen 1,60 meter en 2 meter. Een grotere ruimte (breder en langer) is aangewezen om ook andere types fiets, waaronder bakfietsen, te kunnen stallen. Mogelijks kan geopteerd worden om een bepaalde verdeling tussen ruimere en standaard stal- en/of parkeersystemen toe te passen in de ruimte. Circulatieruimtes (zie kolom D in onderstaande tabellen) kunnen in bepaalde situaties dubbel gebruikt worden waardoor een noemenswaardig kleiner ruimtebeslag tot stand komt. Dit is het geval bij een circulatiegang met aan weerskanten en rij fietsen. Van de uitrijlengtes “D” kan afgeweken worden indien de fietsenstalling of parkeerplaats rechtstreeks uitgeeft op het openbaar domein. Basisvereiste is dat men comfortabel en veilig de fiets uit de stalling kan nemen en men minimaal maat “D” voorhanden heeft.
Type 1: Loodrecht
Bij een dubbel systeem/dubbele rij worden de fietsen kop op kop geplaatst alsook de voorwielen aan beide rijen op één rij geplaats. Type 2: Hoek van 45°
Type 3: Hoek van 60°
Het kader van de fiets moet kunnen worden vastgelegd aan een vast object. Dit kan zowel onder de vorm van een fietsenrek, een fietsbeugel,… Het technisch detail dat bij een afwijkend stallingssysteem toegevoegd dient te worden geeft minimaal de dimensies weer die het systeem op zich heelft, alsook de combinatie met een gestalde fiets. Zo kan de ruimte-inname, alsook de noodzakelijke gebruiksruimte afgeleid worden. Specificaties naar materialisatie, kleur e.d. zijn niet aan de orde.
Tenminste voor de stalplaatsen dienen deze voorzien te worden in een aparte, overdekte en afgesloten ruimte. Indien bij een eengezinswoning kan aangetoond worden dat de fietsen op een andere, kwalitatieve manier dan in een aparte en afgesloten ruimte gestald kunnen worden moet deze niet als een aparte ruimte voorzien worden. We wensen het gebruik van de fietsenstalling te faciliteren. Hiervoor is het onder meer van belang dat de fietsenstalling voldoet aan een aantal randvoorwaarden die een hoog gebruik garanderen. Indien de fysieke ruimte het toelaat wordt de fietsenstalplaats bij voorkeur voorzien op het gelijkvloers, nabij de toegangen. Deze kan opgedeeld worden in een aantal kleinere eenheden per gebouw, zodoende deze voor iedereen eenvoudig te bereiken is. De fietsenstalling kan bijdragen tot een levendige plint door een raam/afsluitbare opening aan de straatkant of aan de ingang te voorzien. Zicht vanop de straat naar de berging is dus noodzakelijk inzake de levendige plint.
Vanaf 10 ondergrondse plaatsen wordt als vuistregel om een “goed toegankelijke” ondergrondse fietsstalplaats te definiëren volgende hellingspercentages gebruikt:
Naast de ondergrondse fietsenstalplaatsen is het aangewezen dat er enkele plaatsen op het gelijkvloers voorzien worden voor minder mobiele personen. De breedte van de trap staat in verhouding met de grootte van de fietsbergplaats. De in- en uitrit voor fietsen zijn best fysiek gescheiden van de in- en uitrit voor auto’s. Dit om bij hoge intensiteiten geen verkeersonveilige situaties te veroorzaken. De stal- en parkeerplaatsen dienen tenslotte ook goed bereikt te worden van en naar de openbare weg.
Het voorzien van elektrische oplaadpunten houdt minimaal het voorzien in van stopcontacten, maar niet noodzakelijk van vrijstaande laadpalen. Bij grootschalige projecten, middelbare scholen en hogescholen is het aangewezen om ook een diversiteit aan fietsbergplaatsen te voorzien zodat ook elektrische fietsen, scoots, bakfietsen en vervoersmiddelen voor mindervaliden zoals scooters en driewielers een plaats vinden.
Artikel 30 Autostalplaatsen en autoparkeerplaatsen
Bij een vermindering van het aantal woongelegenheden genereert men een mobiliteitsverlagend profiel en zijn dus autostal- en/of autoparkeerplaatsen niet nodig. Bestaande garagepoorten in gebouwen met een gevelbreedte van minder dan 8 meter kunnen bij renovatie behouden blijven. In kleine woonprojecten (woongebouw met maximaal 5 wooneenheden) is het echter ook toegelaten om een garage met beperkte bergruimte (voor 1 wagen) om te vormen tot een andere functie dan parkeren, uiteraard conform de geldende regels hiervoor.
(*BVO = bruto-vloeroppervlakte) Er wordt afgerond naar beneden indien het cijfer na de komma lager is dan 0,50. Er wordt afgerond naar boven indien het cijfer na de komma groter of gelijk is aan 0,50. De norm per functie verschilt al naargelang de ligging in de stad. Er wordt een onderscheid gemaakt tussen centrumgebied, centrumschil en overig gebied. De gebiedsafbakening en bijhorende motivering ervan is terug te vinden in bijlage van deze bouwcode. Ook de afbakening voor “stationsomgeving” is in deze bijlage terug te vinden. Dit is van belang voor het berekenen van de norm bij kantoren. Voor wonen wordt aan de hand van een ruimtelijke maat een onderscheid gemaakt tussen woningen groter dan 90m², woningen tussen 60 en 90 m² en woningen kleiner dan 60 m². Ook dit onderscheid is gebaseerd op CROW. De bouwcode maakt eveneens onderscheid tussen woningen uit het reguliere woonaanbod en sociale woningen. Uit onderzoek blijkt dat bewoners van sociale woningen een lager autobezit kennen dan deze uit de reguliere woningmarkt. Daarnaast is het autobezit eveneens afhankelijk of het een eigenaar dan wel een huurder van een sociale woning betreft. Voor sociale woningbouw kan er in- of uitpandig geparkeerd worden. Het bezoekersparkeren kan op het openbaar domein voorzien worden, indien de parkeerdruk in de wijk beperkt is. Waar er door ruimtegebrek geen kwalitatieve groenvoorziening kan gerealiseerd worden, dient er ondergronds geparkeerd te worden. Er dient steeds gestreefd te worden naar 0,9 parkeerplaatsen per huurwoning. De norm voor crèches verschilt al naargelang het een nieuwbouw, dan wel een functiewijziging betreft. Bij een nieuwbouw dient maximaal bovenstaande normen nagestreefd te worden. Bij functiewijziging moet er maximaal gestreefd worden naar een oplossing die het op- en afhaalverkeer efficiënt kan absorberen, rekening houdend met de lokale toestand en met de grootte van het kinderopvanginitiatief. Indien het perceel voldoende groot is om ook deels of geheel aan de parkeernorm te voldoen, moet dit ook daadwerkelijk voorzien worden (uiteraard zonder kwalitatieve buitenruimte of andere voor de functie in te nemen of dermate te hypothekeren, een goed evenwicht dient bekomen te worden), Men kan daarbij bijvoorbeeld minimaal denken aan een afzet- en afhaalzone op het private terrein van het initiatief bij functiewijziging. Bij de kleinere kinderdagverblijven in het bestaande woonweefsel (vaak rijwoningen) kan het zeer moeilijk zijn om te voldoen aan de parkeernormen. Gelet op het feit dat het bezoekerspercentage veel hoger licht dan de eigenlijke parkeerbehoefte van de functie, is het aangewezen om eerder op eigen terrein een afzetplaats te voorzien, dan langdurige parkeerplaatsen. Dit aangezien kinderen afzetten gepaard gaat met een kortstondige doch noodzakelijke parkeertijd. Dit weerspiegelt correct het verschil tussen de eerder grote kinderdagverblijven die nieuw gebouwd worden en die wel degelijk over voldoende parkeerplaatsen en een afzet- en ophaalzone moeten beschikken om zowel hun personeel en het ouders te kunnen opvangen. Er kan dus naargelang de context (perceel en omgeving) beroep gedaan worden op de afwijkingsregel mits uitvoerige motivering en bespreking met de stedelijke diensten Het aantal type supermarkten wordt in de bouwcode ten opzicht van de CROW-normen gereduceerd tot drie. Dit wordt bepaald op basis van de vloeroppervlakte. Een kleine winkel trekt eerder buurtbewoners aan, terwijl een grotere winkel klanten aantrekt vanuit een groter gebied. Bij grotere complexen is het aangewezen een duidelijk onderscheid te maken in de aanleg van parkeerplaatsen en stallingsplaatsen. Elke doelgroep heeft zijn specifieke eisen naar gebruik. Zo dienen parkeerplaatsen voor bezoekers liefst zo vlot mogelijk bereikbaar te zijn.
De stad werkt momenteel een regeling uit die ontwikkelingen zal toelaten om autostaan- en autoparkeerplaatsen zoals voorgeschreven in de tabel, geheel of gedeeltelijk, te kunnen compenseren door bijvoorbeeld een geldelijke som indien deze autostaan- en autoparkeerplaatsen niet gerealiseerd worden of niet kunnen gerealiseerd worden. Aangezien er een grote diversiteit aan ontwikkelingen is, zal deze regeling aangeven in welke mate er gebruik zal gemaakt kunnen worden van bijvoorbeeld de geldelijke vergoeding in plaats van de concrete fysieke realisatie van autostaan- en autoparkeerplaatsen. Het doel is om zo ontwikkelingen die niet zelfvoorzienend kunnen zijn hun deel te laten bijdragen aan projecten die gefinancierd zullen worden door bijvoorbeeld een parkeerfonds. De gelden worden dan aangewend om mobiliteitsingrepen te doen.
Op basis van een toelichtende nota met voldoende elementen naar mobiliteit is een afwijking van het vooropgestelde aantal mogelijk omwille van volgende redenen:
Grootschalige projecten: Met grootschalige projecten wordt bedoeld:
Bij grootschalige projecten is bijkomend onderzoek naar de parkeernoodzaak en verkeers(over)last noodzakelijk. We wensen hierbij steeds te streven naar een ruime waaier aan vervoersmogelijkheden die tezelfdertijd het zuinig ruimtegebruik faciliteren. Op basis van een toelichtende nota met voldoende elementen naar mobiliteit is een afwijking van het vooropgestelde aantal mogelijk.. Het kader voor de mobiliteitselementen van de toelichtende nota wordt gevormd door het richtlijnenboek mobiliteitseffectenstudies van de Vlaamse overheid en het standaardsjabloon mobiliteitstoets. Beiden kunnen teruggevonden worden op: http://www.mobielvlaanderen.be/vademecums/mober.php Het kader voor een mobiliteitstoets wordt gevormd door het richtlijnenboek mobiliteitseffectenstudies van de Vlaamse overheid en het standaardsjabloon mobiliteitstoets. Beiden kunnen teruggevonden worden op: http://www.mobielvlaanderen.be/vademecums/mober.php In een mobiliteitstoets worden naast het parkeren ook andere facetten van werknemers- en bezoekersverplaatsingen beschreven. Zo denken we aan het gebruik van het openbaar vervoer, autodelen, fietsdelen, etc. Deze mobiliteitstoets wordt bij voorkeur opgemaakt door mobiliteitsexperten. Bij grootschalige projecten dient het aantal vervoersmogelijkheden zeer divers te zijn maar moet er tevens zuinig ruimtegebruik nagestreefd worden. Dit kan onder meer door het gedeeld gebruik van parkeerplaatsen tussen functies die naar mobiliteitsvraag complementair zijn ( bv de parking van een grote winkel kan in de avond en tijdens het weekend gebruikt worden als buurtparking voor de omwonenden.) Bij de uitwerking van de plannen en het projectprogramma dient best dergelijk gebruik meegenomen te worden aangezien er bepaalde infrastructurele voorwaarden in acht moeten genomen worden (bijvoorbeeld aparte ingang vanuit het openbaar domein, toegangssysteem, enzovoort). De aanvrager dient hierover dan ook een visie uit te werken. Voor deze grootschalige projecten kan dan bijkomend afgeweken worden als:
Ten behoeve van schoolbesturen (leerplichtonderwijs) wordt een eenvoudig sjabloon of een eenvoudige rekentool beschikbaar gesteld via de stedelijke website, die toelaat op eenvoudige wijze de elementen te inventariseren die een afwijking op de toepasselijke parkeernorm onderbouwen.
Onderstaande maten zijn richtinggevend en beogen een goed gebruik van de autostallings- en/of autoparkeerplaatsen. Naargelang de intensiteit van gebruik en de functie waar deze stal- en/of parkeerplaatsen voor worden voorzien dient de aanvrager af te wegen of een grotere maatvoering wenselijk is. Gelet op de stedelijke context en de soms beperkte ruimte kan afgeweken worden van onderstaande maatvoering indien er op een voldoende wijze aangetoond wordt dat de parkeerplaatsen bruikbaar zijn. Dit gebeurt in overleg met de stedelijke administratie die het voorstel naar bruikbaarheid beoordeelt. Tevens kan de verhouding tussen rijweg (circulatieruimte) en stal- of parkeerplaats aangepast worden naargelang de ruimtelijke context. Bij een parking met een rijweg van 7,5 meter en haakse parkeervakken bijvoorbeeld zullen de parkeervakken minder breed moeten zijn dan bij de standaard rijweg van 6 meter breed. De aanvrager dient hierbij aan te tonen dat de draaicirkels tussen obstakels zoals steunpalen en andere mogelijk is. Onbruikbare (krappe) parkeerplaatsen moeten vermeden worden aangezien deze zowel suboptimaal ruimtegebruik betekent op de private kavels alsook een extra druk op het openbaar domein met zich meebrengt die net door parkeren op eigen terrein vermeden moet worden. Bij parkings met een hoge parkeerfrequentie zoals bij grootwarenhuizen, rotatieparkings, enzovoort, wordt aangeraden om voldoende aandacht te besteden aan een veilige circulatiestroom voor het voetgangersverkeer. Deze is bij voorkeur gescheiden van de circulatieruimte voor wagens en minstens voorzien van een duidelijke markeringen en signalisatie.
Wanneer echter een hoge turnover gewenst is (bijvoorbeeld bij een Kiss&Ride) dient de tussenafstand 3,50 meter te zijn. Voor parkeerplaatsen voor personen met een handicap geldt de maatvoering en richtlijnen uit het Vademecum Duurzaam Parkeerbeleid. Om te garanderen dat parkeerplaatsen effectief gebruikt worden voor het parkeren en/of stallen van wagens worden garageboxen niet toegelaten in collectieve parkeervoorzieningen (bijvoorbeeld parking onder een appartementsgebouw, kantoorgebouw,…). In de praktijk worden garageboxen vaak gebruikt als bergplaats in plaats van een parkeerplaats voor de wagen. Dit moet in de toekomst vermeden worden.
Parkeren in openlucht is de minst wenselijke parkeervorm omdat dit in conflict komt met open, groene en rustige binnengebieden. Daarom worden er strikte voorwaarden opgelegd indien toch voor deze optie wordt gekozen::
De stad hecht belang aan een duurzame waterhuishouding en een vermindering van de stedelijke opwarming. Water- en hitteproblematieken komen dan ook vaak voor door de grote bodemafdichting door weginfrastructuur en parkeerfaciliteiten. Daarom zijn zowel groene invulling als waterdoorlatende materialen te verkiezen bij het ontwerp van de open ruimte. Om verkoeling te stimuleren tijdens de zomermaanden raadt de stad ook aan om lichte materialen met een energetische reflectiefactor groter of gelijk aan 30% te gebruiken. Ook wordt er best minimaal één plantenstrook toegevoegd tussen elke cluster van 10 parkeerplaatsen. Omwille van de schaduw en afkoeling worden deze best ingericht met heesters of bomen van eerste grootteorde. De VCRO stelt losstaande garages of carports vrij van vergunning mits deze voldoen aan bepaalde restricties naar bouwhoogte, afstand tot de woning en de perceelsgrenzen, maximale oppervlakte,… Deze voorwaarden kunnen gehanteerd worden bij vergunningsaanvragen van parkeren in open lucht bij woningen.
Voor inritten wordt een maximum hellingspercentage opgelegd voor de laatste meters aan het voetpad zodat een omhoog rijdende auto niet te snel komt afgereden op het voetpad en de veiligheid van voorbijgangers gerespecteerd wordt. Parkeerliften zijn een duurdere uitvoeringswijze maar kunnen dit probleem van hellingspercentages vaak oplossen.
Door de parking niet alleen via de collectieve delen te ontsluiten maar door eveneens een autonome toegang te voorzien die vlot bereikbaar is vanaf de openbare weg, wordt het ook mogelijk om de parking als buurtparking te laten functioneren
Artikel 31 Laden en lossen Laden en lossen (inclusief kiss&ride-zones) voor functies anders dan wonen en met een bruto vloeroppervlakte van meer dan 500 vierkante meter moet op het eigen terrein voorzien worden. Indien dit onmogelijk is omwille van de grootte van het perceel, inrichting van het openbaar domein of omdat de straatbreedte een inrit van beleveringsvoertuigen niet toelaat kan een laad- en loszone eventueel voorzien worden op het openbaar domein. Dit kan enkel gebeuren door de wegbeheerder. Laden en lossen moet zoveel als mogelijk op eigen terrein gerealiseerd worden omwille van diverse redenen waaronder: minder geluidshinder, minder hinder voor andere mobiliteitsstromen, meer verkeersveiligheid en een vlottere en meer efficiënt verloop van de laad‐ en losactiviteiten. Op die manier wordt ook een overmatige slijtage van het openbaar domein vermeden. Omwille van de geluidsoverlast en esthetische redenen krijgt inpandig laden en lossen de voorkeur op laden en lossen in open lucht. Laden en lossen dient echter ook steeds contextueel te worden afgewogen. Soms genereert dit immers meer nadelen dan voordelen (benodigde bochtstralen waardoor bijvoorbeeld een trambaan overrijdbaar moet worden gemaakt of een parkeerverbod ingesteld) en is het in die gevallen niet wenselijk. Op enkele strategische plaatsen zoals de Meir is laden en lossen op eigen terrein economisch niet haalbaar voor die percelen die geen zij- of achteringang hebben waar de toelevering kan gebeuren. Ook zou het realiseren van inritten in zo’n aaneengesloten handelslint een negatieve invloed hebben op de beeldkwaliteit. Voor deze probleemsituaties kan het realiseren van collectieve laad- en loszones op het openbaar domein en/of het invoeren van leverings- of venstertijden een oplossing bieden.
Hoofdstuk 5 Publiciteit
Artikel 32 Niet-zaakgebonden publiciteit Dit artikel doet geen uitspraak over publiciteitsinrichtingen of uithangborden die vrijgesteld zijn van een stedenbouwkundige vergunning (BVR tot bepaling van handelingen waarvoor geen stedenbouwkundige vergunning nodig is van 16/7/2010 en latere wijzigingen). Dit betreft ondermeer verkiezingspubliciteit, niet-lichtgevende uithangborden van maximaal 4 vierkante meter, maar ook door de overheid beschikbaar gestelde dragers met het oog op socioculturele en politieke affichage, sensibiliseringsacties of voortvloeiend uit wettelijke bepalingen.
Publiciteit is een vast onderdeel van het stedelijk landschap en heeft hier een grote impact op. De stad wil zichzelf op een moderne manier profileren. Voor niet-zaakgebonden publiciteit tegen gevels en op daken is een ad-hoc beoordeling vereist. Artikel 33 Zaak-gebonden publiciteit Dit artikel doet geen uitspraak over publiciteitsinrichtingen of uithangborden die vrijgesteld zijn van een stedenbouwkundige vergunning (BVR tot bepaling van handelingen waarvoor geen stedenbouwkundige vergunning nodig is van 16/7/2010 en latere wijzigingen). Dit betreft ondermeer verkiezingspubliciteit, niet-lichtgevende uithangborden van maximaal 4 vierkante meter, maar ook door de overheid beschikbaar gestelde dragers met het oog op socioculturele en politieke affichage, sensibiliseringsacties of voortvloeiend uit wettelijke bepalingen.
Publiciteit is een vast onderdeel van het stedelijk landschap en heeft hier een grote impact op. Naar analogie met vele steden dringt zich vaak een gebiedsgerichte aanpak op. Publiciteit mag geen hinder veroorzaken voor de woonfunctie en dus niet voor raamopeningen geplaatst worden. Publiciteit mag evenmin afbreuk doen aan de globale beeldkwaliteit van een straat en moet dus om evidente reden beperkt en discreet blijven in omvang en uitstraling. De nieuwe vorm van reclameborden spelen echter ook meer en meer in op de vorm van buurtverfraaiing, door gevelafwerking, rechtstreekse of inwendige aanstraling, bijhorende parkaanleg, enz. Om aandacht te trekken voorzien ze ook meer en meer bewegende onderdelen, zoals roldoeken, tri-visions, enz. De meest recente vormen van publiciteitsvoering, zoals lichtkranten, LED-verlichting, lasers, ... spelen op een moderne manier in op ondernemingschap en zaakvoering. Vanuit verkeersveiligheid en de woon- en leefkwaliteit worden flits- of knipperlichten, lichtkranten en laserverlichting niet toegestaan, tenzij in zeer uitzonderlijke (tijdelijke) gevallen. Hiervoor kan dan een gemotiveerde afwijking bekomen worden op basis van artikel 3 van deze bouwcode. Dit verbod moet eveneens de nodige garanties voorzien dat de nieuwe technologie bij dynamische borden (o.a. LED-panelen) niet misbruikt zal worden. Ze mogen in geen geval de verkeersveiligheid en/of de leef-, woon- en beeldkwaliteit in het gedrang brengen. Alle zaakgebonden publiciteit moet worden verwijderd zodra er een einde wordt gesteld aan de activiteit waarop zij betrekking hebben, behalve wanneer zij een cultuurhistorische waarde heeft.
Eén dynamisch lichtbord ten behoeve van meerdere bedrijven kan een betere uiting zijn van het ruimtelijk beeld dan een bos van logo’s, voor zover het lichtbord geen bijkomende boodschappen communiceert. Een gezamenlijke totem binnen een bedrijvenpark is wellicht ook een betere optie, dan een individuele bewegwijzering. De plaatsing op alleenstaande borden of totems kan bij voorkeur enkel als er geen ander middel is om de zakelijke activiteit bekend de maken met een plaatsing op minstens 1 meter van de rooilijn en minstens 2 meter van de perceelsgrenzen. Een gezamenlijk initiatief van meerdere zaken/bedrijven op één totem leidt in vele gevallen tot een fraaier straatbeeld. In zeer uitzonderlijke gevallen kan een totem ook toegestaan worden in het kernwinkelgebied mits op geen enkele andere manier voldoende visibiliteit gecreëerd kan worden zoals het geval bij winkelgalerijen met een zeer beperkte gevelbreedte.
DEEL 3 TECHNISCHE KWALITEIT Hoofdstuk 1 Constructie Artikel 34 Stabiliteit en scheidingsmuren
Duurzaam bouwen betekent ook flexibel bouwen. Wat we vandaag bouwen voor een bepaalde doelgroep, kan in de toekomst mogelijks herbruikt worden voor een andere doelgroep. Een ziekenhuis kan bijvoorbeeld later omgevormd worden tot studentenflats. In principe betekent dit dat zoveel mogelijk met een betonskeletstructuur met zo groot mogelijke overspanningen wordt gewerkt, of op kleinere schaal, met zo weinig mogelijk dragende muren.
De scheidingsmuren tussen gebouwen dienen draagkrachtig te zijn en dienen een voldoende brandweerstand te hebben. Werken in en aan scheidingsmuren mogen geen nadelige invloed hebben op de draagkracht, akoestische eigenschappen en isolerende eigenschappen.
Artikel 35 Afvoerkanalen en uitlaten van alle gassen
Dampen en gassen kunnen hinder veroorzaken en soms zelfs de gezondheid van bewoners, gebruikers en omwonenden schaden. Daarom dient de afvoer van gassen, die niet reeds onder de milieuwetgeving vallen, ook geregeld te worden.
Artikel 36 Zonnepanelen en zonnecollectoren Zonnepanelen dienen geplaatst te worden volgens een enkelvoudige, geometrische vorm. Op schuine daken worden ze geïntegreerd in het dakvlak of worden ze zo dicht mogelijk tegen en evenwijdig met het dakvlak geplaatst. Op platte daken mag de ondersteunende constructie geen nieuw hellend dak vormen. De panelen dienen achter elkaar op het platte dak geplaatst te worden. De maximale hoogte is beperkt tot 1,50 meter. De stad Antwerpen wil een duurzaam gebruik van energie en een duurzame opwekking er van stimuleren. Daarom wil zij de toepassing van duurzame energiesystemen zo veel mogelijk aanmoedigen echter zonder dat deze onnodig hinder veroorzaken voor de omgeving. De bouwcode stelt daarom dat zonnepanelen of zonnecollectoren de omwonenden niet mogen hinderen bij het onderhouden van hun eigendom. Om de visuele overlast te beperken wordt een hoogtebeperking op platte daken ingevoerd. Artikel 37 Centrale ruimte voor warmteproductie en leidingkokers
Voor de grootte van de stookruimte worden volgende afmetingen gehanteerd:
De recente evoluties in de eisen gesteld aan de energieprestatie van gebouwen vragen steeds meer om de inpassing van hernieuwbare energiebronnen. De bouwcode doet zelf geen uitspraken over de energieprestatie van nieuwe gebouwen omdat deze al sterk gereglementeerd is in de EPB-wetgeving. Het stedelijk patrimonium kent echter een hoge concentratie aan collectieve woongebouwen, zoals o.m. appartementsgebouwen, studentenhuisvesting en woonzorgcentra, die specifieke uitdagingen stellen betreffende de inpassing van hernieuwbare energiebronnen. Zo is de rendabele toepassing van zon-thermische, foto-voltaïsche of geothermische installaties in dit type gebouwen vaak enkel mogelijk via een collectief systeem. Bovendien kunnen gebouwen met kwalitatieve collectieve verwarmingsinstallaties zonder grote aanpassingen gebruik maken van groene warmte aangeleverd door een stadsverwarmingsnet. Om die reden legt de bouwcode enkele eisen op aan het ontwerp van gebouwen met meerdere wooneenheden. Zo moet voorzien worden in een gemeenschappelijke ruimte die de nodige installaties kan herbergen en gemakkelijk bereikbaar is vanuit het openbaar domein. Daarnaast moet er in het ontwerp voldoende ruimte zijn voor de realisatie van een warmteverdeelnet vanuit deze centrale ruimte naar elke wooneenheid. De structuur van het gebouw moet toelaten een verdeelnet te ontwerpen waarbij de warmtelevering aan elke wooneenheid apart te meten is en desnoods te sturen. De bouwcode legt enkel minimumeisen, afhankelijk van het technisch concept kan de werkelijk benodigde ruimte groter zijn. De bouwcode legt bovendien geen eisen op aan de realisatie van de technische installatie zelf. De ondergrens van 10 wooneenheden in combinatie met een gemeenschappelijke verticale circulatie werd bepaald om te vermijden dat projecten op een smal perceel worden geconfronteerd met een overbelasting van het programma op het gelijkvloers. De tabel geeft de minimale afmetingen van de stookplaats weer tot 144 wooneenheden. Bij meer dan 144 wooneenheden wordt de minimale afmeting van de stookplaats bepaald door per bijkomende groep van wooneenheden de overeenkomstige afmeting bij te tellen. Een bouwblok van 200 wooneenheden resulteert zo in een minimale stookplaats van 64 vierkante meter. Gebouwen met meer dan 50 wooneenheden mogen voorzien worden van meer dan 1 centrale ruimte voor warmteproductie. Elk van deze lokalen wordt toegekend aan een deel van het bouwproject en voldoet aan de minimale eisen voor dat deel. Een project van 70 wooneenheden bijvoorbeeld kan voldoen aan de eisen door 2 lokalen te voorzien met een oppervlakte van elk 20 vierkante meter (2 x 35 wooneenheden). De vloer van de centrale ruimte voor warmteproductie bevindt zich op het maaiveld of maximaal 3 meter onder het maaiveld. De ruimte is ofwel rechtstreeks bereikbaar vanaf het openbaar domein ofwel via een speciale leidingkoker of via de gemeenschappelijke delen. Indien elders in het gebouw, bijvoorbeeld op het dak, een centrale ruimte voor warmteproductie wordt voorzien die voldoet aan de minimale eisen, kan de verplichte corresponderende ruimte op het gelijkvloers of onder het maaiveld beperkt worden tot een oppervlakte van 4,50 vierkante meter per eenheid van 80 wooneenheden. Een gebouw met 140 wooneenheden met centrale ruimte onder het dak moet dan voorzien in een ruimte van 9 vierkante meter op het gelijkvloers of onder het maaiveld. Indien hetzelfde gebouw beschikt over 2 centrale ruimten onder het dak dan worden 2 corresponderende ruimten van 4,5 vierkante meter voorzien in de onderste bouwlagen. De ruimte en de kokers dienen dus bij nieuwbouw reeds voorzien te worden. De aansluiting op een collectief warmtenet moet pas doorgevoerd worden indien uit studie blijkt dat deze aansluiting rendabel is of wordt.
De leidingkokers zijn bij voorkeur bereikbaar vanuit de gemeenschappelijke delen. Naast de evidente voordelen in verband met toekomstige aanpassingen aan de technische infrastructuur heeft deze ligging ook nog het voordeel dat energie- en watermeters gemakkelijker uitgelezen kunnen worden en de toevoer van nutsleidingen gemakkelijker afgesloten kunnen worden. Indien de leidingkokers slechts bereikbaar zijn via de private delen dient er voor gezorgd te worden dat het openmaken van de kokers mogelijk is zonder veel schade te veroorzaken aan de afwerking van de wooneenheid (bijvoorbeeld door middel van een valse wand in de bergruimte, wasplaats, vestiaire,…).
Deze ruimte kan deel uitmaken van een ruimere technische koker die nog andere technische leidingen herbergt zoals, elektrische leidingen, ventilatie, schouwen enz.
Artikel 38 Groendaken
Een groendak is een dak bedekt met vegetatie en een aantal onderliggende lagen die nodig zijn voor de ontwikkeling van deze vegetatie en de opslag van regenwater. Zowel vanuit duurzaamheid als vanuit beeldkwaliteit heeft een groendak een aantal belangrijke voordelen ten opzichte van een gewoon dak. Ze zorgen voor een kleinere hoeveelheid afgevoerd regenwater en beperken gelijktijdig het piekdebiet bij stortbuien. Ook verminderen ze het “urban heat island” effect en werken ze als (extra) dakisolatie. Door hun groene karakter zijn ze aangenamer om op te kijken en verhogen ze de biodiversiteit. Omwille van deze positieve effecten is het verplicht om alle platte daken ten minste als extensief groendak aan te leggen. Er bestaat een onderscheid tussen intensieve (daktuinen) en extensieve (vegetatiedaken) groendaken. Intensieve groendaken bestaan uit grassen, kruiden, struiken of zelfs bomen. Die daken kunnen het best vergeleken worden met gewone tuinen, zowel qua uitzicht als onderhoud en gebruik. Ze kunnen zelfs gebruikt worden als moestuin of ingezet worden voor stadslandbouw. De intensieve begroeiing van dergelijke daken vraagt om een voldoende dikke substraatlaag en een aangepaste, betreedbare constructie. Intensieve daktuinen bufferen meer dan 50 liter neerslag per vierkante meter dakoppervlakte. Extensieve groendaken hebben slechts een lichte begroeiing, vergelijkbaar met een rotsbegroeiing. Er wordt gebruik gemaakt van mossen, vetplanten en kruiden. Daardoor is het onderhoud gering. De substraatlaag (en meestal ook vegetatielaag) is dunner dan bij een intensief groendak en de belasting geringer. Dit type groendak is daarom vooral aangewezen bij renovaties. Wel moet de bestaande dakstructuur het totale gewicht van het groendak bij maximale verzadiging, aankunnen. Is dat niet zo, dan moet men de dakstructuur aanpassen. Voor een groendak of rieten dak zijn soms speciale voorzieningen (zoals filter of voorbehandeling) nodig wanneer het afgevoerde water wordt opgevangen in een hemelwaterput. Daarenboven vloeit er een veel kleinere hoeveelheid regenwater naar de hemelwaterput. Daarom heeft het weinig zin om de afwatering ervan verplicht aan te sluiten aan de hemelwaterput. Groendaken zijn verplicht bij “nieuwe daken” van gebouwen. Dat zijn daken waarbij de hele constructie van het dak nieuw wordt aangelegd en dit zowel bij nieuwbouw, herbouw of renovatie. Glazen daken en dakherstellings- of instandhoudingswerken van bestaande daken vallen niet onder dit artikel.
Energieopwekkende systemen en dakterrassen zijn perfect te combineren met een groendak. Studies hebben aangetoond dat een combinatie van zonnepanelen met groendaken elkaar zelfs in positieve zin beïnvloeden. Deze combinatie zorgt echter voor een dubbele investering (zowel de aanleg van het groendak als de aankoop van het energiesysteem). Omwille van deze financiële gevolgen neemt de bouwcode deze uitzondering op de verplichting van een groendak op. Uiteraard is het steeds aan te bevelen om ook in deze gevallen een groendak te voorzien.
De bouwcode voorziet een afwijking op de verplichting van groendaken bij eengezinswoningen omdat de voordelen van hergebruik in deze gevallen meestal niet opwegen tegen de voordelen van groendaken. In andere projecten is een afwijking mogelijk op basis van artikel 3 van deze bouwcode. Deze afwijking moet gemotiveerd worden aan de hand van een waterbalans waarbij aangetoond wordt dat het hergebruik van regenwater een belangrijke troef betekent voor het te vergunnen gebouw. Dit zal voornamelijk het geval zijn bij weinig compacte gebouwen met grote platte daken en een hoge bezettingsgraad, zoals een school.
Een verticale gevelbegroening biedt voor een groot deel dezelfde voordelen als een groendak, met name een vermindering van het hitte-eilandeffect, een verhoging van de beeldkwaliteit en biodiversiteit,…
Hoofdstuk 2 Waterafvoer Artikel 39 Infiltratie- en buffervoorzieningen
Voor de opvang van regenwater op onbebouwde oppervlakken geniet een natuurlijke en bovengrondse infiltratie de voorkeur ten opzichte van een ondergrondse infiltratie, zoals een infiltratiekrat of -buis.
Het water dat afstroomt van terreinverhardingen, zoals (dak)terrassen en opritten, of komt uit drainages, sluit men best niet aan op de hemelwaterput voor hergebruik binnen de woning. Ook dat water kan best afgeleid worden naar een nabijgelegen doorlatend oppervlak. Zo kan een terras, aangelegd onder een helling van 1 à 2%, regenwater afwateren in de tuin. Artikel 40 Privaat gescheiden rioolstelsel en afvoerleidingen
Het is algemeen verplicht om bij een nieuwbouw of een grondige verbouwing het regenwater en afvalwater op het eigen terrein te scheiden. Bij de (her)aanleg van de riolering op de openbare weg, streeft de stad Antwerpen en haar rioolbeheerder de scheiding van regen- en afvalwater ook na. Indien er een gescheiden rioleringsstelsel wordt aangelegd in de straat moet het afvalwater en hemelwater van alle gebouwen gescheiden worden afgevoerd op het ogenblik dat de rioleringswerken in de straat zijn uitgevoerd. Uitzonderingen op deze verplichting zijn de bestaande gebouwen van het gesloten type, indien er werken in of onder de woning nodig zijn om het regenwater naar de straat te leiden.
Als richtwaarden gelden hierbij :
Artikel 41 Kenmerken aansluiting van de leidingen met het openbaar rioolstelsel
Artikel 42 Drainageleidingen en bemalingen
Hoofdstuk 3 Private voorbehandeling van afvalwater
Artikel 43 Septische putten
De lage stroomsnelheid van het afvalwater is kenmerkend voor het rioolstelsel in Antwerpen. Hierdoor komt de vaste slibfractie snel tot bezinking in de rioolbuis. Tevens heeft het ontkoppelen en aanleggen van een gescheiden rioleringsstelsel tot gevolg dat het spoelend effect van het hemelwater in de afvalwaterriolen afneemt. In nieuwe woonwijken zijn de diameters van de DWA-riolen ook kleiner dan in een gemengd stelsel. Dit kan leiden tot het geleidelijk dichtslibben van de rioolbuizen en een toename van de kans op wateroverlast en geurhinder. Het slib kan aanleiding geven tot een biogene zwavelzuuraantasting van de buizen. Om de bovengenoemde gevolgen op de effectieve werking en levensduur van het riool tegen te gaan is het aangewezen om het private afvalwater een voorbehandeling te doen ondergaan voordat het geloosd wordt in het openbare riool. Dat gebeurt met een septische put. Een septische put geeft een minimale biologische behandeling aan het afvalwater en maakt afvalwater vloeibaar. Na deze voorbehandeling, zal het effluent verdere zuiveringsstappen moet ondergaan. Een septische put is geen individuele afvalwaterbehandeling (IBA).
(*BVO = bruto-vloeroppervlakte)
Bij elk gebouw met een sanitaire voorziening gelegen in centraal gebied, collectief geoptimaliseerd buitengebied of collectief te optimaliseren buitengebied dient het zwarte afvalwater eerst aangesloten te zijn op een septische put. Bovendien wordt voor gebouwen gelegen in het collectief te optimaliseren buitengebied ook het grijze afvalwater aangesloten op de septische put, als voorlopige maatregel totdat de openbare riolering is aangelegd. De dimensies van de septische put zijn in die zone dan ook groter.
Artikel 44 Vetafscheiders en olieafscheiders
Voor bedrijven die grote hoeveelheden vetafval produceren is, om een verstopping van het openbaar rioleringsstelsel te voorkomen, de plaatsing van een vetafscheider verplicht. Een afscheiderinstallatie voor plantaardige en dierlijke oliën en vetten bestaat in principe uit één of meer afvoerputten met waterslot en de eigenlijke vetafscheider. Deze omvat een vetafscheider en een controleput. In de vetafscheider wordt de stroming van het water afgeremd. Hierdoor stijgen de vetten naar de oppervlakte. Bij de inlaat van de afscheider zijn voorzieningen getroffen om het water rustiger te laten stromen en gelijkmatig te verdelen. Een schot dat voor de uitlaat van de afscheider is geplaatst, belemmert het verzamelde vet weg te vloeien. Ieder systeem dient vooraf ter goedkeuring aan het college van burgemeester en schepenen te worden voorgelegd.
Hoofdstuk 4 Zuivering van afvalwater - openbaar en privaat De stad Antwerpen wil de vervuiling van het grond- en oppervlaktewater zo veel mogelijk voorkomen. De stad investeert daarom in de ruimtelijke zones “centraal gebied”, “collectief geoptimaliseerd buitengebied” en “collectief te optimaliseren buitengebied” in een openbaar rioleringsstelsel voor het transport van het afvalwater naar een gewestelijke waterzuiveringsstation (rwzi). Bij de (her)aanleg van de riolering in de openbare straat, streeft de stad Antwerpen en haar rioolbeheerder de scheiding van regen- en afvalwater na. Ook tracht de stad het hemelwater op het openbaar domein zoveel als mogelijk lokaal te bufferen. Het nuttig gebruiken en infiltreren van hemelwater op het private domein is één van de sleutelfactoren tot een duurzaam waterbeheer. Voor particulieren en bedrijven is dat een belangrijke taak en uitdaging. De gemeentelijke rioolbeheerder is verantwoordelijk voor aanleg en onderhoud van de openbare riolering en bijgevolg ook voor het toelaten en realiseren van gebruikersaansluitingen. De Bouwcode formuleert de technische vereisten voor de wijze waarop de lozing van het huishoudelijke afvalwater en het hemelwater in het openbare rioleringsstelsel gerealiseerd dient te worden voor een efficiënte verwerking van het afval- en hemelwater. Artikel 45 Openbare riolering in collectief gebied
Artikel 46 Private zuivering en lozing door gebouwen gelegen in individueel te optimaliseren buitengebied Het is verplicht om bij nieuwbouw en bij verbouwingen waar het afvoerstelsel van afval- en hemelwater kan aangepast worden, het grijze en zwarte afvalwater te zuiveren middels een goedgekeurde individuele behandelingsinstallatie afvalwater (IBA). De verplichting om een IBA te voorzien vervalt indien:
Bepaalde inwoners wonen te afgelegen om de aanleg van een openbare riolering economisch en ecologisch rendabel te maken. Gebouwen met een toilet in deze zone dienen aangesloten te worden op een individuele behandelingsinstallatie (IBA). Het gezuiverde afvalwater stroomt dan af naar een infiltratievoorziening of oppervlaktewater. Voor het rechtstreeks lozen in de ondergrond gelden specifieke technische regels. Een correcte dimensionering van de IBA volgens de verwachte vuilvracht is cruciaal voor de goede werking van de installatie. Hoofdstuk 5 Waterlopen Bij werken aan niet-geklasseerde waterlopen en waterlopen van 1° categorie is naast een vergunning ook steeds een machtiging van de VMM afdeling Operationeel Waterbeheer vereist, voor waterlopen van 2de en 3de categorie is naast een vergunning ook steeds een machtiging van de deputatie van de provincie vereist (KB van 28 december 1967). Artikel 47 Wijzigen van waterlopen
Het in stand houden van waterlopen is zeer belangrijk voor het beheersen van wateroverlast. Het dempen, overwelven, inbuizen en beschoeien van waterlopen dient vermeden of alleszins tot een minimum beperkt te worden omdat deze ingrepen een negatieve impact hebben op zowel waterkwantiteit als waterkwaliteit. Dergelijke ingrepen wijzigen immers de waterafvoer van het water en reduceren het bergingsvermogen en de infiltratiemogelijkheden van de gracht of de waterloop en zorgen bij langdurige en of hevige regenval voor opstuwing. Ze verhogen daardoor de kans op overstromingen en wateroverlast, verminderen aanzienlijk het zelfreinigend vermogen en werken verontreiniging in de hand. Bovendien schaden dergelijke ingrepen het beheer van de oever- en bodemvegetatie evenals de oevers zelf en bemoeilijken ze het onderhoud van de gracht of de waterloop. De bouwcode beperkt werkzaamheden aan waterlopen om de verschillende functies van de waterloop te beschermen. Een open gracht of waterloop heeft een groter waterbergend vermogen met een vertraagde afvoer waardoor de kans op wateroverlast verkleint en waardoor het waterinfiltrerend en het zelfreinigend vermogen vergroot. De gracht of waterloop krijgt een hogere natuurwaarde en meer kansen voor natuurontwikkeling doordat de structuurkenmerken ervan worden hersteld. Een waterloop of gracht wordt bij voorkeur in een openbare groene ruimte geïntegreerd omdat dit de beeldkwaliteit van het landschap bevordert.
Bijlage artikel 30: autostalplaatsen en parkeerplaatsen
De stallings- en parkeernorm voor auto’s verschilt al naargelang de ligging van het perceel in de stad. Er wordt een onderscheid gemaakt tussen centrumgebied, centrumschil en over gebied.
Districtskern Antwerpen: Abdijstraat, Alfons De Cockstraat, Alois De Laetstraat, Atletenstraat, August Van Cauwelaertlaan, Auguste Oleffestraat, Beerschotstraat, Berendrechtstraat, Blancefloerlaan van Thonetlaan tot huisnr. 177, Carel Van Manderstraat, Charles De Costerlaan Zijwegen tussen Thonetlaan en Halewijnlaan, Constant Permekestraat, De Bosschaertstraat, Emile Verhaerenlaan, Ernest Claesstraat, Eugeen Laermansstraat, Evert Larockstraat, Frans Hensstraat, Frederik Van Eedenplein, Gabriellastraat, Georges Eekhoudlaan, Gloriantlaan van Frederik Van Eedenplein tot Charles De Costerlaan, Halewijnlaan van Blancefloerlaan tot Emile Verhaerenlaan, Henri Evenepoelstraat, Hockeystraat, Imalsoplein, Jaak Gorusstraat, Jacob Le Mairestraat, James Ensorstraat, Jan Davidlei, Jan Frans Van De Gaerstraat van Limburgstraat tot Karel Mertensstraat, Jef Lambeauxstraat, Jules De Bruyckerstraat, Juul Persijnstraat, Kampioenstraat, Kanunnikenstraat, Karel Mertensstraat, Landbouwstraat, Limburgstraat, Lode Zielenslaan, Louis Frarynlaan, Louis Paul Boonstraat, Luxemburgstraat, Mac Leodplein, Marathonstraat, Maurits Sabbelaan, Max Elskampstraat, Max Roosesstraat, Multatuliplein, Oscar De Gruyterlaan, Pierenbergstraat, Piet Verhaertstraat, Pieter Genardstraat, Pieter Rottiestraat, Prosper Van Langendonckstraat, Richard Baseleerstraat, Rik Schaefelsstraat, Rik Woutersstraat, Schamelhoutstraat, Schijfstraat, Schijfwerpersstraat, Sint-Bernardsesteenweg van Zaanstraat tot Julius De Geyterstraat, Speerstraat, Stadionstraat, Sus Van Den Eyndestraat, Thonetlaan Van Blancefloerlaan Tot Charles De Costerlaan, Tirstraat, Turnersstraat, Valerius De Saedeleerstraat, Van Halmalestraat, Van Peenestraat, Victor Dela Montagnestraat, Waarlooshofstraat, Waterhoenlaan, Werbrouckstraat, Willem Elsschotstraat, Willem Gijsselsstraat, Wittestraat, Zaanstraat, Zandvlietstraat.
Districtskern Berendrecht-Zandvliet Antwerpsebaan (vanaf kruispunt met Monnikenhofstraat tot kruispunt met Cecilianenstraat), Begijnhoeve (vanaf kruispunt met Spaansemolenstraat tot kruispunt met De Keyserhoeve), Biestraatje, Botermarkt , De Keyserhoeve, Dorpstraat (vanaf kruispunt met Schouwvegerstraat tot huisnummer 68), Kleine Bredestraat, Martinussteeg, Monnikenhofstraat (vanaf kruispunt met Dorpstraat tot kruispunt met Kruisbos), Noordland (vanaf kruispunt met De Keyserhoeve tot kruispunt met Spaansemolenstraat), Putsebaan (vanaf kruispunt met Ijzerenwegstraat tot kruispunt met Verbrandstraatje), Sint-Jan Baptiststraat (vanaf kruispunt met Dorpstraat tot kruispunt met Weverstraat), Solftplaats, Solftstraat, Spaansemolenstraat.
Districtskern Borgerhout Collegelaan (vanaf kruispunt met Stenenbrug tot kruispunt met Pieter De Smethstraat), Dokter Van De Perrelei (vanaf kruispunt met Joe Englishstraat tot kruispunt met Luitenant Lippenslaan), Herentalsebaan (vanaf kruispunt met Stenenbrug tot kruispunt met Dassastraat), Herrystraat, Joe Englishstraat (vanaf kruispunt met Stenenbrug tot kruispunt met Juul Grietensstraat), Jozef Nuytsstraat, Jozef Posenaerstraat, Juul Grietensstraat, Kerkendijk, Luitenant Lippenslaan (vanaf kruispunt met Dokter Van De Perrelei tot kruispunt met Stenenbrug), Morckhovenlei (vanaf kruispunt met Stenenbrug tot kruispunt met Emiel Gebroerstraat), Stenenbrug (vanaf kruispunt met Collegelaan tot kruispunt met Herentalsebaan), Te Boelaarlei (vanaf kruispunt met Stenenbrug tot kruispunt met Monseigneur Van Goethemplein), William Woodstraat, Xaveriusstraat.
Districtskern Deurne: Arenaplein, Coeveltstraat, Cogelsplein, Dokter Romain De Velstraat, Dordrechtlaan, Eyendijkstraat, Frank Craeybeckxlaan, (vanaf kruispunt met Turnhoutsebaan tot kruispunt met Ter Heydelaan), Frans Baetenstraat, Gabriel Vervoortstraat, Gallifortlei (vanaf kruispunt met Turnhoutsebaan tot kruispunt met Eikblokstraat), Grapheusstraat, Hallershofstraat, Herentalsebaan (vanaf kruispunt met Stenenbrug tot kruispunt met Dassastraat), Herrystraat, Hertstraat, Hooftvunderlei (vanaf kruispunt met Turnhoutsebaan tot kruispunt met Parkweg), Jaak Embrechtsstraat, Jan Bielstraat, Joostplaats, Koraalplaats, Korte Sint-Rochusstraat, Lakborslei (vanaf kruispunt met Turnhoutsebaan tot huisnummer 125), Maurice Dequeeckerplein, Muggenberglei (vanaf kruispunt met Herentalsebaan tot kruispunt met Van Havrelei), Parkweg (vanaf kruispunt met Grapheusstraat tot kruispunt met Hooftvunderlei), Pastoor Holthofplein, Rosenstraat, Sint-Rochusstraat (vanaf kruispunt met Herentalsebaan tot kruispunt met Korte Sint-Rochusstraat), Stalinsstraat, Te Couwelaarlei (vanaf kruispunt met Frank Craybeckxlaan tot kruispunt met Ten Eeckhovelei), Ter Heydelaan (vanaf kruispunt met Te Couwelaarlei tot kruispunt met Frank Craeybeckxlaan), Turnhoutsebaan (vanaf kruispunt met Cogelsplein tot kruispunt met Lundenstraat), Unolaan, Van Den Hautelei (vanaf kruispunt met Herentalsebaan tot kruispunt met Jaak Embrechtsstraat), Van Lissumstraat (vanaf kruispunt met Van Steenlandstraat tot kruispunt met Bosselaersstraat), Van Steenlandstraat (vanaf kruispunt met Herentalsebaan tot kruispunt met Van Lissumstraat), Waterbaan (vanaf kruispunt met Herentalsebaan tot kruispunt met Korte Sint-Rochusstraat).
Districtskern Ekeren Alfons Jeurissenstraat, Blarenstraat, Boomstraat, De Beukelaerlaan, Dorpstraat, Driehoekstraat (vanaf kruispunt met Dorpstraat tot kruispunt met Boerendijk), Frans Harrewijnlaan, Frans Lenaertsstraat, Geestenspoor, Groot Hagelkruis (vanaf kruispunt met Dorpstraat tot kruispunt met Van De Wouwerstraat), Jozef De Weerdtstraat, Kattenberg (vanaf kruispunt met Molenaarsstraat tot kruispunt met Schutstraat), Klein Hagelkruis (vanaf kruispunt met Steenstraat tot kruispunt met Van De Wouwerstraat), Kloosterstraat (vanaf kruispunt met Dorpstraat tot kruispunt Boerendijk), Korte Sterrestraat, Kristus-Koningplein, Lange Sterrestraat, Markt, Molenaarstraat, Molenstraat, Moretuslei, Oorderseweg (vanaf kruispunt met Schutstraat tot kruispunt met Groot Hagelkruis), Patronaatstraat, Schutstraat, Steenstraat, Van De Wouwerstraat, Veltwijcklaan (vanaf kruispunt met Alfons Jeurissenstraat tot kruispunt met Markt), Villapark (vanaf kruispunt met Alfons Jeurissenstraat tot kruispunt met Veltwijcklaan), Stalinsstraat, Te Couwelaarlei, Ter Heydelaan, Turnhoutsebaan, Unolaan, Van Den Hautelei, Van Lissumstraat, Van Steenlandstraat, Waterbaan.
Districtskern Hoboken Aartselaarstraat (van kruispunt met Draaiboomstraat tot kruispunt met Kloosterstraat), Antverpiastraat, Antwerpsesteenweg (van kruispunt met Kioskplaats tot kruispunt met Draaiboomstraat), Berkenrodelei (van kruispunt met Kioskplaats tot kruispunt met Ijskelderstraat), Broydenborglaan, Cockerillplaats, De Hertstraat, Dokter Coenstraat, Dokter Verhoevenstraat, Draaiboomstraat, D'urselstraat, Edmond Cretsstraat, Elststraat, Emiel De Harvenstraat, Emiel Vanderveldestraat, Heidestraat (van kruispunt met Draaiboomstraat tot kruispunt met Oudestraat), Hertog Van Brabantlei, Ijskelderstraat (van kruispunt met Berkenrodelei tot kruispunt met Leopoldlei), Jozef De Costerstraat, Jozef Leemanslaan, Kapelstraat (van kruispunt met Kioskplaats tot kruispunt met Cockerillplaats), Kioskplaats, Kloosterstraat, Lambrechtsstraat, Lelieplaats, Leopoldlei, Louisalei, Maria-Henriettalei, Marneflaan, Moretusstraat, Notelaarstraat, Oudestraat, Paul Henri Spaaklaan, Rodekruislaan, Steynstraat (van kruispunt met Antwerpsesteenweg tot kruispunt met Leopoldlei), Van Amstelstraat, Van De Perrelei, Vinkeveldenplein, Vinkeveldenstraat, Vuurkruisplein, Walstraat, Wielrijdersstraat, Zorgvlietstraat.
Districtskern Merksem Annuntiatenstraat, Barnkrachtstraat, Borrewaterstraat (van kruispunt met Bredabaan tot kruispunt met Sint-Bartholomeusstraat), Bredabaan (van kruispunt met Groenendaallaan tot kruispunt met Molenlei), Broeder Frederikstraat, Burgemeester Jozef Nolfplein, Constant De Jongstraat, Deurnsebaan (van kruispunt met Bredabaan tot kruispunt met Sint-Bartholomeusstraat), Doelhofstraat, Elfnovemberstraat, Frans De L'arbrelaan (van kruispunt met Bredabaan tot kruispunt met Heirmansstraat), Gildestraat, Groenendaallaan (van kruispunt met Bredabaan tot kruispunt met Gildestraat), Gyselsstraatje, Houthulststraat (van kruispunt met Bredabaan tot kruispunt met Terlindenhofstraat), Jaak De Boeckstraat, Komiteitstraat, Minister Delbekelaan, Molenlei (van kruispunt met Bredabaan tot kruispunt met Victor Roosensplein), Nieuwdreef (van kruispunt met Bredabaan tot kruispunt met Terlindenhofstraat), Oudebareellei, Parkweg, Rustoordstraat, Sint-Bartholomeusstraat, Sint-Franciscusplein, Terlindenhofstraat (van kruispunt met Houthulstraat tot kruispunt met Annuntiatenstraat), Van Aertselaerstraat, Van Heybeeckstraat (van kruispunt met Sint-Franciscusplein tot kruispunt met Rustoordstraat), Van Roiestraat, Van Stralenlei (van kruispunt met Bredabaan tot kruispunt met Sint-Bartholomeusstraat), Victor Roosensplein, Weggestraat, Winkelhaakstraat, Wuytslei, Steynstraat, Van Amstelstraat, Van De Perrelei, Vinkeveldenplein, Vinkeveldenstraat, Vuurkruisplein, Walstraat, Wielrijdersstraat, Zorgvlietstraat.
Districtskern Wilrijk Bist, Bistweg, Boekstraat (van kruispunt met Vuurmolenstraat tot kruispunt met Doornstraat), Doornstraat (van kruispunt met Oudestraat tot kruispunt met Bist), Heistraat (van kruispunt met Krijgsbaan tot kruispunt met Bist), Jules Moretuslei (van kruispunt met Boomsesteenweg tot kruispunt met Kerkhofstraat), Kern, Kleinesteenweg, Koning Albertstraat, Koning Leopoldstraat, Koningin Elisabethstraat, Mastplein, Mastweg, Oudestraat (van kruispunt met Gaillaitlaan tot kruispunt met Doornstraat), Pater De Dekenstraat, Sint-Bavostraat (van kruispunt met Bist tot kruispunt met Sint-Sebastiaanstraat), Sint-Camillusstraat, Sint-Sebastiaanstraat, Sporthalplein, Vuurmolenstraat, Oudebareellei, Parkweg, Rustoordstraat, Sint-Bartholomeusstraat, Sint-Franciscusplein, Terlindenhofstraat, Van Aertselaerstraat, Van Heybeeckstraat, Van Roiestraat, Van Stralenlei, Victor Roosensplein, Weggestraat, Winkelhaakstraat, Wuytslei, Steynstraat, Van Amstelstraat, Van De Perrelei, Vinkeveldenplein, Vinkeveldenstraat, Vuurkruisplein, Walstraat, Wielrijdersstraat, Zorgvlietstraat.
Stationsomgeving Albert Claudestraat, Albert Grisarstraat, Amerikalei (van kruispunt met Bolivarplaats tot kruispunt met Belegstraat), Anneessensstraat, Antoon Van Dyckstraat, Apostelstraat, Appelmansstraat, Arenbergstraat (van kruispunt met Leopoldstraat tot kruispunt met Oudevaartplaats), Arendstraat, Armeduivelstraat, Arthur Goemaerelei, Artsen Zonder Grenzenstraat, August Leyweg, Baeckelmansstraat, Balansstraat, Baron Dhanislaan, Baron Joostensstraat, Belegstraat, Belgielei (van kruispunt met Mercatorstraat tot kruispunt met Charlottalei), Beschavingstraat, Bexstraat, Bisschopstraat, Blauwtorenplein, Bleekhofstraat, Bolivarplaats, Boomgaardstraat (van kruispunt met Stanleystraat tot kruispunt met Wijnstraat), Boomsesteenweg, Borgerhoutsestraat, Bosduifstraat, Bosmanslei, Brederodestraat, Breughelstraat, Breydelstraat, Brialmontlei, Broederminstraat, Brusselstraat, Burgerwelzijn, Camille Huysmanslaan, Carnotstraat, Catharina Beersmansstraat, Cellebroedersstraat, Charlottalei, Cobdenstraat, Coebergerstraat, Congresstraat, Consciencestraat, Constitutiestraat, Copernicuslaan, Cuperusstraat, Cuylitsstraat, Dageraadplaats, Dambruggestraat, De Beuckerstraat, De Boeystraat, De Braekeleerstraat, De Coninckplein, De Keyserlei, De Nelisplein, Delinstraat, Dendermondestraat, Desguinlei (van kruispunt met Lange Elzenstraat tot kruispunt met Jan Van Rijswijcklaan), Diepestraat, Dodoensstraat, Dolfijnstraat, Door Verstraeteplaats, Draakplaats, Draakstraat, Duinsteeg, Duinstraat (van kruispunt met Diepestraat tot kruispunt met Van Urselstraat), Edelinckstraat, Eikenstraat, Emiel Banningstraat (van kruispunt met Gijzelaarstraat tot kruispunt met Pacificatiestraat), Emiel Vloorsstraat (van kruispunt met Generaal Armstrongweg en August Leyweg), Eric Sasselaan, Filomenastraat, Floris Primsstraat, Florisstraat, Franklin Rooseveltplaats, Frankrijklei (van kruispunt met Kipdorpbrug tot kruispunt met Maria-Henriettalei, Frans Halsplein, Fransenplaats, Gasstraat (van kruispunt met Korte Zavelstraat tot kruispunt met Wilgenstraat), Geelhandplaats, Gelijkheidstraat, Gemeentestraat, Generaal Armstrongweg (van kruispunt met Kolonel Silvertopstraat tot kruispunt met Oprit A12), Generaal Cabrastraat, Gijzelaarsstraat (van kruispunt met Emiel Banningstraat tot kruispunt met Pacificatiestraat), Goudbloemstraat, Graanmarkt, Greinstraat, Groenstraat, Grote Kauwenberg, Grotebeerstraat, Grotehondstraat, Haantjeslei (van kruispunt met Sint-Laureisstraat tot kruispunt met Robert Molsstraat), Halfmaanpleintje, Halvemaanstraat, Handelstraat (van kruispunt met Lange Zavelstraat tot kruispunt met Zetternamstraat), Helenalei, Henri La Fontainestraat, Henri Van Heurckstraat, Herderinstraat, Herderstraat, Hertsdeinstraat, Hof Ter Bekestraat, Hof Ter Elst; Hof Van Camp, Hollandstraat, Hopland, Hospitaalplein, Hoveniersstraat, Huybrechtsstraat, Ieperstraat, Italielei (van kruispunt met Kipdorpbrug tot kruispunt met Vondelstraat), Jacob Jacobsstraat, Jacob Jordaensstraat, Jan Baptist Verlooystraat, Jan Denucestraat, Jan Palfijnstraat (van kruispunt met Duinstraat tot kruispunt met Zetternamstraat), Jan Van Beersstraat, Jan Van Gentstraat, Jezusstraat, Jodenstraat, Jonghelinckstraat, Jozef Liesstraat, Jules Bordetstraat, Juliaan Dillensstraat, Karel Weylerstraat, Kattenstraat, Keizerstraat (van kruispunt met Prinsesstraat tot kruispunt met Koningstraat), Kelderstraat, Kerkstraat (van kruispunt met Carnotstraat tot kruispunt met Schapenstraat), Ketsstraat, Kielpark, Kielsevest, Kipdorp (van kruispunt met Sint-Jacobstraat tot kruispunt met Markgravestraat), Kipdorpbrug, Kipdorpvest, Klappeistraat, Kleinebeerstraat, Kleinehondstraat, Klipstraat, Kolonel Silvertopstraat, Kolveniersstraat, Koningin Astridplein, Korte Achteromstraat, Korte Altaarstraat, Korte Herentalsestraat, Korte Sint-Annastraat, Korte Van Bloerstraat, Korte Van Peltstraat, Korte Van Ruusbroecstraat, Korte Van Sterbeeckstraat, Korte Winkelhaakstraat, Korte Winkelstraat, Korte Zavelstraat, Kreeftstraat, Kruikstraat, Lammekensraamveld, Lammekensstraat, Lamorinierestraat (van kruispunt met Mercatorstraat tot kruispunt met Albert Grisarstraat), Lange Achteromstraat, Lange Altaarstraat, Lange Batterijstraat, Lange Beeldekensstraat (van kruispunt met Van Schoonhovenstraat tot kruispunt met Pollepelstraat), Lange Elzenstraat, Lange Herentalsestraat, Lange Kievitstraat, Lange Klarenstraat, Lange Leemstraat (van kruispunt met Cuperusstraat tot kruispunt met Lamornierestraat), Lange Leemstraat (van kruispunt met Consciensestraat tot kruispunt met Van Breestraat), Lange Nieuwstraat (van kruispunt met Kipdorpbrug tot kruispunt met Pruynenstraat), Lange Scholiersstraat (van kruispunt met Gasstraat tot kruispunt met Korte Scholierstraat), Lange Sint-Annastraat, Lange Van Bloerstraat (van kruispunt met Sint-Willibrordusstraat tot kruispunt met Korte Beeldekensstraat), Lange Van Ruusbroecstraat, Lange Van Sterbeeckstraat, Lange Winkelhaakstraat, Lange Winkelstraat, Lange Zavelstraat, Langegang, Leeuwerikstraat, Lemmestraat, Lentestraat, Leysstraat, Loosplaats, Louiza-Marialei, Lovelingstraat, Maaldersstraat, Magdalenastraat, Maria Pijpelincxstraat, Maria-Henriettalei, Marialei, Maria-Theresialei, Markgravelei (van kruispunt met Pyckestraat tot kruispunt met Arthur Goemaerelei), Meir (van kruispunt met Otto Veniusstraat tot kruispunt met Lange Klarenstraat), Meistraat, Memlingstraat, Mercatorstraat, Milisstraat, Minckelersstraat, Molenbergstraat, Montignystraat, Moonsstraat, Muizenstraat, Nachtegaalstraat, Neefsteeg, Nieuwstad, Nottebohmstraat, Offerandestraat, Olijftakstraat, Omheining Der Statie Van Borgerhout, Ommeganckstraat, Onafhankelijkheidslaan, Oostenstraat, Orgelstraat, Ossenmarkt, Osystraat, Otto Veniusstraat, Oudekerkstraat, Oudesteenweg (van kruispunt met Sint-Gunnarusstraat tot kruispunt met Vliegenstraat), Oudevaartplaats, Paardenmarkt (van kruispunt met Rodestraat tot kruispunt met Ilatielei), Paradeplein, Paradijsstraat, Parochiaanstraat, Pastorijstraat, Pater Pirestraat, Pelikaanstraat, Perenstraat, Pieter Van Hobokenstraat, Pijlstraat, Pionierstraat, Plantin En Moretuslei (van kruispunt met Charlottalei tot kruispunt met Montensstraat), Ploegstraat, Politeshofstraat, Pollepelstraat, Prinsesstraat, Prinsstraat (van kruispunt met Prinsesstraat tot kruispunt met Koningstraat), Provincieplaats, Provinciestraat, Pyckestraat, Quellinstraat, Quinten Matsijslei, Raafstraat, Ramstraat, Regentstraat, Rembrandtstraat, Richardstraat, Rijfstraat, Robert Molsstraat, Rockoxplein, Rodestraat, Rolwagenstraat, Rotterdamstraat, Rozenstraat, Rubenslei, Ryckmansstraat, Schaafstraat, Schorpioenstraat, Schupstraat, Schuttershofstraat (van kruispunt met Ketelstraat tot kruispunt met Maria Pijpelinckstraat), Sentensteeg, Serigiersstraat, Simonsstraat, Singel, Sint-Bernardsesteenweg (van kruispunt met Kolonel Silvertopstraat tot kruispunt met Sint-Catharinaplei), Sint-Elisabethstraat, Sint-Gummarusstraat, Sint-Jacobsmarkt, Sint-Jacobstraat, Sint-Jansplein, Sint-Laureisstraat (van kruispunt met Moonsstraat tot kruispunt met Diercxsensstraat), Sint-Maartenstraat, Sint-Willibrordusstraat, Snijdersstraat, Somersstraat, Spoorstraat, Stanleystraat, Statiestraat, Steenbokstraat, Stierstraat, Stoomstraat, Stoopstraat, Tabakvest, Teniersplaats, Tentoonstellingslaan, Terliststraat, Tien-Gebodensteeg, Troonplaats, Tuinbouwstraat, Tweelingenstraat, Van Arteveldestraat, Van Boendalestraat, Van Breestraat (van kruispunt met Van Eycklei tot kruispunt met Lange Leemstraat), Van Campstraat), Van Cuyckstraat, Van Den Nestlei, Van Der Keilenstraat, Van Diepenbeeckstraat, Van Ertbornstraat, Van Eycklei, Van Geertstraat, Van Immerseelstraat, Van Leriusstraat, Van Luppenstraat, Van Maerlantstraat, Van Noortstraat, Van Peltstraat, Van Putlei, Van Schoonhovenstraat, Van Spangenstraat, Van Stralenstraat, Van Trierstraat, Van Urselstraat, Van Varickstraat, Van Wesenbekestraat, Vestingstraat, Victor Driessensstraat, Violierstraat, Vlaamsekunstlaan (van kruispunt met Camile Huysmanslaan tot kruispunt met Volhardingstraat), Vliegenstraat, Vlijtstraat, Volhardingstraat, Vondelstraat, Waelrantstraat, Walenstraat, Walvisstraat, Wapper, Wetstraat, Willem Eekelersstraat, Willem Linnigstraat, Wipstraat, Wolfstraat, Zenobe Grammestraat, Zuidervelodroom, Zurenborgstraat, Zwanengang, Amethiststraat, Anjelierstraat, Apollostraat (van kruispunt met Mercuriusstraat tot kruispunt met Pastoor Baeyensstraat), Arbeidersstraat, Arthur Sterckstraat, Auwersstraat, Bacchuslaan, Baron De Catersstraat, Batkinstraat, Beernaertstraat, Belpairestraat (van kruispunt met Bindstraat tot kruispunt met Wijnstraat), Berchembrug, Berchemhofstraat, Berthoutstraat, Bindstraat, Binnensingel (van kruispunt met Luitenant Lippenslaan tot kruispunt met Grotesteenweg), Borsbeeksebrug, Breemheuvel, Burgemeester Edgard Ryckaertsplein, Callensstraat, Cameliastraat, Cogels-Osylei, Corneel Jaspersstraat, Corneel Van Reethstraat, Daenenstraat, De Brouwerstraat, De Fourneaustraat, De Villegasstraat, Dianalaan, Diksmuidelaan (van kruispunt met Rodekruislaan tot kruispunt met Zillebekelaan), Driekoningenstraat (van kruispunt met Van Campenhoutstraat tot kruispunt met Walemstraat, Drummondstraat, Edelgesteentenstraat, Edgar Tinelstraat, Eikelstraat, Euterpestraat, Ferdinand Coosemansstraat (van kruispunt met Generaal Drubbelstraat tot kruispunt met Walemstraat), Florent Bauduinstraat, Florent Cootmansplein, Frans Beckersstraat, Frans De Manstraat, Generaal Capiaumontstraat, Generaal Drubbelstraat, Generaal Van Merlenstraat, Gitschotellei, Granaatstraat, Grootveld, Guldenvliesstraat, Hagepredikerspad, Helderstraat, Herculusstraat, Jozef Balstraat, Jules Bilmeyerstraat, Junostraat, Jupiterstraat, Kanunnik Peetersstraat, Karel Coggestraat, Karel Janssensstraat, Klokstraat, Krijtstraat, Krugerstraat, Lankveldpad, Laurierstraat, Leemputstraat, Leerkens, Lodewijk Van Berckenlaan (van kruispunt met Saffierstraat tot kruispunt met Dianalaan), Maatschappijstraat, Maloustraat, Marcel Auburtinlaan (van kruispunt met Polygoonstraat tot kruispunt met Florent Bauduinstraat), Marsstraat, Meibloemstraat, Mercuriusstraat, Mimosastraat, Minervastraat, Morpheusstraat, Neptunusstraat, Orpheusplein, Pastoor Baeyensstraat, Patriottenstraat, Pieter Jozef Nauwelaertsstraat, Pieter Verbertstraat, Pioenstraat, Polygoonstraat, Posthofbrug, Posthoflei, Potvlietlaan, Pretoriastraat, Resedastraat, Robijnstraat, Rodekruislaan, Saffierstraat, Saturnusstraat, Schelpstraat, Sint-Lambertusstraat, Smaragdstraat, Statiestraat, Thaliastraat, Topaasstraat, Torenstraat, Tramplein, Transvaalstraat, Turkooisstraat, Uitbreidingstraat, Van Campenhoutstraat, Van Marsenillestraat, Van Vaerenberghstraat, Veldekens, Velodroomstraat, Victor Jacobslei, Vredestraat (van kruispunt met Mimosastraat tot kruispunt met Willem Van Laarstraat), Walemstraat, Wapenstilstandlaan, Wasstraat, Waterfordstraat, Waterloostraat, Weidestraat, Wijnstraat, Willem Van Laarstraat, Woeringenstraat, Woningenstraat, Zonnebloemstraat, Zurenborgbrug, Berchemlei, Bleekhofstraat, Bloemstraat, Borgerhoutsestraat, Bouwensstraat, Eliaertsstraat, Gitschotellei (van kruispunt met Dianalaan tot kruispunt met Apollostraat), Groenstraat, Helmstraat (van kruispunt met Turnhoutsebaan tot kruispunt met Groenstraat), Huybrechtsstraat, Jules Van Beylenstraat, Ketsstraat, Kroonstraat, Laar, Lammekensstraat, Langstraat (van kruispunt met Kroonstraat tot kruispunt met Mareestraat), Mareestraat(van kruispunt met Moorkensplein tot kruispunt met Langstraat), Marinisstraat, Milisstraat, Moorkensplein, Oedenkovenstraat, Plantin En Moretuslei (van kruispunt met Charlottalei tot kruispunt met Montensstraat), Rene Bosiersstraat, Reuzenpoort, Sergeyselsstraat, Sint-Erasmusstraat, Tuinbouwstraat, Turnhoutsebaan (van kruispunt met Districtsgrens tot kruispunt met Eliaertstraat), Van Daelstraat, Van Der Keilenstraat, Van Der Meydenstraat, Van Geertstraat, Van Leentstraat, Zonstraat
Toelichting normen voor autostalplaatsen en autoparkeerplaatsen: CROW kengetallen als basis voor de Antwerpse parkeernormen De autoparkeernorm baseert zich op de Nederlandse CROW-2 (Centrum voor Regelgeving en Onderzoek in de Grond-, Water- en Wegenbouw en de Verkeerstechniek)kengetallen. Deze kengetallen zijn een weergave van de actuele praktijk in Nederland. De lijst bestaat uit gebiedsspecifieke en gedifferentieerde kengetallen voor autoparkeren en dit voor meer dan honderd maatschappelijke functies. De autoparkeernormen in de bouwcode is een verwerking van de Nederlandse kengetallen voor de meest voorkomende functies in Antwerpen. Onderstaand wordt uitgelegd hoe we de kengetallen vertaald hebben naar parkeernormen voor de stad Antwerpen. De CROW parkeerkengetallen zijn opgenomen in tabellen. De onderstaande tabel is hiervan een voorbeeld. Verschillende begrippen spelen hierin een rol, met name:
Bron: CROW Stedelijkheidsgraad Met stedelijkheidsgraad wordt het aantal adressen per hectare bedoeld. Dit wordt door CROW op schaal van het ganse grondgebied van een stad/gemeente bekeken. Antwerpen heeft gemiddeld 21,9 woningen per hectare. Vanaf gemiddeld 15 tot 25 wo/ha behoort een stad als geheel tot de categorie sterk stedelijk. Voor de Antwerpse normen worden dus de categorie sterk stedelijk als basis genomen.
Stedelijke zone Ook binnen een sterk stedelijke context maakt de CROW een gebiedsgerichte differentiatie. Op basis van CROW onderzoek blijkt dat voor een functie in het centrum van de stad de parkeervraag lager is wanneer het aanbod en de kwaliteit van andere vervoerswijzen beter, respectievelijk hoger is. Voor een functie aan de rand blijkt de parkeervraag vaak hoger omwille van het meer beperkte aanbod en de lagere kwaliteit van andere vervoerswijzen. Er wordt een onderscheid gemaakt tussen:
Als we kijken naar de structuur van de Stad Antwerpen beschouwen we centrum als het gebied tussen Schelde en Ring van Eilandje tot Nieuw Zuid, met inbegrip van de districtskernen. Het overloopgebied of de centrumschil omvat de zone tussen de Ring en de R11, met inbegrip van Linkeroever. De rest bebouwde kom of het overige gebied omvat Ekeren en. De categorie buitengebied wordt niet gehanteerd in de Antwerpse context omdat dit niet voorkomt. De laagste normen vind je bijgevolg in de zone centrum omdat het openbaar vervoer daar het best is uitgebouwd. Deze centrumnormen zijn bijgevolg tevens van toepassing op de centra van districtskeren omdat ook hier het openbaar vervoer goed is uitgebouwd. In bijlage vind je een afbakening van deze districtscentra. Deze omvatten centrumvoorzieningen zoals een concentratie van commerciële voorzieningen, RVT’s,… Er wordt ook rekening gehouden met de morfologie en typologie van de kernen. In straten met bijvoorbeeld rijwoningen is het realiseren van bijkomende parkeerplaatsen complex. Hiermee wordt rekening gehouden in de afbakening van de keren. Bandbreedte De CROW kengetallen worden weergegeven als een gemiddelde of een vork met een minimum en een maximum. De bandbreedte in de CROW kengetallen refereert aan contextfactoren zoals de draagkracht van de omgeving en de relatie met andere modi (aanbod fiets, ov, …) maar geeft ook uitdrukking aan de schaal van de functie. Elke functie kan immers op verschillende schaalniveaus functioneren. Het bezoekersparkeren is in dit interval inbegrepen. In functie van de afdwingbaarheid van de normen is gekozen om geen bandbreedte te hanteren maar te werken met één vast getal, afhankelijk per functie en gebied. Enkel voor sociale huurwoningen wordt er een vork gehanteerd. Functies CROW onderscheidt 7 hoofdcategorieën waaronder 110 verschillende functies worden weergegeven. In de bouwcode worden in functie van hanteerbaarheid bepaalde functies geaggregeerd. Voor wonen wordt aan de hand van een ruimtelijke maat een onderscheid gemaakt tussen woningen groter dan 90m², woningen tussen 60 en 90 m² en woningen kleiner dan 60 m². Ook dit onderscheid is gebaseerd op de CROW-norm. Er is een rechtstreeks verband tussen de woninggrootte en het aantal auto’s dat men bezit. Hoe groter de woning des te vaker men meer dan één auto per gezin heeft. De bouwcode maakt eveneens onderscheid tussen woningen uit het reguliere woonaanbod en sociale woningen. Bewoners van sociale woningen bezitten in verhouding minder auto’s dan deze uit de reguliere woningmarkt. Daarnaast is het autobezit eveneens afhankelijk of het een eigenaar dan wel een huurder van een sociale woning betreft. Het aantal type supermarkten wordt in de bouwcode ten opzicht van de CROW-normen gereduceerd tot drie. Dit wordt bepaald op basis van de vloeroppervlakte. Een kleine winkel trekt eerder buurtbewoners aan, terwijl een grotere winkel klanten aantrekt vanuit een groter gebied. De drie types die worden onderscheiden zijn:
Stationsomgeving Voor stationsomgevingen wordt er afgeweken van de normtabel. De afbakening van de stationsomgeving wordt bepaald door een perimeter van 900 meter rond de stations (zie kaart stedelijke zones). Uit onderzoek blijkt dat na 900 meter het effect van de aanwezigheid van het station voor lopen en fietsen sterk daalt. De criteria voor de selectie van deze stations zijn:
De geselecteerde stations op het grondgebied van Antwerpen zijn:
Antwerpen - Luchtbal wordt voorlopig nog niet opgenomen in de selectie aangezien deze niet voldoen aan het aantal verbindingen per uur. Indien deze in de toekomst wel voldoet gelden de bovenstaande normen hier ook in de toekomst.
voetnoten
1 Indien bij de straatnaam huisnummers vermeld staan omvat deze telkens de oneven en/of even reeks.
2 CROW is het Nederlandse nationale kennisplatform voor infrastructuur, verkeer, vervoer en openbare ruimte.
| |||||||||||||||||||||||||||||||||||||||||||||||||||||||||||||||||||||||||||||||||||||||||||||||||||||||||||||||||||||||||||||||||||||||||||||||||||||||||||||||||||||||||||||||||||||||||||||||||||||||||||||||||||||||||||||||||||||||||||||||||||||||||||||||||||||||||||||||||||||||||||||||||

![i_SVO_11002_233_10007_00002_100000.png [image]](i_SVO_11002_233_10007_00002_100000.png)
![i_SVO_11002_233_10007_00002_100001.png [image]](i_SVO_11002_233_10007_00002_100001.png)
![i_SVO_11002_233_10007_00002_100002.png [image]](i_SVO_11002_233_10007_00002_100002.png)
![i_SVO_11002_233_10007_00002_100003.png [image]](i_SVO_11002_233_10007_00002_100003.png)
![i_SVO_11002_233_10007_00002_100004.png [image]](i_SVO_11002_233_10007_00002_100004.png)
![i_SVO_11002_233_10007_00002_100005.png [image]](i_SVO_11002_233_10007_00002_100005.png)
![i_SVO_11002_233_10007_00002_100006.png [image]](i_SVO_11002_233_10007_00002_100006.png)
![i_SVO_11002_233_10007_00002_100007.jpg [image]](i_SVO_11002_233_10007_00002_100007.jpg)
![i_SVO_11002_233_10007_00002_100008.jpg [image]](i_SVO_11002_233_10007_00002_100008.jpg)
![i_SVO_11002_233_10007_00002_100009.png [image]](i_SVO_11002_233_10007_00002_100009.png)
![i_SVO_11002_233_10007_00002_100010.png [image]](i_SVO_11002_233_10007_00002_100010.png)
![i_SVO_11002_233_10007_00002_100011.png [image]](i_SVO_11002_233_10007_00002_100011.png)
![i_SVO_11002_233_10007_00002_100012.png [image]](i_SVO_11002_233_10007_00002_100012.png)
