BPA NR.3 HEISTRAAT EN OMGEVING

 

VOORAFGAAND ARTIKEL ALGEMENE BEPALINGEN

 

0.01 Terminologie en definities

voor de toepassing van de onderhavige voorschriften wordt verstaan onder:

1. AANEENGESLOTEN GEBOUW

 
Gebouw waarvan de beide zijgevels op de perceelgrens zijn geplaatst.

2. ACHTERGEVELBOUWLIJN

 
Grens tussen de bouwzone en de zone voor binnenplaatsen en tuinen.

3. AMBACHTELIJK BEDRIJF

 
Bedrijf betrekking hebbend op een ambacht, een vak.

4. AMBACHTELIJKE NIJVERHEID

 
Nijverheid uitgevoerd door ambachtslieden (in tegenstelling tot fabrieksnijverheid).

5. AUTOBERGPLAATS

 
Gebouw geschikt voor het stallen van een of meer auto’s met uitsluiting van enig bedrijf.

6. BALKON

 
Open uitbouw op de bovenverdieping van een huis.

7. BEBOUWINGSCOEFFICIENT

 
De verhouding van de bebouwde grondoppervlakte tot de totale perceelsoppervlakte.

8. BEDAKING

 
Wijze waarop een gebouw is afgedekt en wordt afgedekt.

9. BENEDENVERDIEPING

 
Laagste of lagere verdieping van een huis.

10. BERGPLAATS

 
Gebouw dat tot berging wordt aangewend, met uitsluiting van enig bedrijf.

11. BIJGEBOUW

 
Gebouw in de tuinstroken, in principe afzonderlijk van het hoofdgebouw opgericht.

12. BOUWHOOGTE

 
Hoogte van een bouwwerk die, indien niet anders aangeduid, moet worden gemeten van het peil van het grondpeil tot de bovenkant van de deklijst of kroonlijst.

13. BOUWLIJN

 
Lijn waarop de voorgevel van een gebouw is geplaatst.

14. BOUWSTROOK

 
Strook die over haar gehele diepte voor bebouwing in aanmerking komt.

15. BOUWVRIJE STROOK

 
Strook waarin, behoudens speciale bepalingen, geen constructies mogen worden opgericht.

16. BOUWVRIJE VOORTUINSTROOK

 
Strook grond, met een bepaalde diepte, gelegen tussen de rooilijn en de voorgevelbouwlijn.

17. BOUWVRIJE ZIJTUINSTROOK

 
Strook grond, met een bepaalde breedte, gelegen tussen de zijgrens van een perceel en de vrijstaande zijgevel van een kopgebouw of van een vrijstaand gebouw en waarvan de diepte gelijk is aan die van de aanpalende bouwstrook.

18. BOVENVERDIEPING

 
Verdieping, hoger dan het gelijkvloers.

19. CONSTRUCTIE

 
Elk bouwwerk van hout, steen, metaal of ander bouwmateriaal dat hetzij met de grond verbonden is, hetzij op de grond geplaatst is en zodanige afmetingen heeft dat het niet zonder voorbereidende werkzaamheden kan worden verplaatst.

20. DAKBASIS

 
Denkbeeldig vlak dat de beide vlakken van een zadeldak in hun onderste zijde evenwijdig met de nok snijdt.

21. DAKKAPEL

 
Hoog geplaatst dakvenster met spitse kap.

22. DAKKEEL

 
Laagte tussen twee aaneensluitende schuine daken.

23. DAKRAAM

 
Raam in de helling van een dakvlak.

24. DAKTERRAS

 
Dak van een huis of een deel ervan dat is aangelegd om erop te verblijven.

25. DAKTUIN

 
Terras op een vlak dak met beplanting in een aardlaag of in bakken.

26. DAKVENSTER

 
Uit het dakvlak uitspringend venster.

27. ERKER

 
Uitbouwsel aan een gevel dat zich over een of meer verdiepingen uitstrekt.

28. EENSGEZINSHUIS

 
Huis dat voor bewoning voor een gezin bestemd is.

29. GEBOUW

 
Elk bouwwerk dat een voor mens toegankelijke, overdekte, geheel of gedeeltelijk met doorgaande muren omsloten ruimte vormt.

30. GEGROEPEERDE BEBOUWING

 
Bebouwingswijze waarbij kleine groepen van gelijkvormige gebouwen, huizenblokken genaamd, worden afgescheiden door bouwvrije zijtuinstroken.

31. GEKOPPELDE BEBOUWING

 
Bebouwingswijze waarbij twee gelijkvormige gebouwen worden geplaatst op dezelfde zijgrens van een perceel en op eenzelfde bouwlijn, zodat zij een harmonisch geheel vormen.

32. GELIJKVLOERS

 
Op dezelfde hoogte als de vloer of de begane grond.

33. HANDELSINRICHTING

 
Gebouw bestemd voor het exploiteren van een handelszaak, met uitsluiting van elk ander bedrijf en al dan niet samengaande met de bewoning van een deel van het gebouw.

34. HOEKGEBOUW

 
Gebouw opgericht op een perceel dat aan twee straten paalt op de plaats waar deze elkaar kruisen.

35. HOK

 
Gebouw bestemd voor het onderbrengen van huisdieren zonder handels- of bedrijfsdoeleinden.

36. HOOFDGEBOUW

 
Bouwvolume dat begrepen is binnen de belijning van het maximum - profiel.

37. HUIS

 
Bouwwerk dat tot woning van mensen dient.

38. HUIZENBLOK

 
Groep van twee of meer gebouwen die aan beide uiteinden met een kopgebouw of hoekgebouw zijn afgewerkt.

39. KELDER

 
Gedeelte van een huis (gebouw) dat beneden het terreinpeil ligt tussen de fundering en de begane grond.

40. KELDERVERDIEPING

 
Verdieping geheel of gedeeltelijk onder de grond (souterrain).

41. KLEINBEDRIJF

 
Bedrijf op een kleine schaal waarvan het bestaan of de werking, uit het oogpunt van rust en hygiëne, verenigbaar is met de eisen in een woongebied.

42. KLOKGEVEL

 
Gevel welks top de vorm van de doorsnede van een klok heeft.

43. KOPGEBOUW

 
Gebouw aan een der uiteinde van een huizenblok en waarvan de vrijstaande zijgevel als een voorgevel is afgewerkt.

44. LESSENAARSDAK

 
Dak bestaande uit een hellend vlak, gelijkend op een lessenaar.

45. LUIFEL

 
Afdak aan de voorgevel of aan de vrijstaande zijgevel van een gebouw.

46. LOGGIA

 
Gesloten glazen veranda aan gevels.

47. MANSARDEDAK

 
Kap waarbij de dakvlakken niet van de goot tot nok een plat vlak, doch twee platte vakken vormen die elkaar onder een stompe hoek ontmoeten.

48. MAXIMUMPROFIEL

 
Tekening van de verticale doorsnede van een gebouw, met aanduiding van de maximum afmetingen en verhoudingen waaruit behoudens de toegelaten uitsprongen geen enkel deel van de op te richten gebouwen mag uitsteken, tenzij door toepassing van een uitzonderingsregel afwijking kan worden verleend.

49. PUNTDAK

 
Kegel- of piramidevormig dak. Dak waarvan de beide zijden naar elkaar toehellen zodat de dwarse doorsnede de vorm van een scherpe hoek heeft.

50. PUNTGEVEL

 
Naar boven tot in de punt uitlopende gevel.

51. SCHEIDSMUUR

 
Gevel van een gebouw die is opgericht op de grens van twee ervan.

52. SCHILDDAK

 
Dak dat uit vier schuine vlakken bestaat. Bij kopgebouwen echter uit 3 schuine vlakken. Synoniem = wolfsdak

53. TENTDAK

 
Dak met vier vlakken die in één punt samenkomen.

54. TOPGEVEL

 
Gevel die een top vormt, deel van een gevel dat het dak naar voren afsluit, inz. recht toeloopt. (tegengesteld: trapgevel).

55. TRAPGEVEL

 
Geveltop van een huis (gebouw) die naar boven toe trapsgewijs versmalt.

56. STRAATBEELD

 
Het visuele beeld van de straat, gevormd door de gevels, de uitrusting, de meubilering, en de activiteiten in een straat.

57. STRAATWAND

 
De samenvoeging van alle gevels en bouwelementen tussen twee straathoeken.

58. UITBOUW

 
Uitspringend aanbouwsel zonder bovenverdieping.

59. UITSPRONG

 
Uitspringend aanbouwsel zonder bovenverdieping.

60. VERDIEPING

 
Elk der afdelingen waarin een gebouw door horizontale scheidingsvlakken verdeeld wordt. Ruimte tussen twee vloeren.

61. VOORGEVELBOUWLIJN

 
Denkbeeldige lijn die op de plaatsen zonder voortuinzone samenvalt met de rooilijn, en op de andere plaatsen de grens vormt tussen de voortuinzone en de bouwstrook; bij hoekgevels ligt ze aan de smalste zijde van de kavel.

62. VRIJSTAANDE BEBOUWING

 
Bebouwingswijze waarbij, de beide zijgevels van een gebouw op een minimale afstand van de perceelgrenzen geplaatst zijn.

63. VRIJSTAANDE GEVEL

 
Gevel of gedeelte van een gevel waartegen niet wordt aangebouwd.

64. V/T

 
Verhouding tussen de som van de totale oppervlakte der bovengrondse vloeren (zgn. technische verdieping inbegrepen) en de betrokken grondoppervlakte.

Ondergrondse constructies of kelderverdiepingen die niet meer dan 1,5m boven het maaiveld uitkomen worden niet meegerekend in de totale vloeroppervlakte.

De afmetingen worden buitenwerks gemeten.

65. WONING

 
Huis of deel van een huis waarin men zijn vast verblijf houdt.

66. WOONGEBOUW

 
Bouwwerk dat een vrij groot aantal woningen in zich verenigt.

67. WOONHUIS

 
Huis tot een woning ingericht of waar men woont (tegenstelling met kantoor, winkel,e.a.)

68. ZADELDAK

 
Dak gevormd door twee gelijkhellende dakvlakken die in een nok samenkomen.

69. ZONE

 
Gebied binnen zekere begrenzingen waarbinnen bepaalde voorschriften gelden met betrekking tot het bouwen of niet bouwen, en tot het inrichten.

0.02 Algemeen geldige voorschriften

 

1 Algemene bestemmingsvoorschriften

 
Zonering

De volgende zones worden onderscheiden:

 

Voor ieder van deze zones zijn de hoofdbestemming en verschillende nevenbestemmingen bepaald, die al dan niet beperkt toegelaten worden. Deze zones zijn voor elk perceel of gedeelte van een perceel voorgesteld op het bestemmingsplan.
De beperkingen en voorwaarden zijn omschreven in de respectievelijke artikelen, waarvan de onderstaande tabel een schematisch overzicht weergeeft, en waarbij voor de gebruikte tekens de volgende verklaring geldt:

H: voorgeschreven hoofdbestemming

T: toegelaten nevenbestemming, mits opgelegde beperkingen en verplichtingen

0: niet toegelaten bestemming

Be: toegelaten nevenbestemming, alleen op benedenverdieping

1: toegelaten nevenbestemming op één verdieping, hetzij beneden-, hetzij bovenverdieping

Bu: Gemeenschapsvoorzieningen op buurtniveau toegelaten

 

In de op het bestemmingsplan aangeduide winkelstraten en centrumzones, mogen winkel- en horecabedrijven steeds de beneden- en de eerste bovenverdieping omvatten.

 

 [image]

 

 

2 Algemene bouwvoorschriften

 

a) Algemene bepalingen

De hoogte en de diepte van de gebouwen, de gevelopbouw en gevelgeleiding, de bedaking, de aard, de toepassing en de kleur van de gevelmaterialen, de dakbedekking, de schrijnwerken, de beglazing en de buitenschilderingen moeten in harmonie zijn met het straatbeeld, d.w.z. met die huizen daarin, welke inzake harmonische samenhang gezamenlijk het talrijkst en dus kenmerkend voor de betreffende straat kunnen genoemd worden.

In een straat waar meer dan de helft van het aanwezig aantal huizen nieuw of onherkenbaar verbouwd zijn, zal worden nagegaan in hoever deze gezamenlijk voldoende harmonisch samenhang vertonen om zodanig wezenlijk als toonaangevend, dus zowel inzake aantal als inzake harmonie, te kunnen gelden. Is dit voor de helft of meer huizen in die straat het geval, dan zal deze nieuwe harmonische samenhang bepalend zijn voor verdere nieuwbouw. Is dit niet voor de helft of meer huizen in die straat het geval, dan zal de harmonisch samenhang van de nog bestaande oorspronkelijke huizen bepalend zijn voor de verdere nieuwbouw en verbouwing.

 

b) Autobergplaatsen in de bouwvrije zijtuinstrook

De oprichting van een autobergplaats in de bouwvrije zijtuinstrook of de eerste 10 m van de strook voor binnenplaatsen en tuinen kan, indien niet op de kaart voorzien, slechts worden toegestaan op voorwaarde dat:

  1. de plaatsing op de perceelgrens van afzonderlijke bijgebouwen in het betrokken gebied is toegelaten ingevolge de voorschriften vervat in de volgende artikelen;

  2. door de aanvrager een door de eigenaar van het aanpalende perceel, op de zijgrens waarvan de autobergplaats zal worden opgericht, ondertekende verklaring wordt voorgelegd waaruit blijkt:
    - dat hij kennis heeft van het bouwplan van de aanvrager
    - dat het hem bekend is dat, bij de oprichting van een afzonderlijke autobergplaats op zijn perceel, aan hem of zijn rechtsverkrijgenden de verplichting zal worden opgelegd tot plaatsing ervan op dezelfde bouwlijn en tot uitvoering ervan in hetzelfde gevelmateriaal.

 

3 Parkeerruimten Laad- en losplaatsen

 

A. Algemene voorschriften:

  1. Binnen de grenzen van het perceel waarop een gebouw wordt opgericht of verbouwd en binnen en bouwstrook of op een daartoe overeenkomstig de stedenbouwkundige voorschriften specifiek bestemde plaats dient tegelijkertijd een parkeerruimte en/of laad- en losplaats te worden aangelegd met een stallingscapaciteit of grootte zoals hierna bepaald onder C. Om in aanmerking te komen moet de parkeerruimte beantwoorden aan D hierna.

 

  1. Indien het niet mogelijk of niet wenselijk is de vereiste parkeerruimte geheel of gedeeltelijk op het bouwperceel te voorzien, kan , door het College van burgemeester en schepenen vergunning worden verleend om de parkeerruimte aan te leggen op een perceel of te voorzien in een gebouw dat gelegen is of zich bevindt in een straal van vierhonderd meter, gemeten vanaf de grenzen van het bouwperceel, en eigendom van de aanvrager of de verlener van het bouwrecht.

  2. Indien de vereiste parkeerruimte, zoals bepaald onder de punten 1 en 2 hierboven, geheel of gedeeltelijk niet kan of mag worden aangelegd zal door de aanvrager een belasting of compensatoire vergoeding aan het gemeentebestuur moeten worden betaald naar rato van de ontbrekende parkeerruimte, zodra deze is vastgesteld door de gemeenteraad en goedgekeurd door de hogere overheid.

 

  1. Voor de toepassing van het voorschrift vermeld onder A2 dient ermee rekening te worden gehouden dat een parkeerruimte slechts in aanmerking kan worden genomen voor zover zij nog niet werd geteld om te voldoen aan de verplichting voor een ander gebouw.
    Daarenboven moet die parkeerruimte aangelegd zijn of ingericht in een gebouw overeenkomstig een bouwvergunning die na 11 november 1964 is afgegeven of een vergunning conform art. 6.1.2. i), van de bouw- en woningverordening.

 

 

B. Gegevens te verstrekken door de aanvrager

  1. elke bouwaanvraag moet worden aangevuld met een berekeningsnota waaruit blijkt dat aan de vereiste stallingscapaciteit in verband met het bouwwerk is voldaan.

 

  1. op het grondplan dat bij een bouwaanvraag is gevoegd moeten de parkeervakken aangeduid zijn dmv. rechthoekjes die voldoen aan de onder F hierna bepaalde minimale afmetingen.
    Op dat grondplan moeten ook de toegangen met hun afmetingen duidelijk worden getekend.

 

  1. Indien de parkeerruimte buiten het bouwperceel is voorzien moet bij de aanvraag een kadasteruittreksel of geregistreerde eigendomstitel worden gevoegd van het perceel waarop de parkeerruimte is voorzien.

 

  1. indien het perceel waarop de parkeerruimte zal worden aangelegd op het grondgebied van een andere gemeente ligt dan die waarop het hoofdgebouw wordt gebouwd, dient door de aanvrager een attest bij het dossier te worden gevoegd, afgegeven door het betrokken gemeentebestuur, waarbij bevestigd wordt enerzijds dat de grond nog niet als parkeerplaats is aangewend voor een ander gebouw en anderzijds dat er vanwege het gemeentebestuur geen bezwaar bestaat tegen het aanleggen van het terrein als parkeerruimte.

 

  1. indien de bouwaanvraag betrekking heeft op verbouwingswerken moet uit de aanvraag de bestaande toestand blijken wat de bestaande bestemmingen en hun oppervlakte ervan betreft

 

C. Bepalingen van de vereiste stallingscapaciteit

 

1. Vloeroppervlakte: berekeningswijze

  1. De vloeroppervlakte wordt buitenwerks gemeten tussen de buitenwanden van de gevelmuren van alle ruimten die kunnen worden afgesloten zonder rekening te houden met de onderbrekingen door scheidingsmuren of verticale dienstwegen.

  2. De vloeren van de lokalen die zich beneden het gelijkvloers bevinden worden evenwel niet meegerekend. Alleen de vloeren met een binnenwerks gemeten vrije hoogte van tenminste 2,20m worden meegerekend.

 

2. Nieuwbouw, verbouwing, gebruikswijziging

De normen uit 85.3 gelden:

  1. Bij gebruikswijziging zonder verbouwing: voor het gedeelte waarvan de bestemming wordt gewijzigd dient de norm voor wat betreft de nieuwe bestemming toegepast..

  2. De gebruikswijziging van overeenkomstig onderhavige voorschriften aangelegde parkeerruimte kan alleen mits voorafgaande compensatie voor wat betreft de ontbrekende stallingsplaatsen overeenkomstig art. A1 tot en met A3.

  3. Voor verbouwing, uitbreiding of nieuwbouw gepaard gaand met gehele of gedeeltelijke afbraak, waarbij de toestand vóór de ingreep duidelijk kan vastgesteld worden op het ogenblik van de aanvraag:

  • zonder bestemmingswijziging: alleen voor bijkomende woningen of schijven als bedoeld in D hierna.

  • met bestemmingswijziging: alleen voor het gedeelte waarvan de bestemming wordt gewijzigd plus de eventuele uitbreiding van dit gedeelte.

  1. In alle andere gevallen: in hun geheel

 

D. Normen:

De eerste kolom geeft aard of bestemming aan, de tweede het aantal vereiste stallingsplaatsen en laad- en losplaatsen.

woningen

1 per woning, vrijstelling: voor de eerste woning of de onderste woonlaag per perceel
voor sociale woningbouw : aanleg 60%, 40% ruimtereservatie..

winkels, cafés, restaurants, hypermarkten, superbazaars, supermarkten, winkelgalerijen, exporuimten

0-100m² vloeroppervlakte: geen

100 m² – 1000m²: 1 per schijf van 100m²

gedeelte boven 1000m² (*): + 1 per bijkomende schijf van 10 m² + 1 eigen laad en losplaats op eigen terrein per schijf van 1000m²

werkplaatsen, ambachtelijke bedrijven, fabrieken, kleinnijverheid, garagebedrijven, groothandelszaken

0 – 100m² vloeroppervlakte: geen

100 – 1000m²: 1 per schijf van 100m²

meer dan 1000m²(*): idem + 1 laad- en losplaats op eigen terrein per schijf van 1000m²

NB : afwijking (cfr. 85.5)

 

Kantoren

0 – 100m² vloeroppervlakte: geen

100 – 1000m²: 1 per schijf van 100m²

gedeelte boven 1000m²(*): 1 per bijkomende schijf van 50m²

Bioscopen, concertzalen, schouwburgen, vergaderzalen

1 per 10 zitplaatsen

Inrichtingen voor sport en recreatie

1 per 10 toeschouwers + sportbeoefenaars (maximale capaciteit)

Hotel of collectieve woning (studentenkamers, pension, seniorie,…)

1 per 3 kamers

Klinieken of bejaardentehuizen

1 per 4 bedden

Onderwijsinrichtingen

1 per klas

(*) 1000m²: er dient uitgegaan van de totale omvang van de inrichting.

 

E. Afwijkingen

  1. Afwijkingen van bovenstaande normen kunnen alleen worden toegestaan voor gebouwen die als monument gerangschikt zijn of gelegen zijn in een beschermd landschap, in een herwaarderingsgebied of een gebied dat overeenkomstig de bepalingen van het gewestplan een culturele, historische of wetenschappelijke waarde heeft.

 

  1. Op verzoek van de aanvrager kan, bij industriële of ambachtelijke gebouwen, de berekening van de vereiste parkeerruimte naar rato van 1 parkeerplaats per 5 tewerkgestelde personen wanneer een nieuw gebouw wordt opgericht en per 5 supplementair tewerkgestelde personen wanneer een bestaande inrichting wordt verbouwd.

 

F. Afmetingen en toegankelijkheid van parkeerplaatsen en laad- en losplaatsen

 

1. Minimale afmetingen van stallingsplaatsen, laad- en losplaatsen en hun toegangen

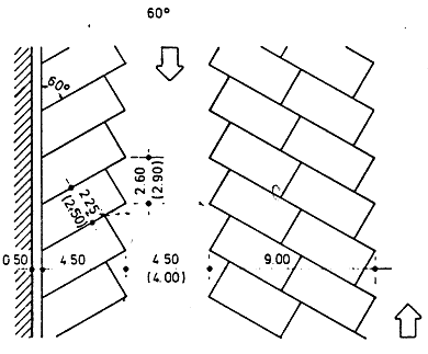
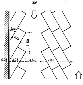
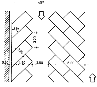
Opdat een stallingsplaats in aanmerking zou kunnen worden genomen bij de berekening van de stallingscapaciteit moeten de afmetingen overeenstemmen met de minima aangegeven op fig.1 en 2. Ook de toegangswegen moeten de op deze figuren aangegeven minimumafmetingen hebben.
De op deze figuren tussen haakjes vermelde alternatieven mogen slechts samen worden toegepast als volgt: bij een kleinere breedte van de toegangsweg hoort een grote breedte van de stallingsplaats.
Opdat een laad- en losplaats in aanmerking zou kunnen worden genomen moet ze min. 4 bij 15m meten, rechtstreeks toegankelijk zijn vanaf de openbare weg voor vrachtwagens waarvan de lengte met die van de laad- en losplaats correspondeert.

 

2. Toegankelijkheid van de stallingsplaats

Elke parkeerplaats moet aan de toegangsweg grenzen. Bij wijze van uitzondering is het evenwel toegelaten bij woon- en kantoorgebouwen parkeerplaatsen te voorzien die slechts kunnen worden ingenomen na eventuele verplaatsing van één ander autovoertuig.

 

3. In- en uitritten

  1. Op de rooilijn mag de gezamenlijke breedte van in- en uitritten naar garages, parkeerplaatsen en laad- en losplaatsen niet meer bedragen dan 1/3 van de perceelsbreedte op die rooilijn gemeten, met een maximum van 2 in- en/of uitriten van elk 4m per perceel, tenzij de perceelsbreedte dit niet toelaat

  2. De helling van een op- of afrit mag over een afstand van 5m, gemeten vanaf de rooilijn, niet meer dan 4% bedragen.

 

 

fig. 1 Parkeerruimte en toegangen: vakken 90° en 60°

 

 [image]

 

 [image]

 

 

fig. 2 Parkeerruimten en toegangen: vakken 45° en 30°

 

 [image]

 

 [image]

ZONERINGEN

 

ARTIKEL 1 ZONE A VOOR WONINGEN

 

Algemeen ordeningsvoorschrift

 

Deze woonzone wordt gevormd door die, reeds bebouwde, gebiedsdelen waar de woonfunctie primeert, doch waar tevens een, in hoofdzaak op buurt- en wijkniveau afgestemde dienstverlening, handels- en ambachtelijke bedrijvigheid aanwezig is. Deze functievermenging kan, voor zover ze niet hinderlijk is voor de woonfunctie, behouden worden of zelfs worden uitgebreid.

 

HOOFDSTUK I BESTEMMINGSVOORSCHRIFTEN

 

1.- BESTEMMING

 

a) Hoofdbestemming

Onbeperkt toegelaten: wonen: eengezinshuizen, meergezinshuizen

b) Nevenbestemming

Per pand is, naast de hoofdbestemming, slechts een der volgende nevenbestemmingen toegelaten, die, op buurtniveau, omwille van hun specifieke en frequente relatie tot het publiek, noodzakelijkerwijze en eng verbonden zijn met de woonfunctie en hiervoor geen abnormale hinder veroorzaken.

    • kleinwinkelbedrijven (enkel toegelaten op de benedenverdieping)

    • horecabedrijven, exclusief hotels (enkel op de benedenverdieping)

    • verzorgende bedrijven (enkel toegelaten op de benedenverdieping)

    • kantoren (hetzij op de benedenverdieping, hetzij op de eerste bovenverdieping)

    • gemeenschapsuitrusting

 

2.- AFWIJKINGSREGEL OP GROND VAN DE BESTAANDE TOESTAND

    1. Bestaande inrichtingen, gelegen binnen de grenzen van deze zone, die strijdig zijn met de toegelaten bestemmingen en geen abnormale hinder veroorzaken, mogen behouden blijven en zo nodig uitgebreid worden, mits te voldoen aan de bouwvoorschriften en voor zover ze geen bijkomende hinder veroorzaken voor de omringende bewoning.
      Bij stopzetting van de activiteiten en/of afbraak der bestaande constructies, dient de nieuwe bestemming in overeenstemming te zijn met de toegelaten bestemmingen.

    2. De voorschriften bij nieuwe verkavelingen kunnen bovenstaande bestemmingen nader specifiëren of beperken.

 

 

HOOFDSTUK II BEBOUWINGSVOORSCHRIFTEN

 

DEEL 1 HOOFDGEBOUWEN

 

1.- ALGEMEEN ORDENINGSVOORSCHRIFT

Woonhuizen met traditionele basisvormen (in hoofdzaak rechthoekig grondvlak) met inzonderheid langsheen de historisch gegroeide straten Heistraat en Laarstraat, bij voorkeur een schuine bedaking, om deze nog dominante dakvorm te bestendigen en verder te ontwikkelen.
Door de schuine dakvorm, evenals door de vrijstaande en verspringende puntgevels, wordt het dakenspel en de nog bestaande relatieve kleinschaligheid verder beklemtoond.
In straten met een overwegend of uitsluitend platte dakvorm, kan deze vorm behouden blijven of kan, als overgangsvorm, een vermenging van plat en schuin dak worden toegestaan.
Bij eengezinshuizen zijn de hoofdzakelijke daglokalen op de benedenverdieping te situeren, zodat de eigen tuin er a.h.w. de verlenging der woonruimten is.

2.- BEBOUWINGSWIJZE

 

a) Bij vernieuwbouw of wederopbouw

Aaneengesloten, gekoppeld of vrijstaand, zoals de bestaande toestand

b) De achtergevel van het hoofdgebouw, op de bovenverdieping

Aaneengesloten of gegroepeerd, met dien verstande dat aan de blinde scheidsmuur van reeds bestaande gebouwen, steeds dient aangebouwd te worden.

 

3.- PLAATSING VAN DE GEBOUWEN

 

a) Voorgevel en naar de straat gerichte zijgevel

Ofwel, op de voorgevelbouwlijn/rooilijn, tenzij voor een goede ruimtelijke ordening, of bij aansluiting aan de bestaande bebouwing met een voortuinstrook, het noodzakelijk of wenselijk is een voortuinstrook of achteruitbouwstrook in acht te nemen.
Ofwel, op de voorgevelbouwlijn, op die plaatsen waar een voortuinstrook opgelegd, of reeds aanwezig is.
De diepte van de voortuinstrook zal, naargelang het geval, gelijk zijn aan de diepte van de bestaande voortuinen, ofwel bij nieuwe gevallen, minimum 6m en maximum 10m bedragen.

b) De achtergevel van het hoofdgebouw, op de bovenverdieping

Wordt bepaald door de determinerende achtergevels van de bestaande naastliggende woning, waarbij voor de bovenverdieping(en) een afwijking in méér dan maximum 2m kan worden toegestaan, met dien verstande dat de bouwdiepte der nieuwe gebouwen minimum 9m bedraagt, en het maximum profiel niet wordt overschreden.

c) De afstand van de vrijstaande achtergevel tot de achtergrens van het perceel

De afstand van de vrijstaande achtergevel van de benedenverdieping en/of de bovenverdieping(en) tot de achtergrens van het perceel, moet in elk geval minstens 5m bedragen, zonder dat hij evenwel kleiner mag zijn dan de hoogte van de vrijstaande achtergevel.

d) Bij gekoppelde of vrijstaande bebouwing

Kop- en zijgevels: op minimum 3,00m afstand van de perceelgrens.

4.- AFMETINGEN VAN DE GEBOUWEN

 

a) Bouwhoogte

Binnen de op verder vermelde maximum-profielen zijn volgende bouwhoogten vastgesteld:

 

1) Gebouwen met 1 bovenverdieping

zijn verplicht in de:
Gaston Fabrélaan
Overwinningstraat

2) Gebouwen met 1 of 2 bovenverdiepingen

zijn toegelaten aan de :
August Van Daelstraat
J. De Groofstraat
Fr. Nagelsplein
J. Kenneslaan
Heistraat
Laarstraat (oneven nummers)
met dien verstande echter dat het aantal bovenverdiepingen in harmonie is met de bouwhoogte van de aanpalende gebouwen, of er mee in harmonie wordt gebracht.

 

3) Gebouwen met 2 bovenverdiepingen

zijn verplicht aan de:
Boomse Steenweg (oneven nummers)
Rozenkransplein
Kruishofstraat
Berkenlaan (oneven nummers)

 

b) Bouwdiepte

Zie maximum profielen

1) algemene regel

De diepte van de benedenverdieping der hoofdgebouwen moet in harmonie zijn met de aanpalende gebouwen. Desbetreffende kan niet gerefereerd worden naar bestaande bouwdiepten die niet in overeenstemming of storend zijn met de omgeving.

2) bouwdiepte bij verkaveling of bij nieuwbouw op reeds gevormde percelen

    • benedenverdieping:
      bij percelen met een diepte van 30m en minder:
      maximum bouwdiepte 13,00m.
      bij percelen met een diepte van 30m en méér:
      maximum bouwdiepte 17,00m

    • bovenverdieping(en):
      minimum bouwdiepte: 9,00m
      maximum bouwdiepte: zie maximum profielen en de bepalingen van
      artikel 1, hoofdstuk II, deel 1, 3. b en c hiervoor

3) bouwdiepte bij aanbouw aan bestaande bebouwing

Bij aanbouw aan de bestaande gebouwen waarvan de bouwdiepte deze van de maximum – profielen overtreft kan, om de toetreding van licht en lucht te bevorderen, de bebouwing van de benedenverdieping inzake oriëntering op de meest gunstige wijze worden uitgeput, zonder evenwel de maximum toegelaten bouwoppervlakte te overschrijden.
De bouwdiepte der bovenverdieping(en) bedraagt minimum 9,00m en wordt als maximum begrensd door de verbindingslijn tussen twee punten, gelegen op 2m achter de achtergevel van de aanpalende gebouwen, gemeten op de perceelgrens, waarbij echter de maximum bouwoppervlakte (gevelbreedte x maximum bouwdiepte) niet wordt overschreden en er rekening wordt gehouden met de bepalingen van
artikel 1, hoofdstuk II, deel 1, 3. b en c hiervoor

 

c) Afwijkingsregel op grond van de bestaande toestand

Aan de bouwdiepten en bouwhoogten, hiervoor vermeld, kan afwijking worden verleend met betrekking tot het aanpassen van nieuwbouw aan de bestaande gebouwen der naastliggende panden, voor zover:

    • het één huis betreft gelegen tussen twee bestaande huizen

    • er bij percelen van 9m breedte en méér, een overgangsprofiel wordt gerealiseerd van een hoogte van het bestaande gebouw, naar een hoogte voorzien in het nieuwe profiel.

 

Maximum profielen

 

A.- Gebouwen met één bovenverdieping onder schuin dak

 

 [image]

B.- Gebouwen met twee bovenverdiepingen onder schuin dak

 

 [image]

 

C.- Gebouwen met één bovenverdieping onder plat dak

 

 [image]

D.- Gebouwen met twee bovenverdiepingen onder plat dak

 

 [image]

 

5.- WELSTAND VAN DE GEBOUWEN

 

a) Bedaking

 

1. Dakvorm

 

a) Bij straatwanden of delen ervan waar reeds uitsluitend of overwegend schuine daken aanwezig zijn:

 

1) bij aaneengesloten bebouwing

    1. alle hoofdgebouwen aan de straatzijde worden overheersend voorzien van zadeldaken met een helling van 40° à 45°, met de nok evenwijdig aan de voorgevel.

    2. zijn eveneens toegelaten:

    • mansardedaken

    • puntgevels waarvan de aanzet gelegen is op minimum 0,75m afstand van het midden der scheidsmuren. De nok van de punt staat loodrecht op de voorgevel.

2) bij vrijstaande bebouwing

zadeldaken, tentdaken, schilddaken, puntdaken, mansardedaken

3) bij kop- en hoekgebouwen

zadeldaken, schild- of wolfsdaken, mansardedaken.

4) delen van de benedenverdieping die niet gelegen zijn onder de schuine bedaking

worden afgedekt met: ofwel plat dak, ofwel, enkel toegelaten bij aansluiting aan bestaande gebouwen: lessenaarsdak.

b) Bij straatwanden of delen ervan waar reeds uitsluitend of overwegend platte daken aanwezig zijn:

    • platte daken

    • indien het nodig of wenselijk is kan een mengvorm van schuin dak en plat dak worden opgelegd.

2. Dakkapellen, dakvensters en dakramen

 

a) Dakkapellen en dakvensters

 

1) plaats van oprichting

op 0,40m uit de snijlijn van het gevelvlak met het dakvlak op minstens 1,00m afstand van het midden der scheidmuren, van de vrijstaande zijgevels of van de hoekkepers.

 

2) afmetingen

    • maximumbreedte: 2/3 van de gevelbreedte, met een maximumbreedte van 4,00m per dakkapel of dakvenster

    • maximumhoogte: tot bovenkant kroonlijst of aanzet van de punt- of trapgevel: de helft van de dakhoogte van het hoofdgebouw
      De dakkapellen zijn voorzien van een schuin dak met dezelfde helling als deze van het gepenetreerde zadel- of schilddak

 

b) Dakramen

In alle dakvlakken zijn in het dagvlak liggende dakramen toegelaten op een afstand van minimum 0,40m uit de snijlijn van het gevelvlak met het dakvlak en op minstens 1,00m afstand van het midden der scheidsmuren, van de vrijstaande zijgevels of van de hoekkepers.

 

3. Dakterrassen

 

a. Bij schuine daken

Dakterrassen, zichtbaar vanaf de openbare weg, het openbaar domein of vanaf de voor het publiek toegankelijke plaatsen, zijn toegelaten indien zij geïntegreerd zijn binnen het volume van de dakvorm, zodanig dat de borstwering wordt gevormd door de voortzetting van de schuine dakvorm. Zij mogen worden geconstrueerd op minimum 0,40m uit de snijlijn van het gevelvlak met het dakvlak en op minstens 1,00m afstand van het midden der scheidsmuren, van de vrijstaande zijgevels of van de hoekkepers.

b. Bij platte daken

Dakterrassen zijn bij platte daken slechts toegelaten ter hoogte van het vloerpeil der bovenverdiepingen, mits inachtneming van de bepalingen van het burgerlijk wetboek.
Dakterrassen ter hoogte van de bovenste verdieping zijn eveneens toegelaten, indien zij geconstrueerd zijn binnen het volume van het maximumprofiel, in vervanging van de bovenste verdieping, doch met dien verstande dat de voorgevel gerealiseerd wordt, in voorkomend geval, tot op de hoogte van het naastliggend gebouw.
De zichtbaar blijvende scheidsmuren worden afgewerkt zoals vermeld onder punt 5.B.4. hierna.
Een borstwering van minimum 1,00m hoogte bevindt zich op minimum 1,00m achter de voorgevel.

4. Bedekking der schuine daken

De dakbedekkingen moeten inzake kleur in harmonie zijn met deze der bebouwde omgeving en inzonderheid met deze der naastliggende gebouwen.
Zij zal bestaan uit:
Ofwel niet – verglaasde pannen of daktegels met een rode tot bruin – rode of een donkergrijze tot zwarte kleur,
ofwel (rechthoekige) leien met een donkergrijze tot zwarte kleur, in horizontale rijen geplaatst.

5. Schoorstenen

Bij schuine daken der hoofdgebouwen worden de schouwen te paard op de nokken geplaatst. Zij worden uitgevoerd in dezelfde of evenwaardige gevelsteen als deze van de voorgevel.

6. Afwijkingsregel op grond van de bestaande toestand

Voor zover zij de dominerende karakteristieken van de schuine bedaking niet in het gedrang brengen wat betreft vorm en kleur, kunnen in het dakvlak liggende constructies worden toegelaten met het oog op het winnen van energie.
Bij aansluiting aan bestaande gebouwen kan afwijking worden verleend aan de voorgaande bepalingen voor wat betreft de aard, vorm en kleur van de dakbedekkingsmaterialen en wat betreft de dakhelling, doch enkel op voorwaarde dat de eventuele afwijking een kwalitatieve verbetering van de woonomgeving betekent.

b) Gevels en muren

 

1. Gevelgeleding en gevelopbouw

Voor alle gevels zichtbaar vanaf de openbare weg, het openbaar domein en vanaf de voor het publiek toegankelijke plaatsen, geldt het volgende:

    • In de gevelopbouw dient de verticale lijnvoering over de volle hoogte te overheersen.

    • Afwijking aan deze regel kan slechts worden toegestaan in die straatwanden of homogene delen ervan waar reeds uitsluitend of overwegend een horizontale lijnvoering aanwezig is.

    • Voor het geval dat meerdere aaneengesloten huizen het voorwerp uitmaken van een ontwerp, dient in de gevelindeling voldoende verscheidenheid aanwezig te zijn om de onderscheiden woningen blijvend te kunnen herkennen.

2. Balkons, loggia s en vaste uitsprongen

    • De diepte van de uitsprongen moet begrepen zijn tussen twee loodrechte vlakken die van de erfscheiding uitgaande, elk een hoek van 45° vormen met het normale gevelvlak.

    • Verdere detaillering, afmetingen en verhoudingen volgens de schema’s en tabel op volgende pagina.

3. Gevelmaterialen

Voor alle gevels:

 

Gevelsteen:

Gebakken gevelsteen waarvan de kleur in harmonie is met de kleursfeer van het straatbeeld

 

 [image]

 

 
Verglaasde gevelsteen is slechts toegelaten als decoratief element in de gevelopbouw.

Natuursteen:

Parementen in natuursteen moeten uitgevoerd worden in rechthoekig verband.
Kunststeen is slechts toegelaten indien deze een witte of een blauwe hardsteenkleur vertoont.

Beton- en metaalconstructies:

Zichtbaar blijvende onderdelen van beton- en /of metaalconstructies dienen behandeld of geschilderd te worden in een kleur die harmonieert met de omgeving.
Betonconstructies mogen echter hun natuurkleur behouden.

Prefab- en kunststofmaterialen:

Geprefabriceerde bouwelementen en bouwonderdelen en/of bouwmaterialen in kunststof zijn toegelaten voor zover ze duurzaam zijn en wat vorm en kleur betreft, in harmonie zijn met de omgeving.

Bouwonderdelen en/of bouwmaterialen in kunststof zijn enkel toegelaten als vulmateriaal in de gevelconstructie tot een maximum van 15% van de geveloppervlakte.

Bepleistering en schildering

der gevels is verboden, behoudens voor vrijstaande gebouwen, en voor zover deze gebouwen door een groenscherm van de overige gebouwen zijn gescheiden.

Een overmatige verscheidenheid

van materialen en kleuren en het gebruik van in het oog springende gevelmaterialen, bekledingen, schrijnwerken, beglazingen en schilderingen zijn niet toegelaten.

Blinde gevels

zichtbaar vanaf de openbare weg, zijn verboden.

Snelbouwsteen:

Het gebruik van zichtbaar verwerkte snelbouwsteen is verboden.

4. Afwerking van vrijblijvende, vanaf de openbare weg zichtbare gedeelten van scheidsmuren

Afwerking met:

    • Handvorm of machinaal gevormde baksteen in dezelfde tint en afmeting als deze van de voorgevel en als parement afgewerkt.

    • Bekleding met natuur- of kunstleien in een donkergrijze tint.

5. Afsluitingen aan de openbare weg (andere dan voortuinafsluitingen)

    • muren in parementmetselwerk, sierbeton, claustra, e.d. met een hoogte van minimum 1,20m en maximum 2,00m, afgedekt met muurkappen, dekstenen of ezelsrug. Het materiaalgebruik dient in overeenstemming te zijn met de materialen van de voorgevel.

    • metalen hekken met een hoogte van minimum 1,20m en maximum 2,00m, voor zover zij tegen roestvorming behandeld zijn en naar functie, vorm en kleur in harmonie zijn met de omgeving.

    • Houten afsluitingen gevormd door palissaden e.d. met een hoogte van minimum 1,20m en maximum 2,00m, voor zover het hout verduurzaamd is.

    • Levende hagen met een maximum hoogte van 2,00m; versterkt met palen en draad.

 

6. Reclame:

zie bouwcode

7. Afwijkingsregel op grond van de bestaande toestand

Bij aansluiting aan bestaande gebouwen kan afwijking worden verleend aan de voorgaande bepalingen voor wat betreft de aard, vorm en kleur van de dakbedekkingsmaterialen en wat betreft de dakhelling, doch enkel op voorwaarde dat de eventuele afwijking een kwalitatieve verbetering van de woonomgeving betekent.

 

 

 

DEEL 2 BINNENPLAATSEN EN TUINEN (INBEGREPEN VOOR- EN ZIJTUINEN)

 

1. ALGEMEEN ORDENINGSVOORSCHRIFT

Bij elke woning moet gestreefd worden naar een zo groot mogelijke open ruimte, moes- of siertuin, die als zodanig dien in stand gehouden. Zowel in voor- als achtertuinen dient een beplanting uitgevoerd met streekeigen bloeiende heesters, hoogstammige bomen en klimplanten, zodat na verloop van tijd deze beplantingen een wezenlijk onderdeel worden van de woonomgeving.

2.- VOORTUINEN EN ZIJTUINEN

 

a) Aanleg

Na de oprichting van het hoofdgebouw dient de strook als tuin te worden aangelegd en als dusdanig in stand gehouden.
Alleen het gedeelte van de grond dat als toegang tot de gebouwen wordt aangewend, mag worden verhard ten belope van maximaal 30% van de oppervlakte van de strook.
Bij gebouwen met een toegelaten nevenbestemming op de benedenverdieping mag de verharding maximum 80% der oppervlakte bedragen.

b) Afsluiting

In de voortuinstrook en in de bouwvrije zijtuinstroken, tussen de erven onderling en tussen een erf en de openbare weg.:

    • muurtje in gevelsteen in overeenstemming met deze van de voorgevel, waarvan de hoogte maximum 0,40m bedraagt, behoudens de posten naast de ingangen waarvan de hoogte maximum 1,00m bedraagt

    • levende hagen, versterkt met palen en draad, met een hoogte van 1,80m zijn enkel toegelaten in de zijtuinstrook vanaf de voorgevelbouwlijn.

c) Bebouwing

    • Voortuinstrook:
      Behoudens de toegelaten uitsprongen in het voorgevelvlak en de afsluitingen: alle constructies verboden, met inbegrip van hellende op- en afritten.

    • Zijtuinstrook:
      Op minimum 5m achter de voorgevel van het hoofdgebouw mits schriftelijk akkoord van de aanpalende eigenaar, volgens de bepalingen van de algemeen geldige voorschriften – algemene bouwvoorschriften – 2°b (pagina VII)

 

d) Reclame

Zie bouwcode.

3.- BINNENPLAATSEN EN TUINEN

 

a) Bestemming

Het niet bebouwde of verharde deel van het perceel achter de strook voor hoofdgebouwen dient als open ruimte, moes- of siertuin te worden aangelegd en zijn als dusdanig in stand gehouden.
In de tuinen, behoudens in de bouwvrije zijtuinstroken, zijn volgende bijgebouwen en constructies toegelaten:

    • bergplaatsen en hokken.

    • gebouwen voor de toegelaten nevenbestemmingen op de benedenverdieping van de hoofdgebouwen.

    • specifieke tuinconstructies (prieeltjes, pergola, siervijver, e.d.).

    • verhardingen bestemd als parkeerplaats in functie van de bestemming van het hoofdgebouw. Deze verharding mag noch als openluchtwerkplaats, noch als openluchtstapelplaats voor materialen en/of schroot gebruikt.

b) Bijgebouwen en constructies

    1. De samengevoegde oppervlakte van bijgebouwen en/of verhardingen mogen niet meer bedragen dan 15% van de perceelsoppervlakte. In deze oppervlakte zijn de verhardingen die toegang geven tot deze 15% niet inbegrepen. Deze toegangen hebben een breedte van maximum 2/3 van de oppervlakte , doch zijn beperkt tot maximaal 3,00m breed.
      Inpandige doorritten naar de tuin zijn, bij aaneengesloten bebouwing, slechts toegelaten bij percelen met een breedte van minimum 7,50m.
      Deze beperking geldt niet bij hoekgebouwen.

    2. Bebouwing en/of verharding is slechts toegelaten met dien verstande dat een minimum van 60m² onverharde tuin wordt bewaard.

    3. Bij bestaande panden met een tuinoppervlakte van minder dan 60m², zijn geen bijgebouwen, noch verhardingen als parking, toegelaten.

    4. Specifieke tuinconstructies en tuinverhardingen in functie van het hoofdgebouw mogen steeds worden opgericht in de onverharde tuinstrook.

c) Plaatsing van de bijgebouwen

 

1) op niet hoekpercelen

 

a. gevel gericht naar het hoofdgebouw:

    • op minimum 23,00m of 27,00m achter de voorgevel van het hoofdgebouw, naargelang de perceeldiepte respectievelijk minder of meer dan 30 bedraagt ofwel,.

    • op minimum 5m achter de voorgevel van het hoofdgebouw, mits schriftelijk akkoord van de aanpalende eigenaar, volgens de bepalingen van de algemeen geldige voorschriften – algemene bouwvoorschriften – 2°b.(pagina VII).

b. overige gevels

hetzij op de perceelsgrens hetzij op minimum 3,00m afstand ervan

2) op hoekpercelen

 

a) gevel gericht naar de perceelsgrens waarop de scheidsmuur wordt gebouwd:

    • op minimum 3m. afstand van de perceelsgrens tot op een diepte van 23,00m o 27,00m gemeten vanaf de voorgevelbouwlijn van het hoofdgebouw, naargelang de perceeldiepte van minder of meer dan 30m.
      ofwel

    • bij kopgebouwen,
      op minimum 5m achter de voorgevel van het hoofdgebouw, mits schriftelijk akkoord van de aanpalende eigenaar, volgens de bepalingen van de algemeen geldige voorschriften – algemene bouwvoorschriften – 2°b (pagina VII).

b) gevel aan de straatzijde:

op de voorgevelbouwlijn, bepaald voor deze straat.

c) overige gevels:

hetzij op de perceelsgrens, hetzij op 3,00m afstand ervan.

3) Indien de benedenverdieping geen enkel lokaal bevat dat voor huisvesting bestemd of geschikt is, mag het perceel over zijn volledige oppervlakte worden bebouwd.

 

d) Afmetingen van de bijgebouwen

 

Bouwhoogte

 

1) op niet hoekpercelen, gemeten vanaf het grondpeil.

    1. tot de bovenkant van de kroonlijst of deksteen: maximum 3,00m

    2. tot de bovenkant van de nok van een schuin dak.: maximum 6,00m, met dien verstande dat de hoogte van het gebouw steeds moet begrepen zijn binnen het profiel gevormd door een hoek van 45° met de horizontale , vertrekkend op een hoogte van 3,00m, op een afstand van 3,00m uit de erfscheiding en boven de plaats waar de gevel van het bijgebouw, gericht naar het hoofdgebouw, wordt opgericht.

2) op hoekpercelen, gemeten vanaf het trottoirniveau

 

a) de gevel aan de straatzijde:

gemeten tot de bovenkant van de kroonlijst of deksteen: minimum 3,00m en maximum 4,00m.

 

b) de overige gevels:

zoals voor de niet – hoekpercelen

3) gekoppelde volumes met zadeldak

gekoppelde volumes met zadeldak en met een doorlopende nok haaks op de perceelsgrens of met een gemeenschappelijke nok op de perceelgrens, zijn toegelaten mits wederzijds en schriftelijk akkoord tussen de eigenaars, waarbij deze zich tevens verbinden tot eenzelfde materiaalgebruik

e) Welstand van de bijgebouwen

 

1) Dakvorm:

plat dak of schuin dak met een helling van 40 – 45°

2) Materialen:

 

a) voor de gevels:

    • zichtbaar vanaf de openbare weg, het openbaar domein of de voor het publiek toegankelijke plaatsen: zelfde voorwaarden als deze die gelden voor de voorgevel van de hoofdgebouwen.

    • overige gevels: zelfde voorwaarden als deze die gelden voor de overige gevels van de hoofdgebouwen.

b) voor de bedekking der schuine daken:

    • zelfde voorwaarden als deze die gelden voor de schuine daken van de hoofdgebouwen.

    • Daarenboven zijn toegelaten, bij gebouwen voor ambachtelijke bedrijven en voor zover ze niet zichtbaar zijn vanaf de openbare weg, het openbaar domein of de voor het publiek toegankelijke plaatsen:

    • geprofileerde dakplaten

    • voor flauwhellende daken: dakvilt

 

f) Erfscheidingen

    • afsluitingsmuren in baksteenmetselwerk met een maximumhoogte van 2,00m, afgedekt met muurkappen, dekstenen of ezelsrug.

    • levende hagen met een maximumhoogte van 2,00m, versterkt met palen en draad

    • houten afsluitingen onder de vorm van vlechtwerk of palissaden, e.d., met een hoogte van minimum1,20m en maximum 2,00m, op voorwaarde dat het hout verduurzaamd is.

    • betonpalen en draadwerk, eventueel voorzien van één betonplaat tot op maximum 0,30m boven het grondpeil.

    • muren bestaande uit betonpalen en meerdere betonplaten boven elkaar zijn verboden.

    • ter bevordering van de privacy is het gebruik van rietmatten en bamboe – stammen toegelaten.

g) Reclame

Zie bouwcode.

5.- AFWIJKINGSREGEL OP GROND VAN DE BESTAANDE TOESTAND

Aan de voorgaande afschriften kan afwijking worden verleend voor wat betreft de plaatsing en de afmetingen van de bijgebouwen, constructies, verhardingen, en de aard van de beplantingen, op de uitdrukkelijke voorwaarde dat eventuele afwijkingen een wezenlijke verbetering van de woonomgeving betekenen.

HOOFDSTUK III VERKAVELINGSVOORSCHRIFTEN

 

1.- ALGEMEEN ORDENINGSVOORSCHRIFT

Verkavelingen, inzonderheid deze waarbij de aanleg van nieuwe straten voorzien worden, dienen in twee of meer fasen te worden uitgevoerd, naargelang het aantal percelen in de verkaveling.
De eerste fase zal steeds gevormd worden door die percelen die aansluiten aan de reeds bestaande bebouwing en de percelen gelegen aan reeds bestaande en uitgeruste openbare wegen.
Een volgende fase mag slechts worden aangevat wanneer de vorige fase voor minstens 2/3e van het aantal percelen is verkocht, en waarvan de helft reeds is bebouwd.
De verkaveling dient derwijze te worden uitgewerkt dat, bij eengezinshuizen de hoofdzakelijke daglokalen op de benedenverdieping kunnen gesitueerd worden.

2.- AFMETINGEN VAN DE KAVELS

 

a) Minimumbreedte van de kavels

gemeten op de voorgevelbouwlijn:
voor aaneengesloten bebouwing: 6,00m
voor kopgebouwen: 9,00m
voor hoekgebouwen: 6,00m eventueel vermeerderd met de diepte van de bouwvrije strook aan de zijgevel
De kavelbreedten moeten zodanig zijn dat zij de bebouwing, overeenkomstig de onderhavige voorschriften, van de in de omgeving liggende percelen of de afwerking met een kopgebouw van een huizenblok niet in het gedrang brengen

b) Minimum oppervlakte van de kavels

Bij percelen met een diepte van 30m en minder: 175m²
Bij percelen met een diepte van méér dan 30m: 200m²
Deze oppervlakten dienen eventueel vermeerderd met de oppervlakte van de bouwvrije strook aan de zijgevel.
Daarenboven dient een minimum afstand van 10,00m bewaard tussen de vrijstaande achtergevel van de benedenverdieping en de achter - perceelgrens.

c) Vorm van de kavels

Indien het voor een goede ruimtelijke ordening wenselijk of noodzakelijk is, kan opgelegd worden dat de zijgrenzen van de percelen haaks op de rooilijn worden ontworpen, over een diepte die ten minste gelijk is aan de maximumdiepte van de hoofdgebouwen zoals bepaald in het maximum profiel, eventueel vermeerderd met de diepte van de voortuinstrook.

3.- AFWIJKINGSREGEL OP GROND VAN DE BESTAANDE TOESTAND

Op grond van de bestaande toestand en/of de kadastrale perceelvorming, kan aan de voorgaande voorschriften afwijking worden verleend voor wat betreft de afmetingen en de vorm van de kavels, met het oog op de afwerking van de bebouwde omgeving.

 

 

 

 

ARTIKEL 2 ZONE B VOOR WONINGEN

 

Algemeen ordeningsvoorschrift

De Heistraat, tussen de G. Fabrélaan en de Laarstraat/F. Kenneslei, maakt nog deel uit van de winkel – as “Heistraat” tussen de Bist en de F. Kenneslei, niettegenstaande de as onderbroken is door de Rijksweg nr. 242.
De Heistraat is tevens een belangrijke verkeersas in het centrum.
In tegenstelling tot het overige deel van de straat, vertoont het straatbeeld hier, als gevolg van een spontane evolutie in de verbouwing der handelspanden een minder homogeen karakter, waarbij de schuine bedaking volledig uit het straatbeeld is verdwenen.
Teneinde het winkel- en dienstenapparaat een maximale attractie te kunnen bieden, wordt de aaneengesloten bebouwing gehandhaafd. Voor de handelshuizen worden bedrijfsruimten hoofdzakelijk op de benedenverdieping gesitueerd.
Winkel- en horecabedrijven mogen steeds de benedenverdieping en eerste bovenverdieping omvatten.

 

HOOFDSTUK I BESTEMMINGSVOORSCHRIFTEN

 

Belangrijke opmerking: Dezelfde voorschriften gelden als voor “zone A voor woningen” behoudens de hiervermelde aanvullingen, beperkingen en/of verplichtingen.

 

1.- BESTEMMING

 

a) Hoofdbestemming

Onbeperkt toegelaten: handelshuizen met bewoning.

b) Nevenbestemming:

In de op het bestemmingsplan aangeduide winkelstraten en/of centrumzones zijn eveneens toegelaten:

    • Handelsinrichtingen met een verkoopsoppervlakte tot max. 800m²

    • Kantoren tot een maximum vloeroppervlakte van 500m².

    • Winkel- en horecabedrijven mogen steeds de benedenverdieping en de eerste bovenverdieping omvatten.

    • Verzorgende bedrijven

    • Gemeenschapsuitrusting

HOOFDSTUK II BEBOUWINGSVOORSCHRIFTEN

 

DEEL 1 HOOFDGEBOUWEN

 

Belangrijke opmerking: Dezelfde voorschriften gelden als voor “zone A voor woningen behoudens de hiervermelde aanvullingen, beperkingen en/of verplichtingen.

1.- ALGEMEEN ORDENINGSVOORSCHRIFT

Bij handelsinrichtingen en indien de benedenverdieping geen enkel lokaal bevat dat voor huisvesting bestemd of geschikt is, mag het perceel over zijn volle oppervlakte worden bebouwd.

2.- BEBOUWINGSWIJZE

Aaneengesloten, zoals de bestaande toestand.

3.- PLAATSING DER GEBOUWEN

Indien de benedenverdieping geen enkel lokaal bevat dat voor huisvesting bestemd of geschikt is, mag de benedenverdieping tot op de achterperceelgrens worden bebouwd.

4.- AFMETINGEN VAN DE GEBOUWEN

 

a) Bouwhoogte

binnen de op verder vermelde maximum profielen is de bouwhoogte aan de Heistraat vastgesteld op 2 bovenverdiepingen.

b) Bouwdiepte

zie maximumprofielen op verdere pagina.

1) algemene regel

Indien de benedenverdieping geen enkel lokaal bevat dat voor huisvesting bestemd of geschikt is, mag het perceel over zijn volle oppervlakte worden bebouwd.

2) bouwdiepte bij verkaveling of bij nieuwbouw op reeds gevormde percelen

Benedenverdieping:
Indien de benedenverdieping geen enkel lokaal bevat dat voor huisvesting bestemd of geschikt is, mag het perceel over zijn volle diepte worden bebouwd.

3) bouwdiepte bij aanbouw aan bestaande bebouwing

Indien de benedenverdieping geen enkel lokaal bevat dat voor huisvesting bestemd of geschikt is, mag het perceel over zijn volle oppervlakte worden bebouwd.

Maximum profielen

 

A.- Gebouwen met één bovenverdieping onder schuin dak

 

 [image]

 

B.- Gebouwen met twee bovenverdiepingen onder schuin dak

 

 [image]

 

C.- Gebouwen met één bovenverdieping onder plat dak

 

 [image]

 

D.- Gebouwen met twee bovenverdiepingen onder plat dak

 

 [image]

 

5.- WELSTAND VAN DE GEBOUWEN

 

B) Gevels en muren

 

3. Gevelmaterialen

 

Inzake winkelpuien en de gevels op de benedenverdieping van horeca- en ontspanningsaangelegenheden, worden echter de toepassing van opvallende materialen en kleuren ten uitzonderlijke titel toegestaan, in typische winkelstraten en centrumzones, op voorwaarde van een aanvaardbare harmonie met de omgeving.

5. Afsluitingen aan de openbare weg (andere dan voortuinafsluitingen)

Onbebouwde percelen of gedeelten van percelen, zoals binnenplaatsen en tuinen, palend aan de openbare weg, worden op de rooilijn of op de bouwlijn verplicht afgesloten met:

    • muren in parementmetselwerk, sierbeton, claustra, e.d. met een hoogte van minimum 1,20m en maximum 2,00m, afgedekt met muurkappen, dekstenen of ezelsrug.

    • metalen hekken met een hoogte van minimum 1,20m en maximum 2,00m, voor zover zij tegen roestvorming behandeld zijn en naar functie en kleur in harmonie zijn met de omgeving.

 

 

DEEL 2 BINNENPLAATSEN EN TUINEN

 

Belangrijke opmerking: Dezelfde voorschriften gelden als voor“zone A voor woningen” behoudens de hiervermelde aanvullingen, beperkingen en/of verplichtingen.

 

4. BINNENPLAATSEN EN TUINEN

 

b) Bijgebouwen en constructies

  1. Indien de benedenverdieping geen enkel lokaal bevat dat voor huisvesting bestemd of geschikt is, mag het perceel over zijn volledige oppervlakte worden bebouwd.

c) Plaatsing van de bijgebouwen

  1. Indien de benedenverdieping geen enkel lokaal bevat dat voor huisvesting bestemd of geschikt is, mag het perceel over zijn volledige oppervlakte worden bebouwd.

d) Afmetingen van de gebouwen

 

Bouwhoogte

 

1) op niet hoekpercelen, gemeten vanaf het trottoirniveau.

    1. vanaf de perceelsgrens tot op een afstand van maximum 3,00m ervan:
      tot bovenkant kroonlijst of deksteen: maximum 3,00m
      Overige bouwhoogte: maximum 4,50m

2) op hoekpercelen

    1. de gevel aan de straatzijde: minimum 3,00m en maximum 4,50m

    2. Overige bouwhoogte: zoals voor de niet – hoekpercelen.

 

1. ALGEMEEN ORDENINGSVOORSCHRIFT

 

HOOFDSTUK III VERKAVELINGSVOORSCHRIFTEN

 

Belangrijke opmerking: Dezelfde voorschriften gelden als voor “zone A voor woningen”

 

ARTIKEL 3 ZONE C VOOR WONINGEN

 

Algemeen ordeningsvoorschrift

Deze zone wordt gekenmerkt door een vrij recente bebouwing, in hoofdzaak eengezinshuizen en kleine meergezinshuizen met 2 bovenverdiepingen.
Deze woningen vertonen de specifieke kenmerken van hun bouwperiode: gaande van de eengezinswoning met schuin dak en zonder garage, tot de woning met keldergarages of de bel – étagewoningen met plat dak, een garage op de benedenverdieping en de woonhuizen op de bovenverdiepingen.
De totaliteit der bebouwing heeft één kenmerk gemeen: zij heeft uitsluitend een woonfunctie. Belangrijke wijziging aan deze eigenschap, zou de woonomstandigheden er ernstig kunnen verstoren.
Het is daarom niet wenselijk in deze zone bv. commerciële of andere verkeersaantrekkende functies toe te laten.
Om echter tegemoet te komen aan een gerechtvaardigde vraag, kunnen zeer beperkte buurtgebonden kleinwinkelbedrijven worden toegelaten, uitsluitend op de benedenverdieping en met uitsluiting van magazijnen of producerende activiteiten.

 

HOOFDSTUK I BESTEMMINGSVOORSCHRIFTEN

 

Belangrijke opmerking: Dezelfde voorschriften gelden als voor zone A voor woningen behoudens de hiervermelde aanvullingen, beperkingen en/of verplichtingen.

 

1.- BESTEMMING

 

a) Hoofdbestemming:

Onbeperkt toegelaten: wonen: eengezinshuizen, meergezinshuizen

b) Nevenbestemming:

Nevenbestemmingen die op buurtniveau, omwille van hun specifieke en frequente relatie tot het publiek, noodzakelijkerwijze en eng verbonden zijn met de woonfunctie en hiervoor geen abnormale hinder veroorzaken.

    • Kleinwinkelbedrijven, met een maximum verkoopsoppervlakte van 30m², en met uitsluiting van elke vorm van opslagplaats en/of werkplaats voor bereiding of vervaardiging van producten (enkel op benedenverdieping)

    • Zijn niet toegelaten: horecabedrijven.

 

HOOFDSTUK II BEBOUWINGSVOORSCHRIFTEN

 

DEEL 1 HOOFDGEBOUWEN

 

Belangrijke opmerking: Dezelfde voorschriften gelden als voor zone A voor woningenbehoudens de hiervermelde aanvullingen, beperkingen en/of verplichtingen.

1. ALGEMEEN ORDENINGSVOORSCHRIFT

Woonhuizen met traditionele basisvormen (in hoofdzaak rechthoekig grondvlak) met een schuine bedaking of met plat dak naargelang de bestaande toestand. Door de schuine dakvorm, evenals door de vrijstaande en verspringende puntgevels wordt het dakenspel en de bestaande kleinschaligheid bestendigd.
In straten en/of gebouwengroepen met plat dak kan deze dakvorm worden verder gezet.
Bij eengezinshuizen zijn de hoofdzakelijke daglokalen op de benedenverdieping te situeren, zodat de eigen tuin er a.h.w. de verlening van is.

4. AFMETINGEN VAN DE GEBOUWEN

 

a) Bouwhoogte:

zie maximumprofielen zone A voor woningen,
Binnen deze maximumprofielen zijn de volgende bouwhoogten vastgesteld:

    1. Gebouwen met 1 bovenverdieping zijn verplicht aan de

    • Zinkhoevelaan (oneven nrs.)

    • Frans de Kortlaan

    • Pierebeekstraat (even nrs.)

    1. Gebouwen met 2 bovenverdiepingen zijn verplicht aan de

    • Perckhoevelaan

    • Pierebeekstraat (oneven nrs.)

    • Pastoor de Conincklaan

    • Accacialaan (even nrs.)

    • Kruishofstraat (oneven nrs.)

b) Bouwdiepte:

zie maximumprofielen zone A voor woningen,

DEEL 2 BINNENPLAATSEN EN TUINEN

 

Belangrijke opmerking: Dezelfde voorschriften gelden als voor zone A voor woningen behoudens de hiervermelde aanvullingen, beperkingen en/of verplichtingen.

1. ALGEMEEN ORDENINGSVOORSCHRIFT

Bij elke woning moet gestreefd worden naar een zo groot mogelijke open ruimte, moes- of siertuin, die als zodanig wordt in stand gehouden. Zowel in voor- als achtertuinen dient een beplanting uitgevoerd met streekeigen bloeiende heesters, hoogstammige bomen en klimplanten, zodat na verloop van tijd deze beplantingen een wezenlijk onderdeel worden van de woonomgeving.
De bebouwing van de tuinen dient tot een minimum beperkt, teneinde de open ruimte zoveel mogelijk te behouden.

 

4. BINNENPLAATSEN EN TUINEN

 

Bijgebouwen en constructies

Maximum bebouwd oppervlakte: 15m²
In deze oppervlakte zijn de verhardingen die toegang geven tot deze 15m² niet begrepen. Deze toegangen hebben een breedte van maximum 1/3 van de perceelbreedte, doch is beperkt tot maximaal 3m.

HOOFDSTUK III VERKAVELINGSVOORSCHRIFTEN

 

Belangrijke opmerking: Dezelfde voorschriften gelden als voor zone A voor woningen

ARTIKEL 4 ZONE D VOOR WONINGEN

 

Algemeen ordeningsvoorschrift

Deze zone is gekenmerkt door haar residentieel karakter.
Langsheen de Berkenlaan en de Accacialaan is de bestaande bebouwing opgericht volgens de bepalingen en voorwaarden van de “Conventie Della Faille” – Akte van 27 mei 1910 – verleden voor notaris Gheyskens te Antwerpen. Deze bepalingen en voorwaarden voorzagen in de oprichting van een “ensemble” met een “caractère de parc habité avec habitations d’agrément”. Alle andere bestemmingen zijn er “à perpétuite” verboden.
Teneinde de eigenheid van dit woongebied te vrijwaren is het wenselijk de oorspronkelijke bestemmings- en bebouwingsvoorwaarden te behouden.
Langsheen de Pastoor de Conincklaan en de Zinkhoevelaan daarentegen bestaat de bebouwing uit recente vrijstaande woningen.

HOOFDSTUK I BESTEMMINGSVOORSCHRIFTEN

 

Belangrijke opmerking: Dezelfde voorschriften gelden als voor zone A voor woningen behoudens de hiervermelde aanvullingen, beperkingen en/of verplichtingen.

1.- BESTEMMING

    1. Hoofdbestemming: wonen

    2. Nevenbestemming: geen nevenbestemmingen toegelaten

HOOFDSTUK II BEBOUWINGSVOORSCHRIFTEN

 

DEEL 1 HOOFDGEBOUWEN

 

Belangrijke opmerking: Dezelfde voorschriften gelden als voor zone A voor woningen behoudens de hiervermelde aanvullingen, beperkingen en/of verplichtingen.

1.- ALGEMEEN ORDENINGSVOORSCHRIFT

Voor zover de bebouwing aan de Berkenlaan en de Accacialaan worden de bepalingen en voorwaarden van de “Conventie Della Faille” van 27 mei 1910 overgenomen voor zover ze niet strijdig zijn met de bepalingen en voorschriften van het gewestplan Antwerpen, vastgesteld bij K.B. van 3 oktober 1979.

 

2.- BEBOUWINGSWIJZE

    1. Berkenlaan en Accacialaan: ofwel vrijstaand, gekoppeld of in groepen van maximum 3 woningen, naargelang de oppervlakte van het bouwperceel.

    2. overige: vrijstaand

3.- PLAATSING VAN DE GEBOUWEN

    1. Voorgevel en naar de straat gerichte zijgevel van het hoofdgebouw
      Op minimum 6,00m en maximum 10,00m afstand van de rooilijn.

    2. Achtergevel van het hoofdgebouw.
      Op minimum 8,00m en maximum 20,00m achter de voorgevel, met dien verstande dat een bouwvrije afstand van minimum 10,00m wordt in acht genomen t.o.v. de achter – perceelgrens.

    3. Zijgevels van het hoofdgebouw
      Op minimum 4,00m afstand van de perceelgrens.

4.- AFMETINGEN VAN DE GEBOUWEN

 

a) Bouwhoogte:

    • Berkenlaan en Accacialaan: gemeten van het grondpeil tot bovenkant kroonlijst: minimum 7m, maximum 9,00m. In deze hoogte zijn eventuele torentjes, koepels of mansardedaken niet begrepen.

    • Overige: gemeten vanaf het trottoirniveau tot bovenkant kroonlijst of deksteen: maximum 7,00m.

 

b) Bouwdiepte bij verkaveling of nieuwbouw op reeds gevormde percelen

Bouwdiepte: maximum 20,00m.

c) Voorgevelbreedte van de gebouwen

Berkenlaan en Accacialaan: Totale breedte van 2 gekoppelde woningen:
minimum 16,00m en maximum 24,00m.
Totale breedte van maximum 3 gegroepeerde woningen:
minimum 24,00m en maximum 36,00m

5.- WELSTAND VAN DE GEBOUWEN

 

A. Bedaking

 

1) Bij vrijstaande, gekoppelde of gegroepeerde bebouwing:

Zadel- , tent- , schild- , wolfs- , punt- of mansardedaken, met een helling van minimum 30° en maximum 60°.
Uitbouwen op de benedenverdieping van het hoofdgebouw mogen worden afgedekt met een plat dak.

B. Gevels en muren

 

6.- RECLAME

Elke vorm van reclame is verboden.

 

DEEL 2 BINNENPLAATSEN EN TUINEN (INBEGREPEN VOOR- EN ZIJTUINEN)

 

Belangrijke opmerking: Dezelfde voorschriften gelden als voor zone A voor woningen behoudens de hiervermelde aanvullingen, beperkingen en/of verplichtingen.

 

1.- ALGEMEEN ORDENINGSVOORSCHRIFT

In deze zone vormen de gebouwen en hun tuinen a.h.w. één geheel. Daarom dienen alle werken en handelingen in de tuinen gericht te zijn op het behoud, de sanering en/of de uitbreiding van de bomen en heesterbestand, waarbij het bestaande sortiment dient bestendigd en/of vervolledigd, naargelang het karakter der tuinen (parktuin, franse tuin of andere karakteristieke tuinvormen).

2.- VOORTUINEN EN ZIJTUINEN

 

a) Afsluiting

In de voortuinstrook en in de bouwvrije zijtuinstroken, tussen de erven onderling en tussen een erf en de openbare weg:
De voorschriften van
zone A worden aangevuld als volgt:
Berkenlaan en Accacialaan: Hekwerk in ijzer, op een sokkel van baksteenmetselwerk of natuursteen, met een hoogte van minimum 30cm
De totale hoogte der afsluiting bedraagt: 1,50m maximum.

3.- BINNENPLAATSEN EN TUINEN

 

a) Bestemming

  • Het niet bebouwde of verharde deel van het perceel achter de hoofdgebouwen dient als open ruimte, moes- of siertuin te worden aangelegd en als dusdanig voortdurend in stand gehouden.
    In de tuinen, behoudens in de bouwvrije zijtuinstroken, zijn volgende bijgebouwen en constructies toegelaten:

  • bergplaatsen en hokken

  • specifieke tuinconstructies (prieeltjes, pergola, siervijver e.d.).

  • beperkte inrichtingen voor sportbeoefening in familieverband (tennis, zwembad, e.d.)

b) Bijgebouwen en constructies

De gezamenlijke oppervlakte der bijgebouwen en constructies mag niet meer bedragen dan 10% van de perceelsoppervlakte, met een maximum van 265m².
In deze oppervlakte zijn de verhardingen der toegangswegen niet begrepen.
De toegangswegen hebben een breedte van maximum 3,00m.

c) Afmetingen van de bijgebouwen

Bouwhoogte:
Gemeten vanaf het grondpeil tot bovenkant kroonlijst op deksteen: maximum 3,00m.

d) Plaatsing van de bijgebouwen en constructies

 

1) op niet hoekpercelen

    1. gevel gericht naar het hoofdgebouw: op minimum 10,00m afstand van het hoofdgebouw

    2. overige gevels: op de perceelgrens of op minimum 4,00m afstand ervan.

2) op hoekpercelen

    1. gevel gericht naar het hoofdgebouw: op minimum 10,00m afstand van het hoofdgebouw

    2. aan de straatzijde: op de voorgevelbouwlijn bepaald voor deze straat.

    3. overige gevels: op de perceelgrens of op minimum 4,00m afstand ervan.

e) Welstand van de gebouwen

 

f) Reclame:

Elke vorm van reclame is verboden.

6.- AANLEG VAN DE STROOK

  • Ter bescherming van de hoogstammige bomen en waardevolle heesters dienen de maatregelen getroffen zoals omschreven in artikel 10 hierna.

  • Enkel de toegang tot de gebouwen of constructies mag worden verhard, alsmede beperkte oppervlakten in functie van de gebouwen.

  • Deze verhardingen moeten worden uitgevoerd in niet – monoliete materialen, decoratief verwerkt in harmonie met de omgeving.

 

HOOFDSTUK III VERKAVELINGSVOORSCHRIFTEN

 

Belangrijke opmerking: Dezelfde voorschriften gelden als voor “zone A voor woningen behoudens de hiervermelde aanvullingen, beperkingen en/of verplichtingen.

 

2.- AFMETINGEN VAN DE KAVELS

 

a) Minimumbreedte:

  • Berkenlaan en Accacialaan: gekoppelde bebouwing: minimum 12,00m
    vrijstaande bebouwing: minimum 16,00m

  • Overige: minimum 20,00m.

b) Minimum oppervlakte van de kavels.

  • Berkenlaan en Accacialaan: 1.000m² voor één vrijstaand eengezinshuis
    2.000m² voor twee gekoppelde eengezinshuizen
    3.000m² voor drie gegroepeerde eengezinshuizen.

 

 

 

 

ARTIKEL 5 ZONE E VOOR WONINGEN

 

Algemeen ordeningsvoorschrift

Deze zone is bestemd om, door middel van openbare en/of privé initiatieven, ontwikkeld te worden tot een woongebied met ééngezins- en/of meergezinshuizen, op basis van een op te stellen gedetailleerd totaalontwerp.
Hierbij dient de nodige aandacht besteed aan de natuurlijke gegevenheden van het terrein, bv. hoogstammige bomen, bebossing, waterlopen, e.d., alsmede aan de ontsluiting van het gebied d.m.v. penetratiewegen (zonder doorgaand verkeer naar wegen van een hoger niveau) voor het gemotoriseerd verkeer en d.m.v. fiets- en voetgangerspaden naar de omringende openbare wegen.

 

HOOFDSTUK I BESTEMMINGSVOORSCHRIFTEN

 

Belangrijke opmerking: Dezelfde voorschriften gelden als voor “zone A voor woningen behoudens de hiernavermelde aanvullingen, beperkingen en/of verplichtingen.

 

1.- BESTEMMING

 

a) Hoofdbestemming

Onbeperkt toegelaten: wonen: eengezinshuizen en meergezinshuizen

b) Nevenbestemming.

  • Nevenbestemmingen die op buurtniveau, omwille van hun specifieke en frequente relatie tot het publiek, noodzakelijkerwijze en eng verbonden zijn met de woonfunctie en hiervoor geen abnormale hinder veroorzaken.

  • kleinwinkelbedrijven, met een maximum verkoopsoppervlakte van 30m², en met uitsluiting van elke vorm van opslagplaats en/of werkplaats voor bereiding of vervaardiging van producten. Deze nevenbestemming is slechts toegelaten op de benedenverdieping

  • Beperkte gemeenschapsuitrusting op de benedenverdieping.

  • Zijn niet toegelaten: Horeca – bedrijven.

 

HOOFDSTUK II BEBOUWINGSVOORSCHRIFTEN

 

A.- INDIEN HET TOTAAL-ONTWERP GEHEEL OF GEDEELTELIJK VOORZIET IN EEN VERKAVELING MET PERCELEN VOOR INDIVIDUELE WONINGBOUW MET PRIVATE TUINEN.

 

DEEL 1 HOOFDGEBOUWEN

 

Belangrijke opmerking: Dezelfde voorschriften gelden als voor zone A voor woningen behoudens de hiernavermelde aanvullingen, beperkingen en/of verplichtingen.

1.- ALGEMEEN ORDENINGSVOORSCHRIFT

De bebouwing zal geschieden volgens een stedenbouwkundig totaalontwerp. De woningen zullen in hoofdzaak voorzien zijn van een schuine bedaking. Bij eengezinshuizen zijn de hoofdzakelijke daglokalen op de benedenverdieping te situeren, zodat de eigen tuin er a.h.w. de verlenging van vormt.

2.- BEBOUWINGSWIJZE

Gekoppeld, gegroepeerd of aaneengesloten

3.- AFMETINGEN VAN DE GEBOUWEN

 

a) Bouwhoogte:

Zie maximum profielen op volgende pagina

b) Bouwdiepte

Zie maximum profielen op volgende pagina

DEEL 2 BINNENPLAATSEN EN TUINEN

Belangrijke opmerking: Dezelfde voorschriften gelden als voor zone A voor woningen behoudens de hiernavermelde aanvullingen, beperkingen en/of verplichtingen.

 

1.- ALGEMEEN ORDENINGSVOORSCHRIFT

Bij elke woning moet gestreefd worden naar een zo groot mogelijke open ruimte, als groene ruimte, sier- of moestuin, die als dusdanig wordt in stand gehouden. Zowel in voor- als achtertuinen dient een beplanting te worden uitgevoerd met streekeigen bloeiende heesters, hoogstammige bomen en klimplanten, zodat na verloop van tijd deze beplantingen een wezenlijk deel vormen van de woonomgeving.
De bebouwing van de tuinen moet tot een minimum worden beperkt.

2.- BINNENPLAATSEN EN TUINEN

 

a) Bijgebouwen en constructies.

Maximum bebouwde oppervlakte: 15m²
In deze oppervlakte zijn de oppervlakten die toegang geven tot deze 15m² niet begrepen. Deze toegangen hebben een breedte van maximum 1/3 van de perceelbreedte, doch is beperkt tot maximaal 3m.

 

Maximum profielen

 

A.-Gebouwen met één bovenverdieping onder schuin dak

 

 [image]

 

B.-gebouwen met 2 bovenverdiepingen onder schuin dak

 

 [image]

 

 

 

 

HOOFDSTUK III VERKAVELINGSVOORSCHRIFTEN

 

Belangrijke opmerking: Dezelfde voorschriften gelden als voor zone A voor woningen behoudens de hiernavermelde aanvullingen, beperkingen en/of verplichtingen.

 

B.- INDIEN HET TOTAAL-ONTWERP GEHEEL OF GEDEELTELIJK VOORZIET IN VRIJ INGEPLANTE MEERGEZINSHUIZEN MET GEMEENSCHAPPELIJKE OPEN RUIMTEN.

 

DEEL 1 - HOOFDGEBOUWEN

 

Belangrijke opmerking: Dezelfde voorschriften gelden als voor zone A voor woningen behoudens de hiernavermelde aanvullingen, beperkingen en/of verplichtingen.

1.- ALGEMEEN ORDENINGSVOORSCHRIFT

De bebouwing zal geschieden volgens een stedenbouwkundig totaalontwerp.
Inzonderheid wanneer dit totaalontwerp in meerdere fasen en/of meerdere bouwpercelen wordt gerealiseerd door verschillende bouwheren en architecten, zal er naar gestreefd worden om, in verscheidenheid, toch een harmonische architecturale totaliteit te doen ontstaan, bij voorkeur door het aanwenden van eenvoudige vormen en sobere materialen. In deze totale samenhang dient evenwel de herkenbaarheid van de eigen woning duidelijk aanwezig te zijn. Bij een vermenging van meergezinswoningen en eengezinswoningen dient de privacy der private tuinen bij de eengezinswoningen te worden gevrijwaard tegen inkijk vanaf het openbaar domein en vanuit woningen of bovenverdiepingen.

2.- BEBOUWINGSWIJZE

Vrij ingeplant volgens een totaalontwerp.

3.- BEBOUWINGSDICHTHEID

 

a) Verhouding vloer/terrein: V/T = maximum 1,5.

In deze verhouding is V: de som van alle vloeroppervlakten der hoofd- en bijgebouwen, buitenwerks gemeten. De ondergrondse vloeroppervlakten worden niet meegerekend.
In deze verhouding is T: de netto perceelsoppervlakte, na aftrek van de openbare wegenis en/of openbaar domein.

b) Bezettingscoëfficiënt:

  • Bovengrondse gebouwen: maximum 50% van de perceeloppervlakte mag worden bebouwd.

  • Onverminderd deze verhouding, kunnen op iedere plaats van het perceel met inbegrip van de vrije ruimten, ondergrondse constructies worden toegelaten tot maximum 75% van de perceeloppervlakte. Deze ondergrondse constructies hebben een hoogte van maximum 1,20m boven het grondoppervlak met inbegrip van een laag teelaarde van minimum 50cm dikte.

4.- VRIJE RUIMTEN

  • Per perceel: minimum 50% van de perceeloppervlakte.

  • Per woongelegenheid: minimum 30m²

 

5.- PLAATSING VAN DE GEBOUWEN

 

a) Minimumafstand t.o.v. de perceelgrenzen.

T.o.v. zij- en achtergrenzen: binnen een gabarit van 45° vertrekkend op de perceelgrens.

b) Minimumafstanden t.o.v. de rooilijnen.

  • Gebouwen met een bouwhoogte tot max. 9,00m: op minimum 6,00m achter de rooilijn.

  • Grotere bouwhoogte: binnen een gabarit van 45° vertrekkend op 3,00m boven de rooilijn.

c) Minimumafstand t.o.v. de bestaande bebouwing.

T.o.v. de zijgevels:
Op minimum 3,00m afstand van de perceelgrens en binnen een gabarit van 45° vertrekkend op de hoogte van het aanpalend hoofdgebouw.
T.o.v. de achtergevels:
De afstand tussen de achtergevels is gelijk aan of groter dan 2x de hoogte van het hoogste gebouw, met een minimum van 20,00m.

d) Minimumafstanden tussen de gebouwen onderling (meerdere gebouwen of eenzelfde perceel).

  • Afstand tussen twee evenwijdige, tegenover elkaar staande langsgevels: ten minste tweemaal de hoogte van het hoogste gebouw, met een minimum van 20,00m.

  • Afstand tussen een langsgevel en een kopgevel: ten minste tweemal de hoogte van het hoogste gebouw

  • Afstand tussen twee kopgevels:
    Bij een bouwhoogte > 6,00m: ten minste tweemaal de hoogte van het hoogste gebouw.
    Bij een bouwhoogte < 6,00m: minimum 6,00m.
    Indien aan de kopgevels in hoofdzaak géén daglokalen gelegen zijn, is de afstand tussen de kopgevels minstens gelijk aan de hoogte van het hoogste gebouw.

 

e) Afwijkingen

  • Voorgaande voorschriften betreffende de gevelafstanden vormen geen beletsel voor het inrichten binnen de bouwwerken of gedeelten van bouwwerken, van open doorgangen, binnenplaatsen of area’s voor zover deze slechts voorzien in de verlichting of verluchting van lokalen die wegens hun omvang, hun inrichting of hun uitrusting, niet voor bewoning bestemd of geschikt zijn.

  • Afwijking aan de voorgeschreven afstanden tussen de gebouwen is eveneens mogelijk voor gebouwen of delen van gebouwen die, ofwel door hun inwendige indeling of door hun aard, geen bezonning of natuurlijke verlichting op een of meer gevels behoeven en tevens geen hinder vormen voor de bezonning der overige gebouwen.

6.- AFMETINGEN VAN DE GEBOUWEN

 

Bouwhoogte

Gemeten vanaf het trottoirniveau tot bovenkant van kroonlijst of deksteen:
minimum: 5,50m (benedenverdieping en één bovenverdieping)
maximum: 18,00m (benedenverdieping en maximum 5 bovenverdiepingen)

Nokhoogte

In geval van schuine bedaking:
minimum: 4,50m boven de kroonlijsthoogte (dakbasis minimum 9,00m)
maximum: 6,00m boven de kroonlijsthoogte (dakbasis maximum 12,00m)

Extra bouwlaag

Op gebouwen met ten minste drie bovenverdiepingen en indien in het gebouw een lift wordt voorzien, mag boven de voorziene kroonlijsthoogte zoals nader bepaald in voorgaande artikelen, een extrabouwlaag worden opgericht met een maximumhoogte van 3,00m boven het dakpeil, en op 3,00m afstand van de gevelvlakken.
Op minimum 1,00m achter de gevelvlakken van de extrabouwlaag mogen de schoorstenen maximum 1,00m boven deze bouwlaag uitsteken.
Alle andere bovendakse constructies dienen in deze extrabouwlaag begrepen te zijn.

7.- WELSTAND VAN DE GEBOUWEN

 

A. Bedaking

 

1. Dakvorm:

 

B. Gevels en muren.

Dezelfde voorschriften gelden als voor “zone A voor woningen”.

DEEL 2 BINNENPLAATSEN EN TUINEN

 

Belangrijke opmerking: Dezelfde voorschriften gelden als voor zone A voor woningen behoudens de hiernavermelde aanvullingen, beperkingen en/of verplichtingen.

1.- ALGEMEEN ORDENINGSVOORSCHRIFT

De beplantingen van de gemeenschappelijke groene ruimten dient, bij voorkeur, te gebeuren met streekeigen, hoogstammige loofbomen en bloeiende heesters. In dit verband verdient het aanbeveling om, op geschikte plaatsen, het gebruik van breedkruinige hoogstam toe te passen.
Het accentueren van Erfscheidingen door coniferen is te vermijden.
Coniferen zullen eventueel slechts aangewend worden als solitair, of als groenblijvend zichtscherm t.o.v. dicht bij elkaar gelegen woonlokalen.
Door het gebruik van “wijkers” en “blijvers” in de beplantingen zullen deze in de kortst mogelijke tijd een wezenlijk deel van de woonomgeving vormen.

3.- BINNENPLAATSEN EN TUINEN (INBEGREPEN VOORTUINEN EN ZIJTUINSTROKEN)

 

a) Bestemming

De niet – bebouwde of niet – verharde delen van het perceel, evenals de terrassen boven de ondergrondse of half – ondergrondse constructies, dienen als groene ruimten te worden ingericht en als dusdanig voortdurend in stand gehouden
In deze zone zijn, behoudens in de bouwvrije zijtuinstroken en voor zover ze begrepen zijn in de bezettingscoëfficiënt vermeld onder
hoofdstuk III, B, deel 1, 3b., volgende bijgebouwen toegelaten:
gegroepeerde garages, nuttige of decoratieve tuingebouwen of constructies zoals sportinstallaties, voor zover deze gebouwen en constructies niet voor bewoning of de uitoefening van een beroepsbezigheid kunnen dienen.

b) Plaatsing van de bijgebouwen.

Op de perceelgrens of op minstens 3,00m ervan.

c) Afmetingen van de bijgebouwen.

Bouwhoogte: gemeten vanaf het grondpeil: maximum 3,00m

d) Welstand van de bijgebouwen.

Dezelfde voorschriften gelden als voor de hoofdgebouwen.

e) Erfscheidingen

  • Enkel gemeenschappelijke levende hagen met een maximum – hoogte van 1,80m zijn toegelaten.

  • Bij een erfscheiding met een reeds bebouwd perceel van een andere bestemmingszone, kunnen de afsluitingen voorzien voor die zone worden toegelaten.

f) Reclame

Zie bouwcode.

6.- AANLEG VAN DE STROOK

Binnenpleinen, wegen of andere soorten van verhardingen, kunnen op elke plaats van het perceel, met inbegrip van de vrije ruimten, worden toegelaten ten belope van 15% van de perceeloppervlakte.
Verhardingen dienen aangelegd in niet – monoliete materialen, decoratief verwerkt.
Verhardingen mogen slechts worden aangelegd tot op minimum 0,50m afstand van de perceelgrens.
Per perceel is slechts één in- en uitrit toegelaten met een maximumbreedte van 3,00m.
Onmiddellijk na de oprichting van de gebouwen dienen de groene ruimten te worden aangelegd en te worden beplant met streekeigen hoogstammige bomen en heesters.
Dienen gerespecteerd: de natuurlijke gegevenheden van het terrein, voor zover zij waardevolle elementen bevatten zoals bv. waterlopen, waardevolle hoogstammige bomen of bomengroepen e.d.
Ter bescherming van de hoogstammige bomen dienen de maatregelen getroffen zoals omschreven in
artikel 10hierna.

 

HOOFDSTUK IV OPENBARE INFRASTRUCTUUR

 

1.- ONTSLUITING VAN DE ZONE

 

Gemotoriseerd verkeer:

Penetratiewegen, zoals schematisch aangeduid op de kaart.
Geen doorgaand verkeer naar openbare wegen van een hoger niveau.

Fietsers- en voetgangersverkeer

Verbindingspaden, zoals schematisch aangeduid op de kaart.

 

2.- OPENBAAR BUURTGROEN.

In het totaal ontwerp dienen openbare groenruimten te worden opgenomen ten behoeve van de buurtbewoners, op basis van de volgende normen:
Per 30 – 50 woningen: rusthoekje/speelhoekje van minimum 300m².
Per 150 – 200 woningen: buurtparkje van minimum 3000m².

 

HOOFDSTUK V VERKAVELINGSVOORSCHRIFTEN

Belangrijke opmerking: Dezelfde voorschriften gelden als voor zone A voor woningen behoudens de hiernavermelde aanvullingen, beperkingen en/of verplichtingen.

 

2.- GROOTTE VAN DE KAVELS

Verkaveling is slechts toegestaan per volledig afgewerkt woongebouw of groep van woongebouwen die één architecturaal geheel vormen, en volledig vrijstaand op het perceel worden opgetrokken.

3.- VORM VAN DE KAVELS

Indien het voor een goede ruimtelijke ordening wenselijk of noodzakelijk is, kan opgelegd worden dat de zijgrenzen van de percelen haaks op de rooilijnen worden ontworpen, over een diepte die ten minste gelijk is aan de diepte der hoofdgebouwen, eventueel vermeerderd met de diepte van de voortuinstrook.

 

 

 

 

ARTIKEL 6 ZONE F VOOR WONINGEN

 

Algemeen ordeningsvoorschrift

Deze woonzone wordt gevormd door een reeds in hoofdzaak bebouwd gebiedsdeel, gelegen langsheen de Boomse Steenweg.
De bebouwing bestaat meestal uit (woon)gebouwen met 2 bovenverdiepingen en plat dak en met al of niet overbouwde inritten naar de achtergelegen bedrijfsgebouwen.

De gevestigde bedrijven hebben meestal een bovenlokale functie (kantoren, groothandel, handel in machines, caravans e.d.m.).

Al is het, gezien de aard van deze bedrijven en de aanwezigheid van een drukke verkeersweg, geen optimaal woongebied, toch kan, mits het niet – hinderlijke bedrijven betreft, het bestaande bouwgabarit worden voortgezet.

 

HOOFDSTUK I BESTEMMINGSVOORSCHRIFTEN

 

Belangrijke opmerking: Dezelfde voorschriften gelden als voor zone A voor woningen behoudens de hiernavermelde aanvullingen, beperkingen en/of verplichtingen.

 

1.- BESTEMMING

 

a) Hoofdbestemming:

Onbeperkt toegelaten: wonen.

b) Nevenbestemming:

Ongeacht de hoofdbestemming is, per pand, integraal toegelaten:

  • Handelsinrichtingen met een verkoopsoppervlakte tot max. 800m²

  • Kantoren.

  • Horeca, inclusief hotels

  • Verzorgende en andere niet – hinderlijke bedrijven.

  • Gemeenschapsuitrusting.

  • Groene ruimten.

 

HOOFDSTUK II BEBOUWINGSVOORSCHRIFTEN

 

DEEL 1 HOOFDGEBOUWEN

 

Belangrijke opmerking: Dezelfde voorschriften gelden als voor zone A voor woningen behoudens de hiernavermelde aanvullingen, beperkingen en/of verplichtingen.

1.- ALGEMEEN ORDENINGSVOORSCHRIFT

Bij handelsinrichtingen en indien de benedenverdieping geen enkel lokaal bevat dat voor huisvesting bestemd of geschikt is, mag het perceel over zijn volle oppervlakte worden bebouwd.

2.- BEBOUWINGSWIJZE

Aaneengesloten, gekoppeld of vrijstaand, voor zover de afmetingen van het betrokken perceel en de naburige percelen en/of gebouwen daartoe de mogelijkheid bieden.

3.- PLAATSING VAN DE GEBOUWEN

Indien de benedenverdieping geen enkel lokaal bevat dat voor huisvesting bestemd of geschikt is, mag de benedenverdieping tot op de achter – perceelgrens worden bebouwd.

4.- AFMETINGEN VAN DE GEBOUWEN

 

a) Bouwhoogte

    • voor de bestemmingsstroken aan de Boomse Steenweg, de Gaston Fabrélaan en voor de zone gelegen tussen de Heistraat, de Jozef Kenneslaan en de Overwinningsstraat:
      Bouwhoogte: zie onderstaand maximumprofiel

    • voor de bestemmingszone gelegen tussen de Boomse Steenweg, de Kruishofstraat en de afgeschafte Heistraat:
      bouwhoogte: minimum 13,00m en maximum 15,00m.

b) Bouwdiepte

  • - zie onderstaand maximumprofiel

1) Algemene regel:

Indien de benedenverdieping geen enkel lokaal bevat dat voor huisvesting bestemd of geschikt is, mag het perceel over zijn volle oppervlakte worden bebouwd.

2) Bouwdiepte bij verkaveling of bij nieuwbouw en reeds gevormde percelen

Benedenverdieping:
Indien de benedenverdieping geen enkel lokaal bevat dat voor huisvesting bestemd of geschikt is, mag het perceel over zijn volle diepte worden bebouwd.

3) Bouwdiepte bij aanbouw aan bestaande bebouwing.

Indien de benedenverdieping geen enkel lokaal bevat dat voor huisvesting bestemd of geschikt is, mag het perceel over zijn volledige oppervlakte worden bebouwd.

Maximum profiel

 

Gebouwen met 2 bovenverdiepingen onder plat dak

 

 [image]

 

 

5.- WELSTAND VAN DE GEBOUWEN

 

B. Gevels en muren

 

3. Gevelmaterialen

Inzake winkelpuien en de gevels op de benedenverdieping van Horeca- en ontspanningsgelegenheden, worden echter de toepassing van opvallende materialen en kleuren ten uitzonderlijke titel toegestaan, in typische winkelstraten en centrumzones, op voorwaarde van een aanvaardbare harmonie met de omgeving.

5. Afsluitingen aan de openbare weg (anders dan voortuinafsluitingen).

Onbebouwde percelen of gedeelten van percelen, zoals binnenplaatsen en tuinen, palend aan de openbare weg, worden op de rooilijn of op de bouwlijn verplicht afgesloten met:

  • muren in parementmetselwerk, sierbeton, claustra, e.d., met een hoogte van minimum 1,20m en maximum 2,00m, afgedekt met muurkappen, deksteen of ezelsrug.

  • metalen hekken met een hoogte van minimum 1,20m en maximum 2,00m voor zover zij tegen roestvorming behandeld zijn en naar functie en kleur in harmonie zijn met de omgeving.

 

DEEL 2 BINNENPLAATSEN EN TUINEN (INBEGREPEN VOOR- EN ZIJTUINEN)

 

Belangrijke opmerking: Dezelfde voorschriften gelden als voor zone A voor woningen behoudens de hiernavermelde aanvullingen, beperkingen en/of verplichtingen.

1.- ALGEMEEN ORDENINGSVOORSCHRIFT

Indien de benedenverdieping geen enkel lokaal bevat dat voor huisvesting bestemd of geschikt is, mag het perceel over de volle oppervlakte worden bebouwd.

2.- BINNENPLAATSEN EN TUINEN

 

b) Bijgebouwen en constructies

    1. Indien de benedenverdieping geen enkel lokaal bevat dat voor huisvesting bestemd of geschikt is, mag het perceel over zijn volledige oppervlakte worden bebouwd.

c) Plaatsing van de bijgebouwen

    1. Indien de benedenverdieping geen enkel lokaal bevat dat voor huisvesting bestemd of geschikt is, mag het perceel over zijn volledige oppervlakte worden bebouwd.

d) Afmetingen van de gebouwen

 

Bouwhoogte

Gemeten vanaf het trottoirniveau tot bovenkant van kroonlijst of deksteen.

1) op niet hoekpercelen:

  • vanaf de perceelgrens tot op minimum 3,00m ervan:
    maximum 3,00m.

  • overige bouwhoogte: maximum 7,00m, binnen een gabarit van 45° vertrekkend op 3,00m hoogte, op een afstand van 3,00m van de perceelgrens.

  • bij aanbouw aan bestaande gebouwen opgericht op de perceelgrens:
    maximum dezelfde hoogte als de bestaande gebouwen.

2) op hoekpercelen:

  • de gevel aan de straatzijde: minimum 3,00m en maximum 4,50m

  • overige bouwhoogte: zoals bij niet – hoekpercelen.

  • bij aanbouw aan bestaande gebouwen: zoals bij niet – hoekgebouwen.

 

HOOFDSTUK III VERKAVELINGSVOORSCHRIFTEN

 

Belangrijke opmerking: Dezelfde voorschriften gelden als voor zone A voor woningen

 

 

 

 

ARTIKEL 7 ZONE VOOR PRIVAAT GROEN

 

Algemeen ordeningsvoorschrift

Teneinde het dichtbouwen van de open ruimten te voorkomen, dient de zone als groene ruimte te worden aangelegd, waarbij een absoluut bouwverbod geldt.

HOOFDSTUK I BESTEMMINGSVOORSCHRIFTEN

 

1.- BESTEMMING

Groene ruimten, sier- en moestuinen.

HOOFDSTUK II BEBOUWINGSVOORSCHRIFTEN

 

1.- BEBOUWING

Alle constructies verboden.

2.- AANLEG VAN DE STROOK

De strook dient als groene ruimte, sier- en moestuinen te worden aangelegd en als dusdanig voortdurend in stand gehouden.

3.- RECLAME

Elke vorm van reclame is verboden.

HOOFDSTUK III VERKAVELINGSVOORSCHRIFTEN

 

1.- VERKAVELING

Verkaveling der terreinen binnen de op de kaart aangeduide zone, is slechts toegelaten in functie van een verkaveling aan de voorliggende grond, palend aan de openbare weg.

 

 

 

 

 

ARTIKEL 8 ZONE VOOR OPENBAAR BUURTGROEN

 

Algemeen ordeningsvoorschrift

Het gebied moet zodanig worden ingericht dat het zijn sociale functie kan vervullen als openbaar buurtgroen voor actieve en passieve dagrecreatie op buurtniveau, doch met het oog op het behoud van de eigen aard, de bescherming van de fauna en de flora, hun gemeenschappelijke groeiplaatsen, evenals het landschap, de bodem, de ondergrond en het water.

HOOFDSTUK I BESTEMMINGSVOORSCHRIFTEN

 

1.- BESTEMMING

Openbaar buurtgroen met inbegrip van:

    • wandel- en fietspaden

    • rust- en speelhoekjes, waarbij sportvelden niet zijn toegelaten

    • schuilhuisjes en ontspanningslokaaltjes

    • bestaande, waardevolle gebouwen binnen de zone, kunnen worden ingericht als dienstwoning, als ruimte voor recreatieve, culturele of educatieve activiteiten, of verbruikzalen gekoppeld aan één der voornoemde bestemmingen.

 

 

2.- AFWIJKINGSREGEL OP GROND VAN DE BESTAANDE TOESTAND

Op grond van de bestaande toestand of inrichtingswerken kunnen de voornoemde bestemmingen nader gespecifieerd of uitgebreid worden, zonder echter afbreuk te doen aan de hoofdbestemming als buurtgroen.

 

HOOFDSTUK II BEBOUWINGSVOORSCHRIFTEN

 

1.- BEBOUWING

Enkel constructies ter uitrusting van de hoofdbestemming zijn toegelaten, alsmede specifieke tuinconstructies, waterpartijen, kinderspeeltuigen e.d.

 

2.- PLAATSING DER GEBOUWEN EN CONSTRUCTIES

    • Op minimum 6m afstand van de perceelgrenzen, de rooilijnen en andere bestemmingsstroken, doch in de nabijheid van de wegen en bereikbaar voor hulpdiensten.

    • Voor de bestaande waardevolle gebouwen gelden dezelfde voorschriften als deze voor de hoofdgebouwen van artikel 3.- zone C voor woningen.

 

3.- AFMETINGEN VAN DE GEBOUWEN

    1. Bouwhoogte: gemeten vanaf het grondpeil tot bovenkant kroonlijst of deksteen: maximum 3

    2. Bebouwingscoëfficiënt: 0,01

    3. Bodembezetting per gebouw of constructie: max. 40,00m²

    4. Voor de bestaande waardevolle gebouwen gelden dezelfde voorschriften als deze voor de hoofdgebouwen van artikel 3. – zone C voor woningen.

 

 

4.- WELSTAND VAN DE GEBOUWEN

 

a) Dakvorm

Vrij, op voorwaarde dat gestreefd wordt naar een integratie met de omgeving

b) Materialen

 

1) voor de bedekking der schuine daken:

ofwel niet – verglaasde pannen of daktegels met een rode tot bruinrode of een donkergrijze tot zwarte kleur.
ofwel rechthoekige leien met een donkere kleur, geplaatst in horizontale rijen.

2) voor de gevels:

    • alle gevels in gevelsteen

    • voor de bestaande waardevolle gebouwen gelden dezelfde voorschriften als deze voor de hoofdgebouwen van artikel 3. – zone C voor woningen.

 

5.- AANLEG VAN DE STROOK

    • Enkel die handelingen en werken zijn toegelaten welke nodig zijn voor de actieve en passieve bescherming, instandhouding of verfraaiing van het gebied.

    • In geval van werken binnen het gebied, dienen de nodige maatregelen getroffen tot bescherming van de waardevolle hoogstammige bomen en heesters.

    • Alle niet bebouwde of verharde delen van de strook dienen als groene ruimte te worden aangelegd en als dusdanig in stand gehouden.

    • De verhardingen dienen aangelegd in niet – monoliete materialen, die decoratief dienen verwerkt.

    • Elke wijziging aan het bomen- en heesterbestand uit hoofde van ziekte, ontworteling, afsterven of geval van overmacht zal, tijdens het eerstvolgende plantseizoen, een verplichte wederaanplanting tot gevolg hebben.

    • Elke aanplanting zal geschieden met streekeigen, hoogstammige bomen en heesters, aangepast aan de plaatselijke bodemgesteldheid, waterhuishouding en micro – klimatologische omstandigheden.

    • Langs alle zijden van het gebied dient een groenscherm te worden aangebracht en voortdurend in stand gehouden.

    • Alle bouwvallige en niet waardevolle gebouwen en constructies dienen verwijderd.

    • Voor zover als nodig of wenselijk zal het gebied worden afgesloten met een duurzame en esthetisch verantwoorde afsluiting in harmonie met de omgeving en met een hoogte van maximum 2,00m.

    • Indien de bestaande ommuringen, hekken, inkompoorten, hofgrachten e.d., mede bepalend zijn voor het karakter van het gebied en/of de zich daarin bevindende gebouwen of gebouwengroepen, dienen zij te worden behouden of wederopgericht in hun oorspronkelijke staat.

 

6.- RECLAME

Het plaatsen van reclameborden en andere publiciteitsmiddelen, onder gelijk welke vorm ook, die onverenigbaar zijn met het begrip “uithangbord” zijn verboden.

7.- AFWIJKINGSREGEL OP GROND VAN DE BESTAANDE TOESTAND

Op grond van de bestaande toestand kan, voor wat betreft de inplanting en de afmetingen van de gebouwen en/of constructies, afwijking worden verleend in geval van mogelijke aanbouw aan gebouwen op belendende percelen.
Tevens kan, voor wat betreft de streekeigen bomen en heesters, afwijking worden verleend in geval van educatieve en/of kruidentuinen.

 

HOOFDSTUK III VERKAVELINGSVOORSCHRIFTEN

 

VERKAVELING

Elke vorm van verkaveling is verboden.

 

 

 

 

 

ARTIKEL 9 ZONE VOOR GEMEENSCHAPSUITRUSTING

 

Algemeen ordeningsvoorschrift

Voor de bestemmingszones voor gemeenschapsuitrusting, gelegen binnen de begrenzing van dit BPA, die bijdragen tot de leefbaarheid van de wijk geldt als algemene regel dat, enerzijds de gebouwen inzake vormgeving en materiaalkeuze in de bebouwde omgeving kunnen geïntegreerd worden, terwijl anderzijds de nu bestaande open ruimten als een minimum dienen aanzien en derhalve moeten gevrijwaard worden.

Daar waar in de huidige toestand géén open ruimte aanwezig is, dient, bij ingrijpende verbouwing of van nieuwbouw, de nodige open ruimte voorzien.
De open ruimten binnen deze bestemmingsstroken dient te worden beplant met hoogstammige, streekeigen bomen en heesters, zodat na verloop van tijd, deze beplantingen een herkenningsteken kunnen vormen.

HOOFDSTUK I BESTEMMINGSVOORSCHRIFTEN

 

1.- BESTEMMING

 

a) Hoofdbestemming

    • Gemeenschapsuitrusting die omwille van hun specifieke en frequente relatie tot het publiek, noodzakelijkerwijze en eng verbonden zijn met de woonfunctie en hiervoor geen abnormale hinder veroorzaken

    • Wonen: volgens de voorschriften van artikel 1 – zone A voor woningen.

b) Nevenbestemmingen:

Bij woonbestemming: volgens de voorschriften van artikel 1 – zone A voor woningen.

 

2.- AFWIJKINGSREGEL OP GROND VAN DE BESTAANDE TOESTAND

    1. Bestaande inrichtingen, gelegen binnen de grenzen van dit BPA, de strijdig zijn met de toegelaten bestemmingen en geen abnormale hinder veroorzaken, mogen behouden blijven en zo nodig uitgebreid worden op eigen terrein, mits te voldoen aan de bouwvoorschriften en voor zover ze geen bijkomende hinder veroorzaken voor de omringende bewoning.
      Bij stopzetting van de activiteiten en/of afbraak der bestaande constructies, dient de nieuwe bestemming in overeenstemming te zijn met de toegelaten bestemmingen.

    2. De voorschriften bij nieuwe verkavelingen kunnen de toegelaten bestemmingen nader specifiëren of beperken.

    •  

HOOFDSTUK II BEBOUWINGSVOORSCHRIFTEN

 

1.- BEBOUWINGSWIJZE EN PLAATSING VAN DE GEBOUWEN

 

1) Bij bestaande gebouwen:

Bij ingrijpende verbouwingswerken, of wederopbouw na afbraak van bestaande gebouwen: vrij ingeplant binnen de op de kaart aangeduide zone.

 

2) bij woonbestemming van een deel of het geheel van de bestaande gebouwen:

    • volgens een globale studie voor de omvorming van niet – woongebouwen tot woning

    • na afbraak van de bestaande gebouwen, volgens een globaal verkavelingsplan, beantwoordend aan de voorschriften van artikel 1 – zone A voor woningen.

 

2.- AFMETINGEN VAN DE GEBOUWEN

 

a) Bouwhoogte:

 

1) Bij de bestaande gebouwen:

De maximumhoogte wordt bepaald door de bestaande volumes, eventueel te voorzien van een schuine bedaking of mansardedak.

2) Bij woonbestemming van een deel of het geheel van de bestaande gebouwen:

    1. Bij omvorming van niet – woongebouwen tot woningen: zelfde bouwhoogte als deze die geldt voor de bestaande gebouwen.

    2. Bij afbraak van de bestaande gebouwen: bouwhoogte volgens de voorschriften van artikel 1 – zone A voor woningen.

 

b) Bebouwingscoëfficiënt:

De bebouwingscoëfficiënt wordt bepaald op 0,4, tenzij op grond van de bestaande toestand een hogere bebouwingsdichtheid kan verantwoord worden.

 

3.- WELSTAND VAN DE GEBOUWEN

 

a) Bedaking

 

1) Bij bestaande gebouwen:

De bestaande dakvormen, met dien verstande dat bij nieuwbouw en ingrijpende verbouwingswerken een schuine dakvorm wordt voorzien.

2) Bij woonbestemming van een deel of het geheel van de bestaande gebouwen:

Zelfde voorschriften als deze van artikel 1 – zone A voor woningen.

b) Gevels:

Bij de bestaande gebouwen en bij woonbestemming.
Zelfde voorwaarden als deze van
artikel 1 – zone A voor woningen.

 

 

 

 

ARTIKEL 10 BIJZONDERE BEPALINGEN

 

1.- AFWIJKING VOOR BIJZONDERE GEBOUWEN

Van de bepalingen van de voorgaande artikelen en van de aanduidingen op de kaart, kunnen afwijkingen worden toegestaan voor openbare gebouwen en voor gebouwen met een publieke bestemming.

2.- AFWIJKING VOOR REEDS GEVORMDE PERCELEN

Afwijking van de bepalingen van de voorgaande artikelen en van de aanduidingen op de kaart kan, voor zoveel nodig, worden toegestaan voor percelen die gelegen zijn in een verkaveling voor woningbouw verricht vóór of in uitvoering op 22.4.1962, wanneer die verkaveling werd of wordt verricht overeenkomstig een plan dat door het Bestuur van de stedenbouw gunstig werd geadviseerd.

3.- BOUWVRIJE VOORTUINSTROOK AAN DE RIJKSWEGEN

Onverminderd de bepalingen van de voorgaande artikelen moeten aan de rijkswegen de volgende voorschriften worden in acht genomen:

    1. Verplichte afsluiting aan de openbare weg
      De percelen waarop gebouwen in achteruitbouw worden opgericht moeten terzelfder tijd op de weggrens worden afgesloten.

    2. Beplantingen
      In de voortuinstrook mogen beplantingen van meer dan 1,50m hoogte slechts worden opgericht of in stand gehouden op minimum 2m achter de rooilijn; zij moeten verspringen met de bomen van de wegbeplanting.
      In de nabijheid van bochten en van een kruising van wegen, zijn beplantingen die het zicht belemmeren verboden.

4.- ERFDIENSTBAARHEDEN VOOR OPENBAAR NUT

Erfdienstbaarheden voor openbaar nut kunnen ook buiten de daarvoor speciaal bestemde “zonering als openbare weg” worden toegestaan voor zover ze niet hinderlijk zijn voor de normale algemene bestemming van de betrokken zone waarbinnen de erfdienstbaarheden worden opgelegd en voor zover ze het architectonisch karakter van het betrokken gebied niet verstoren.

5.- BESCHERMENDE MAATREGELEN VOOR BOMEN OP BOUWWERVEN

(1)

Bij uitvoering van bouwwerken dienen de hiernavermelde beschermende maatregelen ter bescherming van het bomenbestand in het bijzonder bestek der werken te worden opgenomen.

b) Inventaris

Alvorens bepaalde beschermingsmaatregelen uit te werken is het noodzakelijk de situatie van het bomenbestand op de werf te inventariseren.
Deze inventaris zal de basis vormen om bij het beëindigen van de werken, de schade die aan de bomen werd toegebracht, te bepalen.
Op een grondplan van de werf worden alle bomen op schaal aangeduid.
Hierbij wordt behoudens de stamdiameter, ook de kroondiameter aangeduid. Bij deze opmeting zal de deskundige alle aanwezige bomen noteren, onafgezien van het feit of ze al dan niet moeten verdwijnen. Aan de hand van de bouwplannen zal worden nagegaan welke bomen eventueel dienen te verdwijnen voor het uitvoeren van de werken. Deze bomen worden op het plan aangeduid. Ook ter plaatse zal op de stam der bomen die moeten verdwijnen een merkteken worden aangebracht, en wel op die manier dat dit merkteken niet door andere personen kan worden gereproduceerd. Men zal er bovendien over waken dat alleen de gemerkte bomen worden gerooid.

 
Elke boom die moet behouden blijven krijgt een nummer. De respectievelijke nummers worden op het bomenplan vermeld. Daarnaast wordt van elke boom een technische fiche opgemaakt. Om de actuele toestand zo goed mogelijk weer te geven, zal men hierbij vooral rekening houden met:

    • het voorkomen van de boom

    • plantwijze van de boom

    • mogelijke beschadigingen aan wortels, stam of kruin.

Het hierbijgevoegde model van boomfiche dient gebruikt.
Na de werken dient aan de hand van het bij de aanvang der werken opgemaakte bomenplan en de boomfiche ter plaatse nagegaan te worden of er mogelijke schade aan de boom werd aangebracht. De gegevens hieromtrent worden op de fiche aangebracht, waarna een schaderaming wordt opgemaakt.
Tijdens de werken dient er regelmatig te worden toegezien dat de bomen niet worden beschadigd, inzonderheid wat het wortelgestel betreft.
Het samenbrengen van bouw- en bomenplan zal toelaten om te bepalen:

langs welke zones het verkeer de werf kan oprijden

waar de heftoestellen op de werf mogen worden geplaatst

waar het materiaal mag worden opgestapeld of de grond mag worden opgehoogd

op welke plaatsen de werfbarakken kunnen worden opgericht.

c) Beschermende maatregelen

  1. Onder een werf dient verstaan: alle terreinen vooropgesteld in het bijzonder lastenboek der werken. Worden ook als werf beschouwd: alle terreinen en stapelplaatsen voor bouwmaterialen, planten, enz., zelfs indien zij geen deel uitmaken van de door het werk ingenomen gronden.

  2. De aannemer is gehouden de worteloppervlakte der bomen, d.w.z. onder de kroon van de boom tot 1,50m buiten de kroonrand, ontegensprekelijk vrij te houden van:

    • alle zwaar verkeer (vrachtwagens, bulldozers, kranen, enz.)

    • schaftwagens en werfketen

    • vuurhaarden

    • bouwmaterialen, chemische en andere afvalstoffen

    • slib- en andere afvalwaters (bv. afkomstig van kuisen van betonmolens, enz.)

    • alle aanaardingen en ophopingen van funderingsafval, evenals grond- en betonresten.

  3. Tijdens de uitvoering van de werken moeten de stam en de wortels beschermd worden zodat geen beschadiging kan optreden. Gezien de bepalingen van punt 2 wordt hierna de volgende uitvoering voorgeschreven:

    1. Heeft men te doen met een solitair (alleenstaande boom) dan wordt op 1,50m buiten de kroonprojectie een vast hekwerk aangebracht van minimum 1,80m hoog. Hierbij zal men ervoor zorgen dat de verticale houten steunpalen stevig in de grond zijn aangebracht op de vier hoeken van de te beschermen zone. Deze steunpalen zullen dwars verbonden worden door houten planken met een minimum breedte van 15cm en een dikte van 3cm. Tussen de houten planken wordt een breedte van 20 à 25cm voorzien. De maximumafstand tussen twee steunpalen bedraagt 3m.

 

 

 [image]

 

Fig. 1: bescherming van een solitaire boom

 

    1. Heeft men te doen met een groep bomen dan wordt op 1,50m buiten de kroonprojectie van de bomen die zich aan de rand bevinden, een vast hekwerk van minimum 1,80m hoogte aangebracht

 

 [image]

 

Fig. 2: bescherming van een bomengroep

 

    1. . Heeft men te doen met een bomenrij, dan wordt op 1,50m uit de kruinprojectie een vast hekwerk aangebracht evenwijdig met de stamvoeten. Het hekwerk begint op 1,50m buiten de kruinprojectie van de eerste boom en eindigt op 1,50m buiten de kruinprojectie van de laatste boom.

 

 [image]

 

 

 

Fig. 3: bescherming van een bomenrij.

De voorzorgsmaatregelen zullen door een door de opdrachtgever of ontwerp aangeduide deskundige worden gecontroleerd alvorens de werken een aanvang nemen.

  1. Het vastspijkeren van latten of ander materiaal aan de boom is in geen geval toegestaan.

  2. Is de werf voor zwaar verkeer enkel doorheen het bomenbestand te bereiken, dan zullen na afspraak met de deskundige hiernavolgende voorzorgsmaatregelen dienen genomen te worden.

    1. . Van het te berijden grondoppervlak wordt de bovenste 20cm met de hand weggegraven en buiten de wortelzone der bomen opgestapeld.

    2. . In de uitgegraven gedeelten wordt een kiezellaag grind 3/15 op een dikte van 20cm aangebracht.

    3. Op deze grindlaag worden metalen rijplaten gelegd.

    4. . De stammen van de bomen die langs de doorgangsweg staan, moeten beschermd worden met een vast hekwerk (zie punt 3.3.)

 

 [image]

 

Fig. 4: bescherming van de bomen bij het regelmatig overrijden van de wortelzone

 
De uitgevoerde beschermingsmaatregelen zullen door de deskundige worden gecontroleerd alvorens de werken een aanvang nemen.

  1. Eventueel insnoeien van takken en wortels dienen na het advies van de deskundige te worden uitgevoerd volgens diens onderrichtingen.

  2. De wortels der bomen moeten zoveel mogelijk behouden blijven. Indien de wortels dienen verwijderd te worden voor het uitvoeren van grondwerken, zal men als volg tewerk gaan:

    1. Een sleuf graven van minimum 50cm breedte, met de spade, en op 1,50m buiten de kroonrand.

    2. . De wortels zuiver afkappen en de gemaakte wonde bijsnijden met snoeimes of scherpe bijl. De wonde zo klein mogelijk maken.

    3. . De volledige wondoppervlakte insmeren met een wondafdekkingsmiddel dat tevens een fungicide bevat.

    4. . Na verzorging van de wonden wordt langs de buitenzijde van de sleuf een bekisting aangebracht.

    5. . De sleuf opvullen met teelaarde, waarvan de samenstelling dient te voldoen aan de normen zoals deze in het typebestek zijn opgenomen.
      Alvorens de sleuf met teelaarde te vullen, zal de deskundige de verzorging van de gemaakte wonden controleren.

 

 [image]

 

Fig. 5: voorzorgsmaatregelen bij afgravingen.

  1. Dienen kabel- en pijpleidingen te worden aangebracht, dan zullen deze al naargelang de groeivorm van het wortelgestel onder of boven het wortelsysteem worden aangelegd.

    1. . Worden de leidingen boven en tussen de wortels aangelegd, dan zal men ervoor zorgen dat de sleuf met de hand wordt uitgegraven. De beschadigde wortels zullen worden verzorgd (punt 7.1.). De sleuf opvullen met teelaarde, waarvan de samenstelling dient te voldoen aan de normen zoals deze in het typebesten zijn opgenomen.

    2. . Worden de leidingen onder het wortelsysteem aangelegd, dan zullen onder het wortelgestel openingen geboord worden waardoor men steunbuizen voor de leiding kan aanbrengen. Deze boring moet gebeuren op minstens 2,5m van de stam en op een diepte van minimum 0,5 à 1m.

 

 [image]

 

Fig. 6: kabel- en pijpleidingengreppels in het worteloppervlak

  1. Indien het grondwater moet worden opgepompt, zal de deskundige hiervan op de hoogte worden gesteld. De nadelige gevolgen door de verlaging van de grondwaterstand zullen bij middel van hieronder beschreven voorzieningen moeten worden opgevangen.
    Over de ganse oppervlakte van de kroonprojectie, plus 1,50m erbuiten worden op een onderlinge afstand van ca. 1,50 à 2m en op minimum 1m van de stam, verticale openingen in de grond geboord. Deze openingen hebben een minimumdiameter van 15cm en zijn 1m diep. Zij worden opgevuld met kiezelgrind 3/6 of met gewassen en geëxpandeerde kleikorrels. Naargelang de hoeveelheid neerslag in de periode der werken, worden deze kokers 1 à 2 maal per week met water volgegoten.
    Naargelang van de invloedssfeer der droogzuiginstallatie, dienen deze maatregelen eveneens getroffen voor de bomen die zich bevinden op het openbaar domein en op de belendende erven.

 

 [image]

 

Fig. 7: vochtvoorziening bij verlagen watertafel.

  1. Indien rond de boom een grondverhoging voorzien wordt, zal de deskundige hiervan op de hoogte gesteld worden.
    De volgende maatregelen moeten dan genomen worden:
    Rond de stam wordt een betonnen ringplaat gegoten met een minimum diameter van 3m. De hoogte van deze ring dient 15cm hoger te zijn dan de voorziene hoogte van de ophoging. (de dikte van de ring zal afhankelijk zijn van de drukweerstand van de hoogte van de ophoging). De ophoging tussen de betonnen ringplaat en 1,50m buiten de kroonprojectie zal uitgevoerd worden als volgt:
    2/3 van de ophoging geschiedt in grind 3/6 voor 50% vermengd met teelaarde (volgens de normen van het typebestek). Erboven komt voor 1/3 van de ophoging grof zand (korrelgrootte groter dan 210)
    Alvorens de ophoging te starten zal de oorspronkelijke toplaag met een spade losgewerkt worden.

 

 [image]

 

Fig. 8: voorzorgsmaatregelen bij ophoging.

 

Deze voorzorgsmaatregelen zullen uitgevoerd worden vooraleer de ophogingswerken aan te vatten en zullen door de deskundige worden gecontroleerd.

  1. Na het beëindigen van de werken dienen alle beschermende maatregelen te worden verwijderd, dit na advies van de deskundige. Wanneer doorheen het boombestand een doorgangsweg werd voorzien, zoals beschreven in punt 5, dan zal men bij het beëindigen van de werken als volgt te werk gaan:

    1. De 20cm dikke grindlaag verwijderen

    2. De vrijgekomen grondlaag loswerken.

    3. Het nog resterende niveauverschil wegwerken met teelaarde waarvan de samenstelling dient te voldoen aan de normen van het typebestek.

 

  1. Maatregelen bij overtreding
    Bij het optreden van schade aan de te beschermen bomen, zal deze als volgt worden bepaald:

    1. Afsterven of totale vernietiging van de boom.
      Als schade wordt de volledige waarde van de boom aangerekend, vermeerderd met de vervangingskosten.

    2. Schade aan de stam
      Hierbij wordt rekening gehouden met de waardevermindering van de boom, de verzorgingskosten en mogelijks de vervangingskosten.

    3. Schade aan de kroon
      Hierbij wordt rekening gehouden met de waardevermindering van de boom, de verzorgingskosten en mogelijks de vervangingskosten.

    4. Schade aan de wortels
      Indien wordt nagelaten de wortels te behandelen zoals voorgeschreven in punt 7, worden de volgende schadevergoedingen per wortel aangerekend:

      • wortels met 3 tot 7cm diameter: 750 F, basisprijs 1981.

      • wortels met 7 tot 10cm diameter: 2.500 F, basisprijs 1981.

      • wortels met diameter, groter dan 10cm: 2.500 F + 1.000 F per bijkomende diameter, basisprijs 1981.

    5. Indien de wonden of ingrepen op de boom zijn afsterven binnen de 3 jaar tot gevolg heeft of deze ingrepen zijn habitus derwijze veranderen dat hij voor de omgeving geen waarde meer heeft, zal van de aannemer een schadevergoeding geëist worden.
      Daarenboven zullen de heraanplantingskosten van 3 nieuwe exemplaren aangerekend worden, mogelijks verminderd met de schadevergoeding die reeds vroeger voor de beschadiging van de boom werd aangerekend.

    6. Berekening der schadevergoedingen
      Alle schadevergoedingen zullen worden berekend volgens de “Uniforme methode voor waardebepaling van straat- laan- of parkbomen behorend tot het openbaar domein” – Uitgave van het Ministerie van Openbare Werken, Dienst van het groenplan en de Vereniging voor Openbaar Groen vzw.

 

 

 

 

model boomfiche

 

 

 [image]

 

voetnoten

 

voetnoot 1

Vereniging voor openbaar groen – Beschermen van bomen op bouwwerven.